P241011e - 第13页
1012-008 11 Key No. P AR T No. P AR T NAME Q’ty REMARKS New Code NOTE W -2 101 6301554167 ASSY ,GEAR(WORM) 1 1 1 1 804W --1 10-101 023E0014 101 -03 6301265964 COLLAR(PULLEY) 1 1 1 1 216A1 146 101 -04 6301265971 COLLAR(BE…

0710-004
10
テープフィーダ
TAPE FEEDER
GT-08080, 08081, 08082, 08083 GT-08080, 08081, 08082, 08083
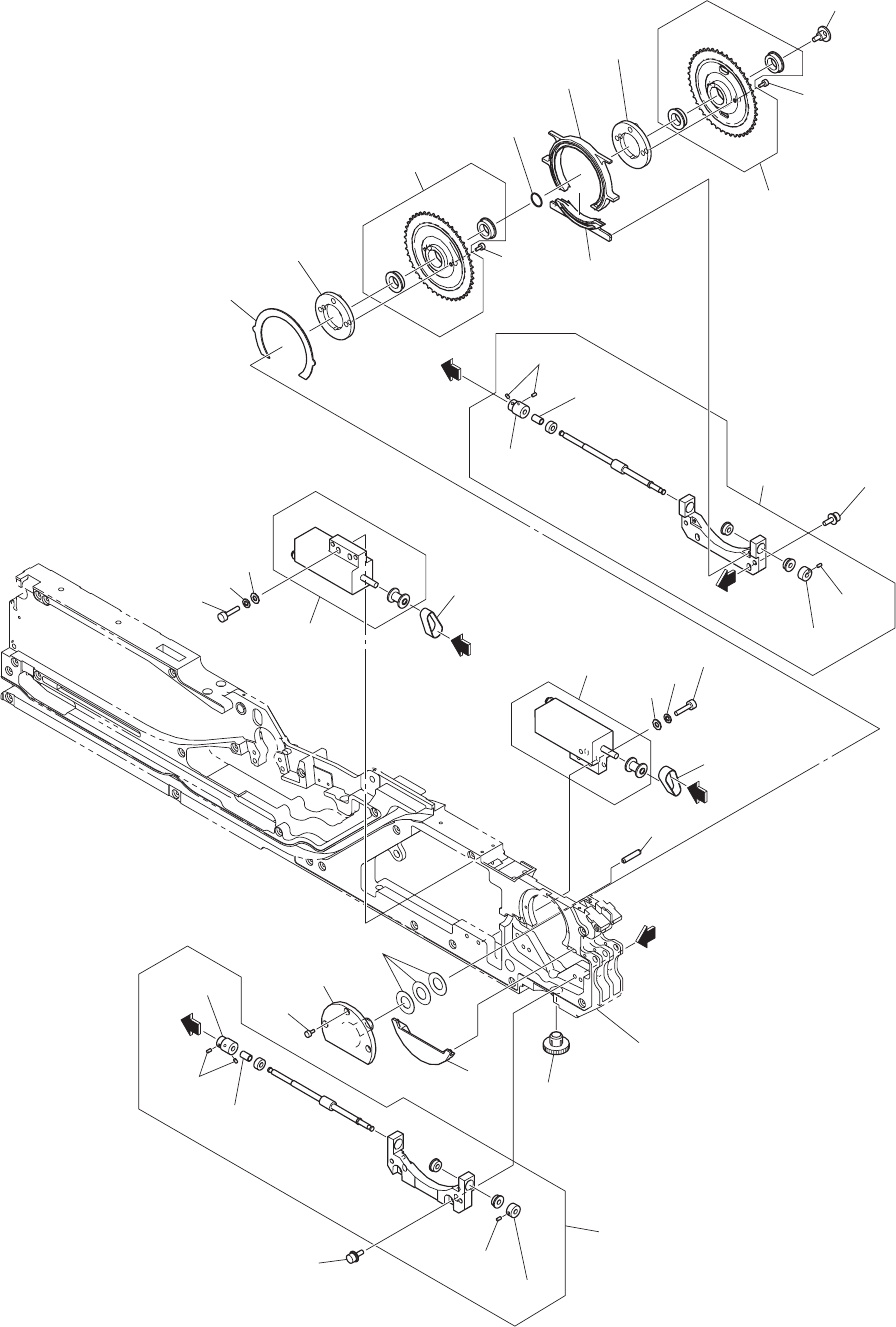
Fig. W-2
テープ駆動部
Tape Driving Section
A
A
B
B
C
C
112
102-04
113
102-08
106
123
124
102-03
102-08
103
110
109
101-08
101-04
101-08
101-07
101-03
124
107
127
102-07
127
129
130
129
130
121
121
122
103
111
124
108
126
129
130
See Fig.W-1
Key No.1
.
.
126
129
130
.
.
104
105
101
139
139
102

1012-008
11
Key No. PART No. PART NAME Q’ty REMARKS New Code
NOTE
W-2
101 6301554167 ASSY,GEAR(WORM) 1 1 1 1 804W--110-101 023E0014
101 -03 6301265964 COLLAR(PULLEY) 1 1 1 1
216A1146
101 -04 6301265971 COLLAR(BEARING) 1 1 1 1
216A1147
101 -07 6301254692 PULLEY,TIMING 1 1 1 1
223Q0562
101 -08 6301268248 SET SCREW(SET SCREW) 3 3 3 3 221C0100
102 6301554488
ASSY,GEAR 1 1 1 1
804W--110-102 023E0015
102 -03 6301265964 COLLAR(PULLEY) 1 1 1 1
216A1146
102 -04 6301265971 COLLAR(BEARING) 1 1 1 1
216A1147
102 -07 6301254692 PULLEY,TIMING 1 1 1 1
223Q0562
102 -08 6301268248 SET SCREW(SET SCREW) 3 3 3 3 221C0100
103 6301264776
GEAR 2 2 2 2
804W--110-103 223E0372
104 6301264820 ASSY,SPROCKET 1 1 1 1
804W--110-104 023S0052
105 6301264851 ASSY,SPROCKET 1 1 1 1
804W--110-105 023S0053
106 6301264905 HOLDER 1 1 1 1
804W--110-106 216B1404
107 6301264912 PIN,LOCATE 1 1 1 1
804W--110-107 216E1480
108 6301282145 COLLAR(SPROCKET) 1 1 1 1
T0.6 804W--110-1081 216A1156
108 6301282152 COLLAR(SPROCKET) 1 1 1 1
T0.7 804W--110-1082 216A1157
108 6301282169 COLLAR(SPROCKET) 1 1 1 1
T0.8 804W--110-1083 216A1158
109 6301265759 COVER(WORM-A) 1 1 1 1
804W--110-109 211A8628
110 6301265766 COVER(WORM-B) 1 1 1 1
804W--110-110 211A8629
111 6301383521 COVER(WORM-C) 1 1 1 1
804W--110-111 211A9936
112 6301265780 COVER(WORM-D) 1 1 1 1
804W--110-112 211A8631
113 6301653884 CAP(CAP) 1 1 1 1
804W--110-113 217A0154
121 6301254708 BELT,TIMING 2 2 2 2
804W--110-121 223L0270
122 6301265988 PIN,LOCATE 1 1 1 1
804W--110-122 216E1485
123 6300083804 WASHER 3 3 3 3
804W--110-123 221H0017
124 6300083057 BOLT,HEX-SCT 7 7 7 7
804W--110-124 221A0121
126 6300007510 BOLT,HEX-SCT 4 4 4 4
804W--110-126 221A0006
127 6300007534 BOLT,HEX-SCT 4 4 4 4
804W--110-127 221A0008
129 4111412806 WASHER SPR 3 8 8 8 8
804W--110-129 221H0281
130 4111413902 WASHER V 3X7X0.5 8 8 8 8
804W--110-130 221H0312
139 6301549705 ASSY,MOTOR,AC-SERVO 2 2 2 2 M01,M02 804W--110-509 0M150011
GT-08080
GT-08081
GT-08082
GT-08083

0909-008
12
テープフィーダ
TAPE FEEDER
GT-08080, 08081, 08082, 08083 GT-08080, 08081, 08082, 08083
Fig. W-3
カバーテープ巻取り部
Cover Tape Winding Section
221
229
201-08
235
237
.
.
202-01
221
239
227
213
208-01
208-03
208-04
202-05
218
202-03
215
216
232
220
219
See Fig.W
-1
Key No.1
219
220
232
227
213
207-03
201-04
238
239
201-05
201-03
233
214
216
202-02
238
228
234
236
.
.
228
234
236
.
.
229
235
237
.
.
C
C
224
210
210
201-07
201-06
201-09
202-09
202
202-04
202-08
202-07
202-06
201-01
201
201-02
208-06
.
208-07
208-08
.
208-05
208-02
207-02
207-04
207-05
207-01
207-06
.
207-07
207-08
.
207
208