P241011e - 第67页
1012-006 65 Key No. P AR T No. P AR T NAME Q’ty REMARKS New Code NOTE Q-4 303 6301513096 LEVER(LEVER) 1 804Q--1 10-303 216S3062 307 6301329505 PIN,HINGE(SUP) 1 804Q--1 10-307 216D0500 309 6301315447 SPRING,TORSION 1 804Q…

0601-004
64
See Fig.Q-1
Key No.1
See Fig.Q-1
Key No.6
See Fig.Q-2
Key No.152
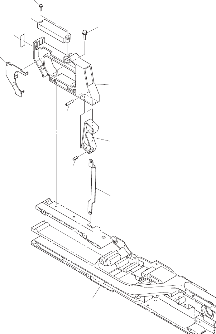
321
328
323
320
321
320
307
303
314
312
309
319
319
313
329
331
332
テープフィーダ
TAPE FEEDER
GT-44560
GT-44560
Fig. Q-4
サプレッサ部
Suppressor Section

1012-006
65
Key No. PART No. PART NAME Q’ty REMARKS New Code
NOTE
Q-4
303 6301513096 LEVER(LEVER) 1 804Q--110-303 216S3062
307 6301329505 PIN,HINGE(SUP) 1
804Q--110-307 216D0500
309 6301315447 SPRING,TORSION 1
804Q--110-309 222P0185
312 6301305134 ASSY,HOOK(FRONT HOOK) 1 804Q--110-312 016J0027
313 6301292793 PIN,HINGE(FRONT) 1
804Q--110-313 216D0467
314 6301275406 SPRING,COMP 1
804Q--110-314 222M1325
319 6301275451 PIN,LOCATE 2
804Q--110-319 216E1498
320 6301305158 PLATE(SUP) 1
804Q--110-320 211D9916
321 6301292861 MACHINE SCREW 2
804Q--110-321 221D0173
323 6300082296 SET SCREW 1
804Q--110-323 221C0027
328 4110160203 RING E 2.5 2
804Q--110-328 221K0114
329 0804000H NAME PLATE 1
804Q--110-329 0804000H
331 6301329208 WASHER 1
804Q--110-331 221H0230
332 4110335700 SCR FLT 2.5X6 1
804Q--110-332 221D0261
GT-44560

0406-001
66
テープフィーダ
TAPE FEEDER
GT-44560 GT-44560
Fig. Q-5
操作パネル部
Operation Panel Section
431
405
438
436
404
407
408
406
439
440
442
445
See Fig.Q-1
Key No.1
.
.