05. NXT II Part list.pdf - 第237页
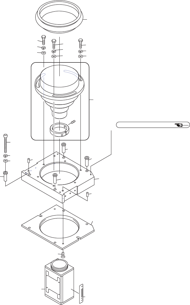
P03 PARTS CAMERA P03 パーツカメラ UG01106 No. Dr g .No. & Code No. QTY Descri p tion Ratin g Materials Remarks 番号 図番 & コード番号 個数 品名 規 格材 質 備 考 1 H2093E 2 PIN, PARALLEL ピン 平 行 ゚4X10 Aシュ ステンレス OT 2 XR00340 1 LENS レン ズ OT…

AA
Ref.P03 PARTS CAMERA LIGHT
1
10
10
6
10
10
12
11
1
14
7
8
9
2
4
5
3
5
4
3
3
4
5
13
15
UG01106
3ࣃ࣮ࢶ࣓࢝ࣛ
33$576&$0(5$
236
PTS-NXT2-06JE Vol.1

P03 PARTS CAMERA
P03 パーツカメラ
UG01106
No. Dr
g
.No. & Code No. QTY Descri
p
tion Ratin
g
Materials Remarks
番号 図番 & コード番号 個数 品名
規
格材質 備考
1 H2093E 2 PIN, PARALLEL ピン 平行 ゚4X10 Aシュ ステンレス OT
2 XR00340 1 LENS レン
ズ
OT
3 H5178A 3 BOLT, HEX ボルト 六角 M05X020 FE
4 W1023A 3 WASHER, LOCK ワッシャ ス
プ
リン
グ
5M
/
MFE
5 W1044A 3 WASHER, FLAT ワッシャ 平 4W- 5 FE
6 PM02899 1 BKT BKT FE
7 H5296A 4 BOLT, HEX SOCKET ボルト 六角穴 M04X040 FE
8 W1022A 4 WASHER, LOCK ワッシャ ス
プ
リン
グ
4M
/
MFE
9 W1040S 4 WASHER, FLAT ワッシャ 平 4M
/
MX0.8X9(1W-4)(3カ クロ) FE
10 PH00381 4 BUSHING
ブ
シュ OT
11 PH00371 1 BKT BKT OT
12 K5357T 2 SCREW, HEX SOCKET COUNTERSUNK 小ネジ 六角穴皿 M03X008 FE
13 XK00795 1 CAMERA カメラ OT
14 PX08460 1 SEAL, BAR CODE シール バーコード OT unit serial number
15 PG04703 1 SEAL, RUBBER シール ゴム PL
237
PTS-NXT2-06JE Vol.1

AA
Ref.P03 PARTS CAMERA
15
14
13
9
8
7
6
1
43
44
22
20
20
22
20
20
17
22
22
23
6
7
8
6
7
8
22
15
15
15
15
16
11
10
48
49
17
18
2
5
5
5
12
21
UG01106
3ࣃ࣮ࢶ࣓࢝ࣛࣛࢺ
33$576&$0(5$/,*+7
238
PTS-NXT2-06JE Vol.1