文档中心
/
Gantry S25-HM_20211123_094811
Gantry S25-HM_20211123_094811 - 第15页
Gantry S25-HM Page 15 / 22 23.11.2021
目录
100%
显示:宽度
宽度
1 / 22
回到旧版
旧版
?
Gantry S25-HM
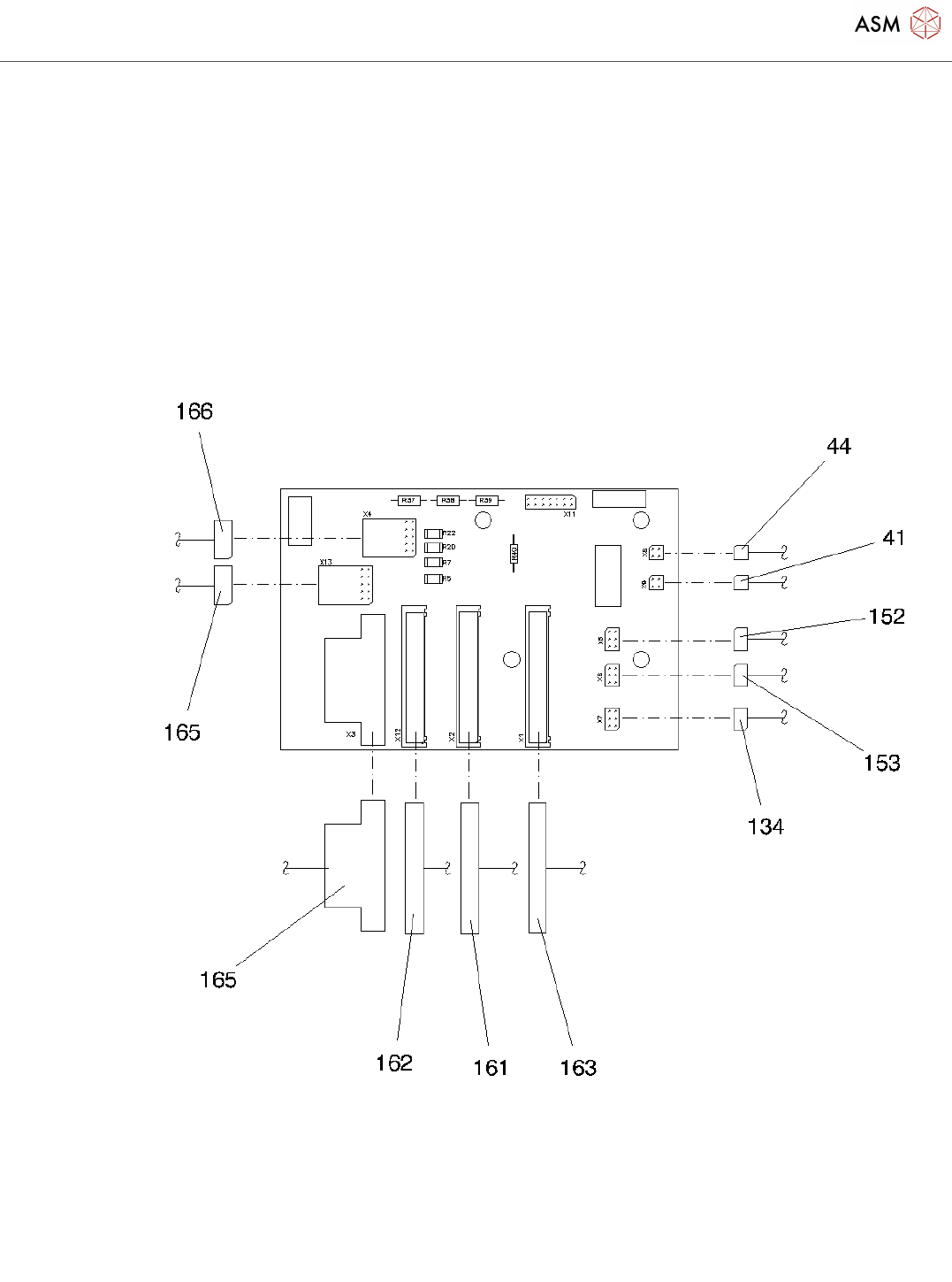
Page 14 / 22
23.11.2021
Gantry S25-HM
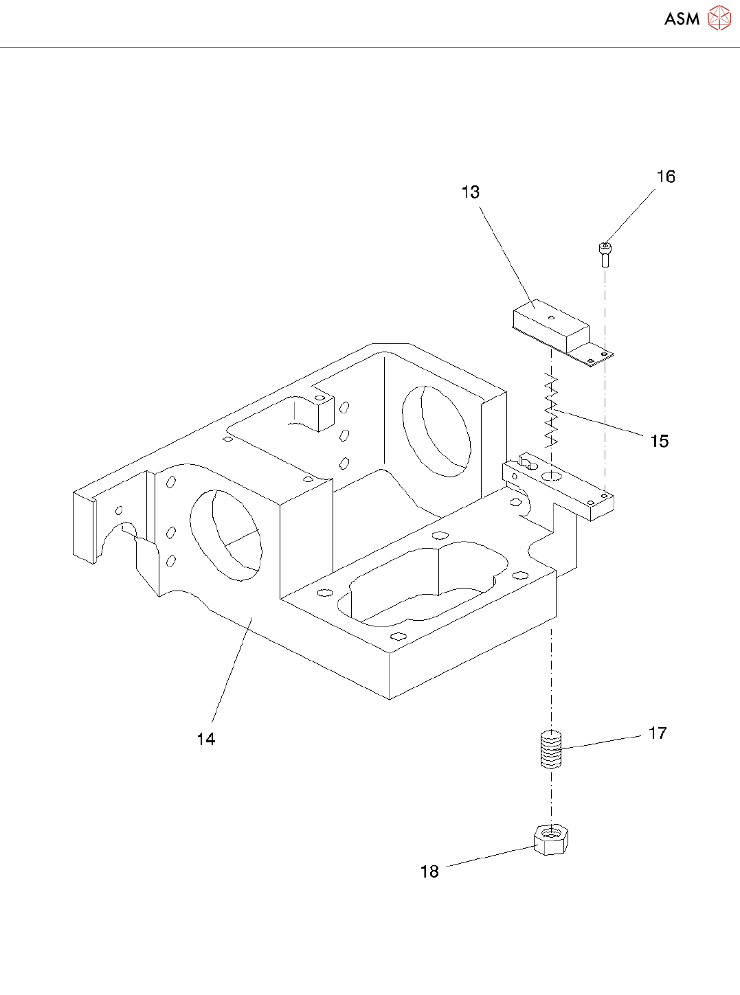
Page 15 / 22
23.11.2021
Gantry S25-HM
Page 16 / 22
23.11.2021
该页面需要启用 JavaScript 才能进行交互式预览。