JUKI_RX-6 - 第346页
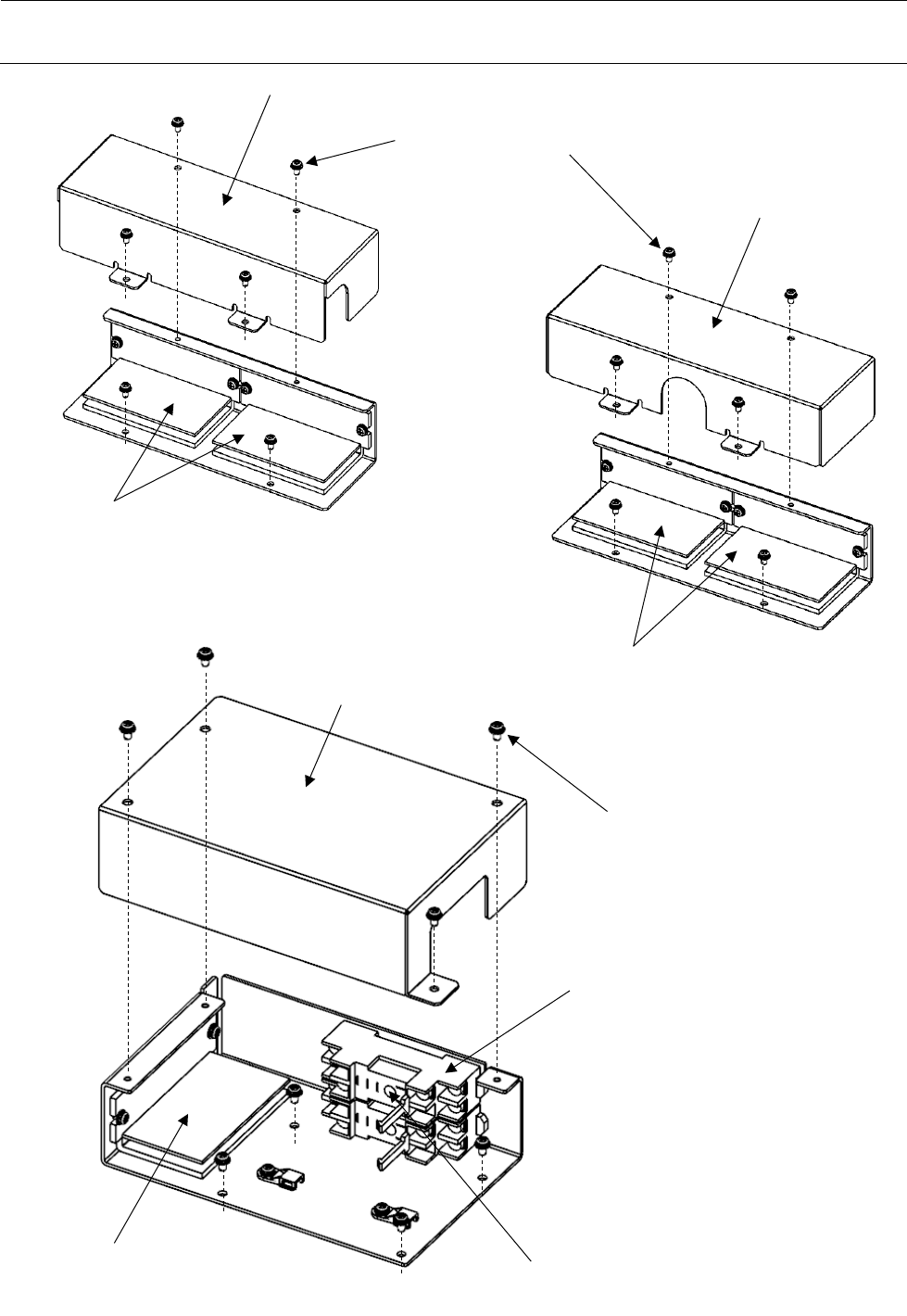
维修调整要领书 17 - 44 17 - 11 电动机驱动器和继电器的更换 1) 卸下各驱动器 箱的 护罩。 2) 拆下所连接的 电缆连 接器。 3) 卸下 驱动 器箱。 4) 卸下 驱动 器及 继电 器 进行更 换。 5) 安装时请 按相反的操作 顺序进行 。 调整宽度 电动 机 ( W3/W4 )驱动 器 支撑台电动机 驱动 器(前 侧) 后侧 通道 传送 电动 机驱动器 前侧 通道 传送 电动 机驱动器 离合器制动装置 用 继电器…

维修调整要领书
17-43
17-10-2
原点传感器和限位传感器的更换
1) 卸下支承装置。
※ 作业顺序请参照“17-10-1 支撑台电动机和联轴节的更换”。
2) 卸下支承限位传感器托架。
3) 从支承限位传感器托架上卸下各个传感器。
4) 更换原点传感器及限位传感器。
5) 安装时请按相反的操作顺序进行。
※ 请确认传感器与碰块的空隙为 2mm。
6) 更换传感器后,请调整传感器位置。
※ 原点传感器位置: 在支撑台下端的位置上 ON,抬升 0.1mm 即 OFF 的位置
※ 限位传感器位置: 将支撑台从下端抬升 38.7mm 即 ON 的位置
限位传感器(40154793)
盆头小螺丝 M3 L=8
SM4030801SC
碰块
原点传感器(40154793)
带垫片内六角螺栓 M3 L=8
SL6030892TN
支承限位传感器托架

维修调整要领书
17-44
17-11
电动机驱动器和继电器的更换
1) 卸下各驱动器箱的护罩。
2) 拆下所连接的电缆连接器。
3) 卸下驱动器箱。
4) 卸下驱动器及继电器进行更换。
5) 安装时请按相反的操作顺序进行。
调整宽度电动机
(W3/W4)驱动器
支撑台电动机驱动器(前侧)
后侧通道传送电动机驱动器
前侧通道传送电动机驱动器
离合器制动装置用
继电器
支撑台电动机驱动器(后侧)
调整宽度电动机(W2)驱动器
离合器制动装置
调整宽度电动机(W3/W4)
调整宽度电动机(W2)
后侧通道传送电动机
前侧通道传送电动机

维修调整要领书
17-45
传送机驱动器护罩 LR(左右 2 处)
带垫片盆头小螺丝 M3 L=6
SL4030691SC
传送机驱动器护罩
(支撑台电动机驱动器部)
电动机驱动器(HM001320000)
电动机驱动器(HM001320000)
驱动器继电器护罩
带垫片盆头小螺丝 M3 L=6
SL4030691SC
电动机驱动器(HM001320000)
带垫片盆头小螺丝 M3 L=16
SL4031681SC
继电器(HB001250000)
・上侧:离合器用
・下侧:制动装置用