Distributor_20211124_065801 - 第4页
Distributor Page 4 / 4 24.11.2021 Pos. Item no. Description Part marking 1 03075239-05 DISTRIBUTOR / SX4 03081902-01 PLATE DISTRIBUTOR CPL. 2 03058565-02 MOUNTING RAIL 215MM 4 03002385-01 RELAIS-MODULE 288-368 / 24VDC / …

Distributor
Page 2 / 4 24.11.2021

Distributor
Page 3 / 4 24.11.2021

Distributor
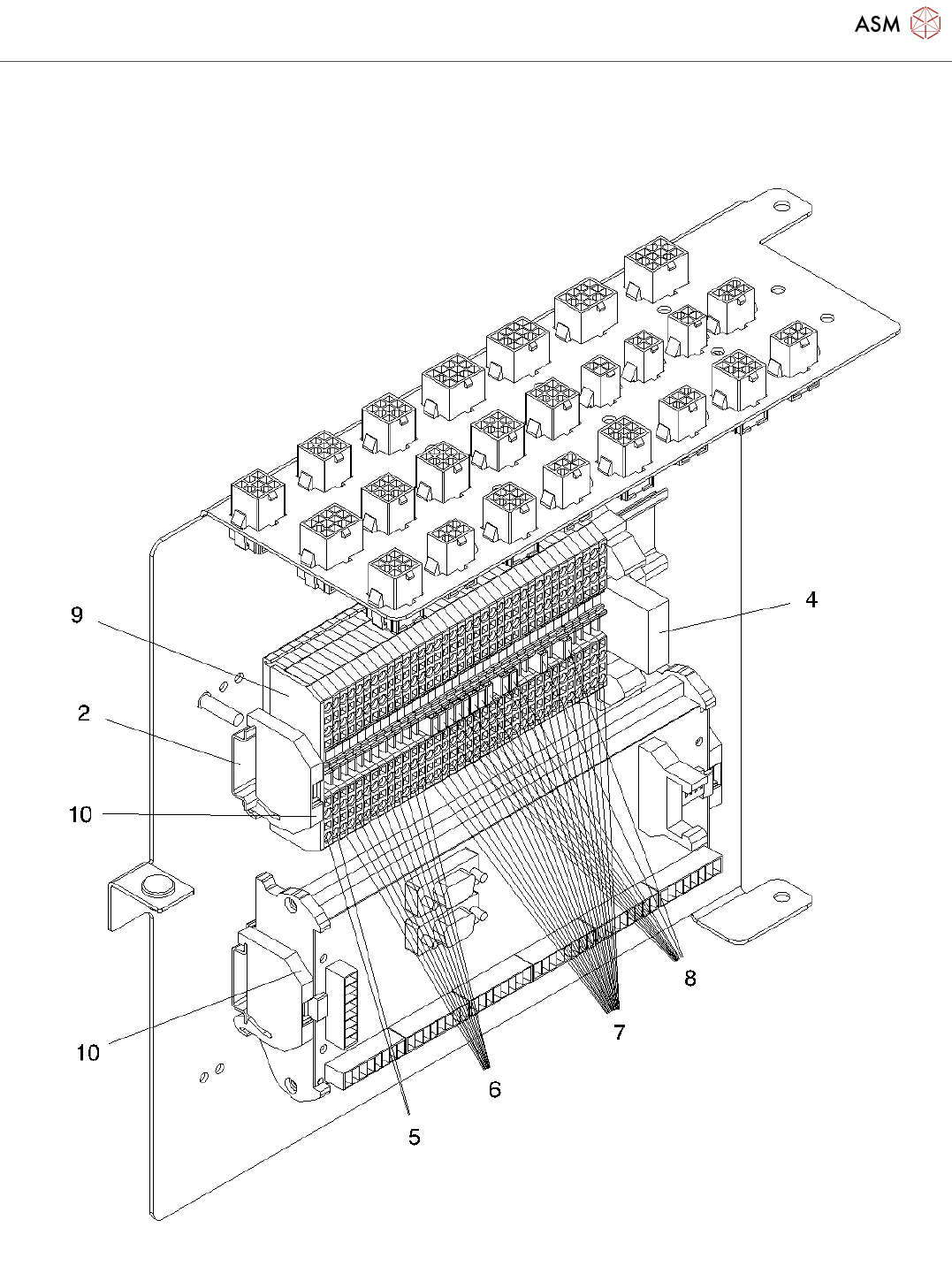
Page 4 / 4 24.11.2021
Pos. Item no. Description Part marking
1 03075239-05 DISTRIBUTOR / SX4
03081902-01 PLATE DISTRIBUTOR CPL.
2 03058565-02 MOUNTING RAIL 215MM
4 03002385-01 RELAIS-MODULE 288-368 / 24VDC /
1OE
SPARE PART
5 03054859-01 GROUND TERMINAL BLOCK
4-COND. 279-837
SPARE PART
6 03054861-01 SHIELD TERMINAL BLOCK WH
4-CON. 279-838
SPARE PART
7 03054862-01 THROUGH TERMINAL BLOCK GY
4-CON. 279-831
SPARE PART
8 03052255-01 ADJACENT JUMPER GY 279-402
9 03052258-01 END PLATE 2MM ORANGE 279-346 SPARE PART
10 00356396-01 SCREWLESS END STOP 6MM
249-116
SPARE PART
03002247-01 GROUP MARKER CARRIER 249-119
03052257-01 TERMINAL MARKING 1-50 WSB
279-766
03006443-01 MINI MATE-N-LOK CONNECTOR,
FEMALE, 4-POL
00354615-01 MINI MATE-N-LOK FEM.
CONNECTOR 6-POLE
00372331-01 MINI MATE-N-LOK SOCKET 9-PIN
03052259-01 MINI MATE-N-LOK FEM.
CONNECTOR 12-POLE
03005411-01 MINI MATE-N-LOK PIN CONTACT
0.5-1.30MM
03005412-01 MINI MATE-N-LOK CONNECTOR
0,5-1,3QMM
03021070-01 MINI COMBICOM-FEM. FK-MCP
1,5/8-ST-3,81
11 03052315-05 I/O CONTROL UNIT SPARE PART
Powered by TCPDF (www.tcpdf.org)