NPM-D3 20151225 - 第285页
Ref No. Remarks R 1 Q'ty 21 交換台車ガイド部(後側):NPM Feeder cart guide(rear side):NPM イラスト No. Part No. 品 名 品 番 数量 R 2 パーツリスト Kit No. キット品番 Kit Name キット名称 N610073132AA Part Nam e 備 考 セク ション No . PARTS LIST Section No. R 3 G…

21
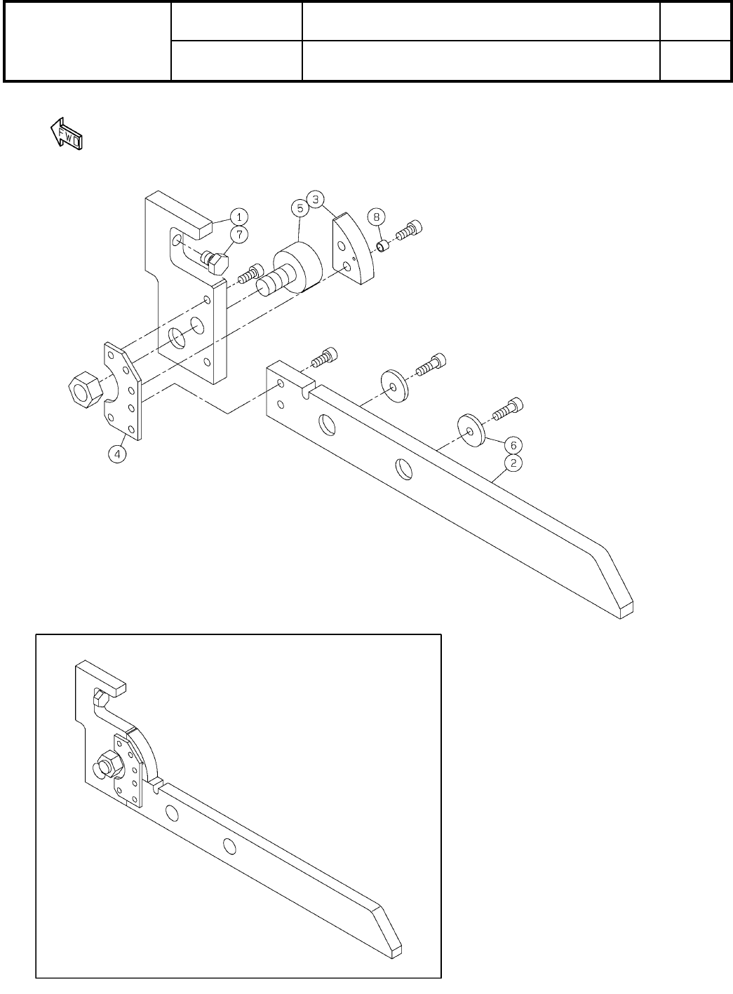
交換台車ガイド部(後側):NPM
Feeder cart guide(rear side):NPM
パーツレイアウト
Kit No.
キット品番
Kit Name
キット名称
N610073132AA
セクションNo.
PARTS LAYOUT
Section No.
--
O91
( KN610073132AA-07 )

Ref
No.
Remarks R
1
Q'ty
21
交換台車ガイド部(後側):NPM
Feeder cart guide(rear side):NPM
イラスト
No.
Part No.
品 名品 番 数量
R
2
パーツリスト
Kit No.
キット品番
Kit Name
キット名称
N610073132AA
Part Name
備 考
セクションNo.
PARTS LIST
Section No.
R
3
GUIDE
1
1 N210105908AC
BRACKET
1
2 N210105763AF
BRACKET
1
3 N210097144AC
SPACER
5
4 N510016347AA 3382330-40030
NUT-PLATE
1
5 N210143038AA
O92
--
( KN610073132AA-07 )

22
交換台車支持部(後側):NPM
Feeder cart support(rear side):NPM
パーツレイアウト
Kit No.
キット品番
Kit Name
キット名称
N610073133AA
セクションNo.
PARTS LAYOUT
Section No.
--
O93
( KN610073133AA-08 )