NPM-D3 20151225 - 第602页
128 下受ピンセット治具:NPM-D3 Support Pin Setting Jig:NPM -D3 パーツレイアウト Kit No. キット 品番 Kit Name キット名称 N610168255AA セクションNo. PARTS LAYOUT Section No. - - O409 ( KN610168255AA-00 )

Ref
No.
Remarks R
1
Q'ty
127
NOZZLE SET(No.7202)
NOZZLE SET(No.7202)
イラスト
No.
Part No.
品 名品 番 数量
R
2
パーツリスト
Kit No.
キット品番
Kit Name
キット名称
N610116345AA
Part Name
備 考
セクションNo.
PARTS LIST
Section No.
R
3
Calibration Nozzle
1
1 N610116406AA
O408
--
( KN610116345AA-01 )

128
下受ピンセット治具:NPM-D3
Support Pin Setting Jig:NPM-D3
パーツレイアウト
Kit No.
キット品番
Kit Name
キット名称
N610168255AA
セクションNo.
PARTS LAYOUT
Section No.
--
O409
( KN610168255AA-00 )

Ref
No.
Remarks R
1
Q'ty
128
下受ピンセット治具:NPM-D3
Support Pin Setting Jig:NPM-D3
イラスト
No.
Part No.
品 名品 番 数量
R
2
パーツリスト
Kit No.
キット品番
Kit Name
キット名称
N610168255AA
Part Name
備 考
セクションNo.
PARTS LIST
Section No.
R
3
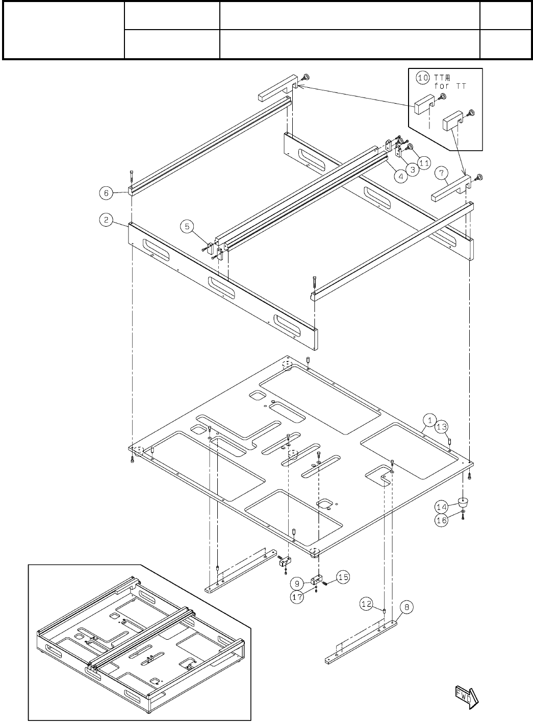
PLATE
1
1 N210199856AA
PLATE
2
2 N210174115AA
PLATE
2
3 N210164848AB
GUIDE
2
4 N210174116AA
PLATE
2
5 N210164849AB
GUIDE
2
6 N210174117AA
GUIDE
2
7 N210199857AA
STOPPER
2
8 N210161448AB
BLOCK
2
9 N210161449AB
GUIDE
2
10 N210161447AB
KNOB
6
11 N986KNMS-834 KNMS-16-M4X10
PIN
6
12 N510020617AA MMS6-10
PIN
4
13 N510020618AA MMS6-15
RUBBER-LEG
5
14 N982TK5183 TK-26
PLUNGER
2
15 N510060262AA MPS-5
SPACER
5
16 N510014226AA CF-304.5ZE
SPACER
2
17 N510020954AA SM-401E
O410
--
( KN610168255AA-00 )