NPM-D3 20151225 - 第81页
Ref No. Remarks R 1 Q'ty 18-A ヘッドオプショ ン駆動ユニット:NP M-D3 Head Option Driv ing Unit:NPM -D3 イラスト No. Part No. 品 名 品 番 数量 R 2 パーツリスト Kit No. キット品番 Kit Name キット名称 N610161110AA Part Nam e 備 考 セク ション No . PARTS LIST Section…

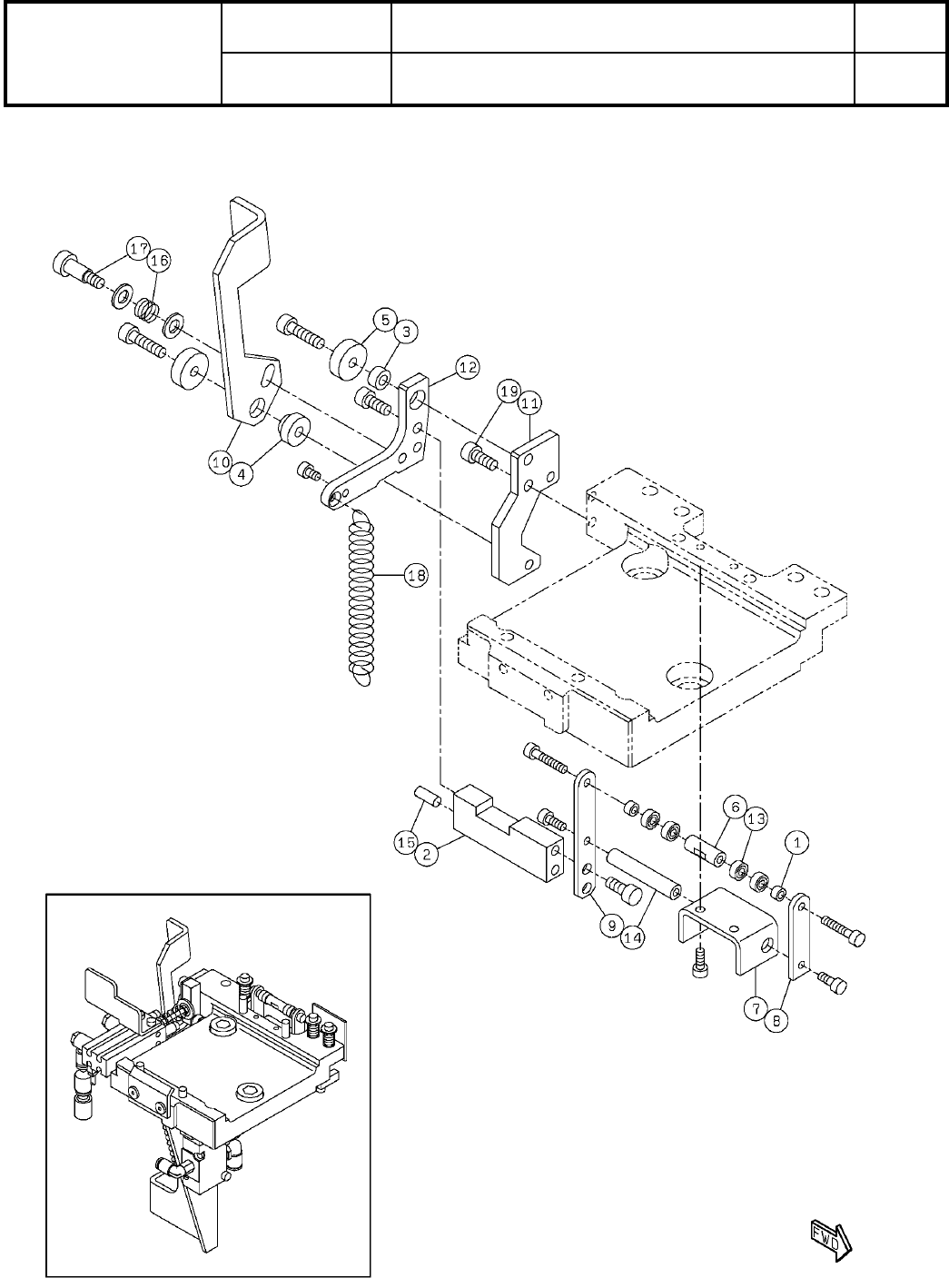
18-A
ヘッドオプション駆動ユニット:NPM-D3
Head Option Driving Unit:NPM-D3
パーツレイアウト
Kit No.
キット品番
Kit Name
キット名称
N610161110AA
セクションNo.
PARTS LAYOUT
Section No.
--
S59
( KN610161110AA-03-1 )

Ref
No.
Remarks R
1
Q'ty
18-A
ヘッドオプション駆動ユニット:NPM-D3
Head Option Driving Unit:NPM-D3
イラスト
No.
Part No.
品 名品 番 数量
R
2
パーツリスト
Kit No.
キット品番
Kit Name
キット名称
N610161110AA
Part Name
備 考
セクションNo.
PARTS LIST
Section No.
R
3
SPRING
3
1 N210095851AA
BLOCK
1
2 N210096734AA
WASHER
1
3 N210117330AA
SPRING
1
4 N210096545AA
GUIDE
1
5 N210096547AA
BLOCK
1
6 N210106405AA
GUIDE
1
7 N210092263AB
BRACKET
1
8 N210190763AB
COVER
1
9 N210119429AA
HANDLE
1
10 N210114670AC
PLATE
1
11 N210097401AC
PIN
2
12 N510020608AA MMS5-15
PIN
2
13 N510020609AA MMS5-20
BOLT
2
14 N510017612AA
Hexagon socket Flat head bolt M3X6-10.9 A2J (Trivalent)
JOINT
1
15 N510066662AA KQ2L04-M5A
VALVE
1
16 N510051740AA VQZ212-5MOZ1-M5-X550
SILENCER
1
17 N510005367AA INA-25-46
JOINT
1
18 N510066470AA KQ2L06-01AS
WASHER
6
19 N510018472AA
Iron round plain washer 3X10X1.0 (cromeite) A2J (Trivalent)
SPACER
3
20 N510017094AA CB-320E
SENSOR
3
21 N510049697AA EE-SX914-C2J-R 0.3M
SPACER
2
22 N510030918AA CB-301E
BEARING
2
23 N510039650AA 693T12AZZMC3
SPACER
2
24 N510029528AA CF-309E
WASHER
1
25 N510026609AA LLRB8-0.5
SPEED-CONTROLLER
2
26 N510040546AA AS1211F-M5-04-15-X250
JOINT
1
27 N510066708AA KQ2R06-04A
SILENCER
1
28 N510064383AA AN10-C06
BOLT
2
29 N510040299AA
Hexagon socket head cap screw M10X20-10.9 A2S (Trivalent)
BOLT
3
30 N510017536AA
SSS 003 Hexagon socket button head screw M4X8-10.9 A2J (Trivalent)
CLIP
2
31 KXF0BLPAA00 TA1S8-M
BOLT
2
32 N510026205AA CCBSS4-8
CYLINDER(300mm)
1
33 N610123946AB
PLATE
1
34 N610161022AB
S60
--
( KN610161110AA-03-1 )

18-B
ヘッドオプション駆動ユニット:NPM-D3
Head Option Driving Unit:NPM-D3
パーツレイアウト
Kit No.
キット品番
Kit Name
キット名称
N610161110AA
セクションNo.
PARTS LAYOUT
Section No.
--
S61
( KN610161110AA-03-2 )