QP-242E-11 - 第258页
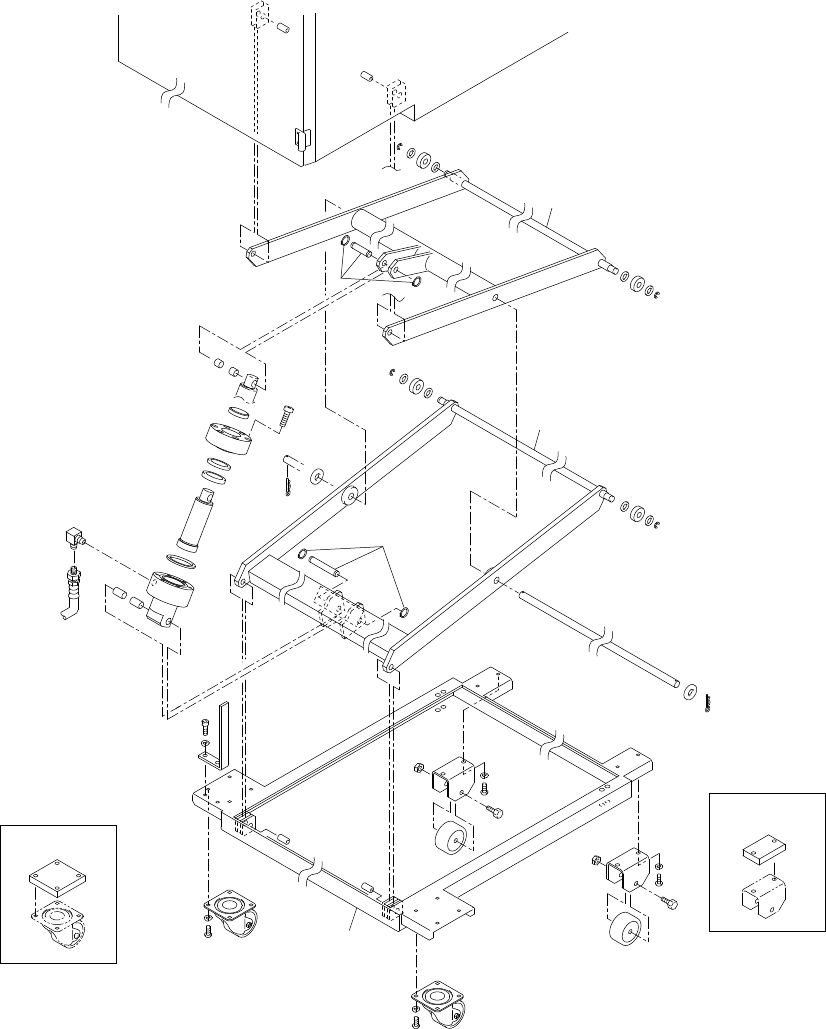
68.2.MFU-58LE,MFU-58SE 本体(BHUF) 68.2.MFU-58LE,MFU-58SE Body(BHUF) 番号 図番 & コード番号 個数 品名 規格 備考 No. Drg.No.& Code No. QTY Description Rating Remarks 1 BHUF6040 1 FRAME フレーム 2 BHUF6050 1 LINK リンク 3 BHUF6260 1 LINK リン…

QP-242E PARTS LIST ver11
68 - 4
68.2.MFU-58LE,MFU-58SE 本体(BHUF)
68.2.MFU-58LE,MFU-58SE Body(BHUF)
68.2.MFU-58LE,MFU-58SE 本体(BHUF)
68.2.MFU-58LE,MFU-58SE Body(BHUF)
18
18
5
19
18
18
5
19
18
5
18
19
18
5
18
19
3
17
17
21
20
4
20
2
17
17
12
11
24
21
25
22
22
13
6
15
14
9
16
8
23
23
1
27
28
36
10
30
32
34
33
31
29
26
24
25
26
37
35
30
32
34
33
31
35
38
7
H=962
H=962

68.2.MFU-58LE,MFU-58SE 本体(BHUF)
68.2.MFU-58LE,MFU-58SE Body(BHUF)
番号 図番 & コード番号 個数 品名 規格 備考
No. Drg.No.& Code No. QTY Description Rating Remarks
1 BHUF6040 1 FRAME フレーム
2 BHUF6050 1 LINK リンク
3 BHUF6260 1 LINK リンク
4 BHUF6070 1 SHAFT シャフト
5 BHUF0550 4 ROLLER ローラ
6 BHUF6230 1 COVER 蓋
7 H5326A 6 NBOLT, HEX SOCKET ボルト 六角穴 M6X25
8 BHUF6241 1 CYLINDER シリンダ
9 BHUF6250 1 ROD ロッド
10 BHUF6170 1 HOSE, HYDRAULIC ホース 油圧
11 H2015G 1 PIN ピン CCG10-55
12 H20150 1 PIN ピン CCG10-33
13 S3006A 1
SCRAPER
スクレーパ SDR-30
14 H1184W 1 PACKING パッキン ISI-30
15 R2063Z 1 RING, BACKUP リング バックアップ SDR-30
16 A5115A 1 0 RING O リング P=44
17 H20315 4 PIN, SPRING ピン スプリング 10゚X22
18 M1061X 8 WASHER ワッシャ SSWA17-2.0
19 S1026A 4
CIR-CLIP
サークリップ ST-EW-8
20 W1057A 2 WASHER, FLAT ワッシャ 平 12M/MX2.5X24(1W-12)
21 H2099T 2 PIN, SPLIT ピン 割 2.5゚X15
22 H4332A 2
BEARING, DRY
ベアリング ドライ MB1010DU
23 H4333H 2
BEARING, DRY
ベアリング ドライ MB1020DU
24 K21405 2 CASTER, UNIVERSAL キャスタ 自在 NO.104HB2-EP(19081)
25 K5262A 8 SCREW, HEX SOCKET BUTTON 小ネジ 六角穴ボタン M6X10L
26 W1024A 8 WASHER, LOCK ワッシャ スプリング 6M/M
27 BHUF0760 1 BKT BKT
28 H5320H 2 NBOLT, HEX SOCKET ボルト 六角穴 M6X10L
29 W1024A 2 WASHER, LOCK ワッシャ スプリング 6M/M
30 K2023N 2 CASTER キャスタ PH-50
31 BHUF0860 2 BKT, ROLLER BKT ローラ
32 K5201A 2 NBOLT, HEX ボルト 六角 M8X50L 10.9
33 N1068A 2 NUT, U ナット U M08
34 K5262A 4 SCREW, HEX SOCKET BUTTON 小ネジ 六角穴ボタン M6X10L
35 W1024A 4 WASHER, LOCK ワッシャ スプリング 6M/M
36 A1022C 1 ELBOW エルボ 1033-6-1/4,
QP-242E PARTS LIST ver11
68 - 5
68.2.MFU-58LE,MFU-58SE 本体(BHUF)
68.2.MFU-58LE,MFU-58SE Body(BHUF)

68.2.MFU-58LE,MFU-58SE 本体(BHUF)
68.2.MFU-58LE,MFU-58SE Body(BHUF)
番号 図番 & コード番号 個数 品名 規格 備考
No. Drg.No.& Code No. QTY Description Rating Remarks
37 BHUF6210 2 BLOCK ブロック H=962mm Type
38 BHUF1080 2 BLOCK ブロック H=962mm Type
QP-242E PARTS LIST ver11
68 - 6
68.2.MFU-58LE,MFU-58SE 本体(BHUF)
68.2.MFU-58LE,MFU-58SE Body(BHUF)