P-092-002e - 第106页
在线预览 P-092-002e PDF 文档。



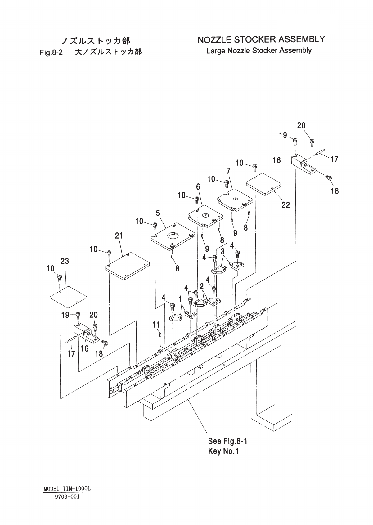
Key No. PART No. PART NAME Q'ty REMARKS REGISTERED No.
1 616 125 7673 CLAW 2 648FD-11B-003 1CC2JA3000782
2 616 125 7666 CLAW 2 648FD-11B-002 1CC2JA3000771
3 616 125 7659 CLAW 2 648FD-11B-001 1CC2JA3000761
4 630 000 7466 BOLT,HEX-SCT 12 M2X6
5 616 125 6829 BLOCK 1 648FE-11B-001 1CC2FB1002901
6 616 125 6836 BLOCK 1 648FE-11B-002 1CC2FB1002911
7 616 125 6843 BLOCK 1 648FE-11B-003 1CC2FB1002921
8 616 122 3135 SPRING PIN 3 648FE-11H-501 1CC2SD1000300
9 616 125 6850 SPRING PIN 4 648FE-11H-502 1CC2SD1000040
10 630 000 7503 BOLT,HEX-SCT 16 M3X6
11 616 123 3516 SPRING PIN 2 648FB-11H-518 1CC2SD1000440
16 616 125 6799 SUPPORTER 2 648FB-11B-016 1CC2FC1501431
17 616 125 6812 FIBER 1 648FB-11H-514 1CC4V23500290
18 630 000 7503 BOLT,HEX-SCT 2 M3X6
19 630 000 7534 BOLT,HEX-SCT 2 M3X12
20 630 000 7503 BOLT,HEX-SCT 2 M3X6
21 616 122 3111 COVER 1 648FE-11B-005 1CC2CA0505120
22 616 122 3128 COVER 1 648FE-11B-006 1CC2CA0505130
23 616 125 6805 COVER 1 648FB-11B-017 1CC2CA0505670
NOTE
8-2
9703-001
MODEL TIM-1000L