P-092-002e - 第111页
Key No. PART No. PART NAME Q'ty REMARKS REGISTERED No. 1 616 121 9084 HOLDER 1 648FC-11B-006 1CC2FC0507160 2 616 121 9077 HOLDER 1 648FC-11B-005 1CC2FC0507150 3 -1 616 121 9046 BLOCK 1 648FC-11B-002 1CC2FB1002840 3 …


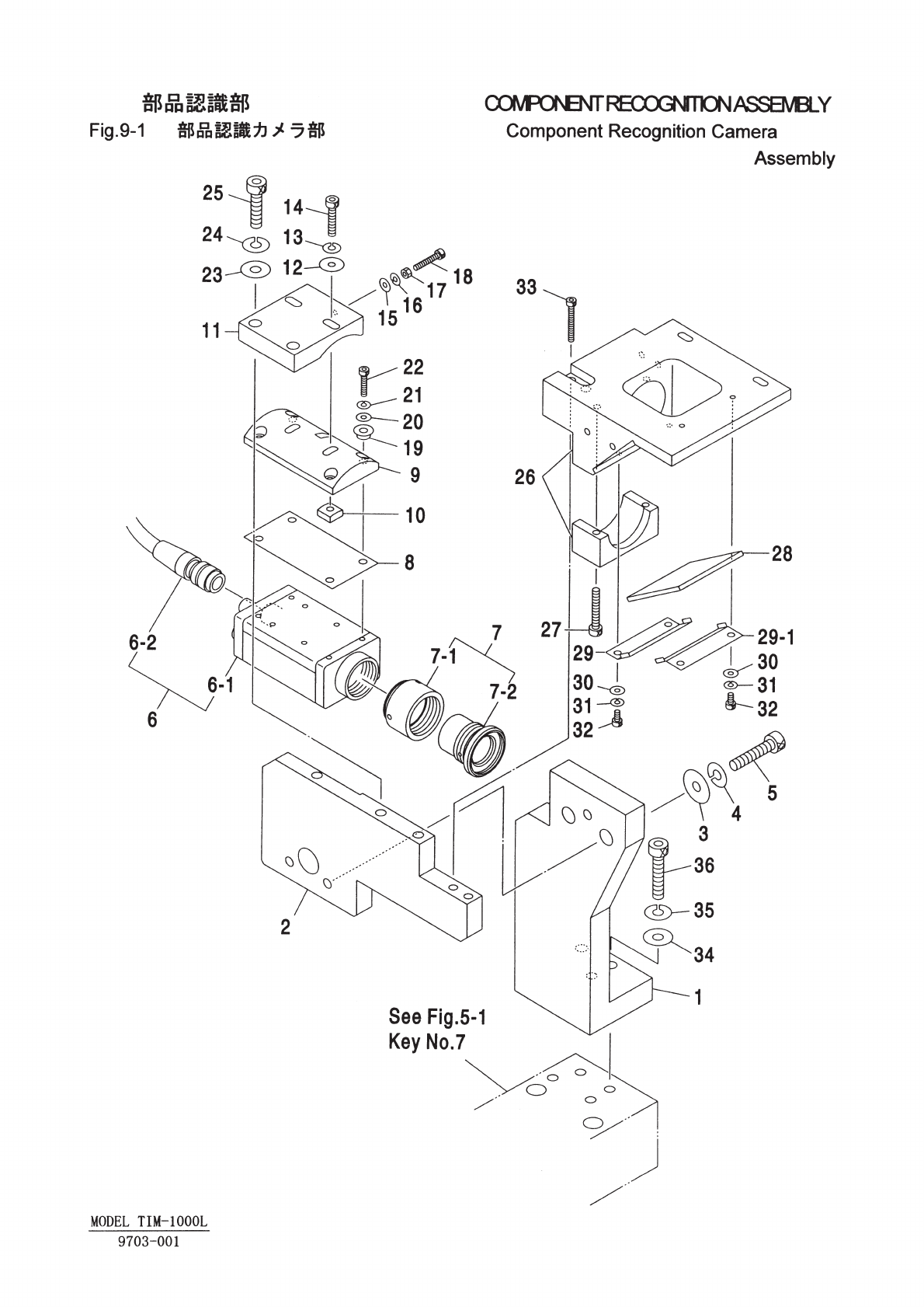
Key No. PART No. PART NAME Q'ty REMARKS REGISTERED No.
1 616 121 9084 HOLDER 1 648FC-11B-006 1CC2FC0507160
2 616 121 9077 HOLDER 1 648FC-11B-005 1CC2FC0507150
3 -1 616 121 9046 BLOCK 1 648FC-11B-002 1CC2FB1002840
3 -2 616 121 9169 BLOCK 1 648FC-11B-014 1CC2FB1002880
4 616 111 8790 BALL BEARING 4 648FC-11H-502 1CC2GF4000740
5 616 121 7813 WASHER 2 648FC-11H-508 1CC2SB0500390
6 616 121 9275 PIN 2 648FC-11H-507 1CC2SD0502220
7 616 121 9244 SHAFT 2 648FC-11H-504 1CC2GK0502391
8 616 121 9237 BALL BEARING 2 648FC-11H-503 1CC2GF4000741
9 616 121 9107 HOOK 2 648FC-11B-008 1CC2CC3500600
10 -1 616 121 9176 BLOCK 1 648FC-11B-015 1CC2FB1002890
10 -2 616 121 9053 BLOCK 1 648FC-11B-003 1CC2FB1002850
11 616 111 8790 BALL BEARING 4 648FC-11H-502 1CC2GF4000740
12 616 121 7813 WASHER 2 648FC-11H-508 1CC2SB0500390
13 616 121 9268 PIN 2 648FC-11H-506 1CC2SD0502210
14 616 121 9244 SHAFT 2 648FC-11H-504 1CC2GK0502391
15 616 121 9237 BALL BEARING 2 648FC-11H-503 1CC2GF4000741
16 616 121 9091 HOOK 2 648FC-11B-007 1CC2CC3500580
17 630 000 7527 BOLT,HEX-SCT 6 M3X10
18 616 121 9282 SPRING 2 648FC-11H-509 1CC2GM0504420
19 630 008 2296 SET SCREW 4 M4X4 SET
NOTE
8-4
9703-001
MODEL TIM-1000L
