P-092-002e - 第155页
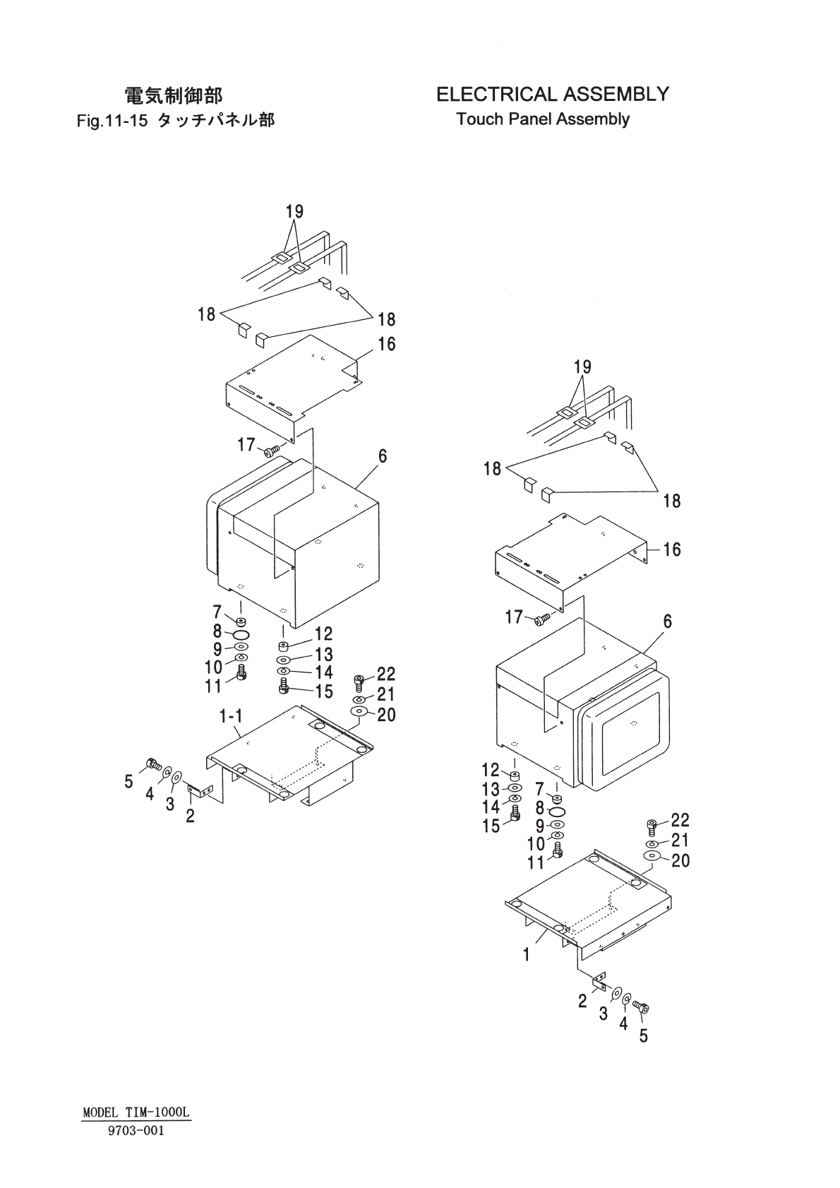
Key No. PART No. PART NAME Q'ty REMARKS REGISTERED No. 1 616 121 9718 BOX 1 648GH-11B-006 1CC2CA2500610 2 616 121 9695 BRACKET 3 648GH-11B-002 1CC2FC1005530 3 616 121 4706 CONNECTOR 24 648HG-11D-511 1CC4J13006190 4 …


Key No. PART No. PART NAME Q'ty REMARKS REGISTERED No.
1 616 121 9718 BOX 1 648GH-11B-006 1CC2CA2500610
2 616 121 9695 BRACKET 3 648GH-11B-002 1CC2FC1005530
3 616 121 4706 CONNECTOR 24 648HG-11D-511 1CC4J13006190
4 411 141 4008 WASHER V 4X9X0.8 6 FW4
5 411 141 2905 WASHER SPR 4 6 SW4
6 411 141 0307 NUT HEX 4 6 M4
7 616 901 4810 PRINTED BOARD 6 648HG-11D-501 1CC4B18000121
8 616 123 8603 PRINTED BOARD ASSY 6 1CC0B18100061
9 616 121 4744 SPACER 18 648HG-11D-524 1CC4S60500020
10 411 119 1909 WASHER V 3X7X0.5 18 FW3 F
11 411 041 8908 SCR PAN 3X6 18 M3X6 PAN
12 411 108 7103 SCR FLT 3X10 6 M3X10 FLT
13 616 121 9770 NAME PLATE INDEX 2 648GH-11H-509 1CC6P45000300
14 616 121 9763 NAME PLATE INDEX 2 648GH-11H-508 1CC6P45000200
15 616 121 9749 NAME PLATE INDEX 1 648GH-11H-506 1CC6P45000100
16 616 121 4904 CONNECTOR 1 648HB-11D-507 1CC4J13004041
17 411 034 7208 SCR FLT 3X8 3 M3X8 FLT
18 616 121 4928 CONNECTOR 1 648HJ-11D-505 1CC4J13002120
19 616 121 4935 CONNECTOR HOLDER 2 648HJ-11D-506 1CC4J13400011
20 411 141 3902 WASHER V 3X7X0.5 2 FW3
21 411 141 2806 WASHER SPR 3 2 SW3
22 411 140 9905 NUT HEX 3 2 M3
23 616 124 6172 COVER 1 648GH-11B-009 1CC2CA0505680
24 411 034 7208 SCR FLT 3X8 3 M3X8 FLT
26 616 122 2800 STEPPING MOTOR 1 648HB-11H-522 1CC4M18000180
27 616 121 7172 UNION 1 648GH-11H-503 1CC2BD5000550
28 616 121 7127 UNION 1 648GH-11H-504 1CC2BD5000260
29 616 121 7134 PLUG 1 648GH-11H-505 1CC2BD4000100
NOTE
11-14
9703-001
MODEL TIM-1000L
