P-092-002e - 第20页
在线预览 P-092-002e PDF 文档。

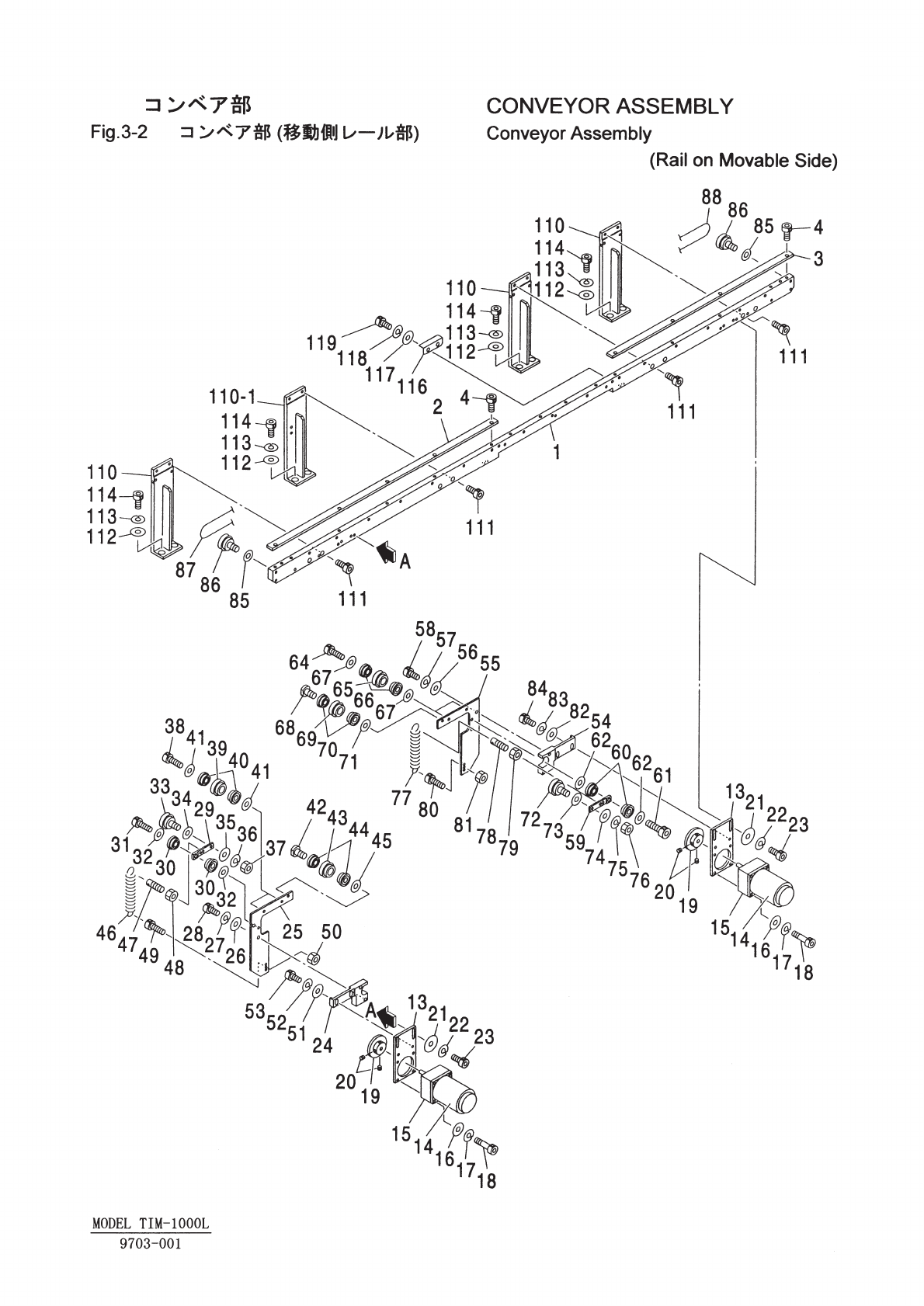
Key No. PART No. PART NAME Q'ty REMARKS REGISTERED No.
100 616 111 8165 PHOTO SWITCH 2 648DB-11H-505 1CC4V23000100
101 411 119 1909 WASHER V 3X7X0.5 4 FW3 F
102 411 086 4408 WASHER SPR 3 4 SW3 F
103 411 040 6202 SCR PAN 3X10 4 M3X10 PAN
104 630 001 0206 WASHER 2 BW3
105 411 141 2806 WASHER SPR 3 2 SW3
106 630 000 7510 BOLT,HEX-SCT 2 M3X8
107 411 141 4008 WASHER V 4X9X0.8 2 FW4
108 411 141 2905 WASHER SPR 4 2 SW4
109 630 000 7626 BOLT,HEX-SCT 2 M4X10
110 616 125 7567 SUPPORTER 4 648DB-11B-010 1CC2FC1501403
111 630 000 7879 BOLT,HEX-SCT 8 M6X12
112 411 141 4305 WASHER V 6X12.5X1.6 8 FW6
113 411 141 3001 WASHER SPR 6 8 SW6
114 630 000 7909 BOLT,HEX-SCT 8 M6X25
116 616 125 7628 GUIDE 1 648DB-11B-024 1CC2GG2001641
117 411 141 4008 WASHER V 4X9X0.8 2 FW4
118 411 141 2905 WASHER SPR 4 2 SW4
119 630 000 7626 BOLT,HEX-SCT 2 M4X10
NOTE
3-1
9703-001
MODEL TIM-1000L


Key No. PART No. PART NAME Q'ty REMARKS REGISTERED No.
1 616 121 7592 PLATE 1 648DB-11B-002 1CC2FB0507011
2 616 121 7615 GUIDE 1 648DB-11B-004 1CC2GG2001081
3 616 121 7646 GUIDE 1 648DB-11B-008 1CC2GG2001101
4 630 000 7619 BOLT,HEX-SCT 9 M4X8
13 616 125 7604 BRACKET 2 648DB-11B-015 1CC2FC1005341
14 616 121 7776 SPEEDCONTROL MOTOR 2 648DB-11H-501 1CC4M13000040
15 616 112 1448 GEAR HEAD 2 648DB-11H-502 1CC2GB5000010
16 411 141 4008 WASHER V 4X9X0.8 8 FW4
17 411 141 2905 WASHER SPR 4 8 SW4
18 630 000 7718 BOLT,HEX-SCT 8 M4X45
19 616 125 7611 PULLEY 2 648DB-11B-016 1CC2GD2002041
20 630 030 4701 SET SCREW 4 M4X10 SET
21 630 001 0220 WASHER 4 BW5
22 411 141 6705 WASHER SPR 5 4 SW5
23 630 000 7770 BOLT,HEX-SCT 4 M5X20
24 630 056 8882 BLOCK 1 648DB-11B-027
25 630 056 8912 PLATE 1 648DB-11B-026
26 411 141 4107 WASHER V 5X10X1 2 FW5
27 411 141 6705 WASHER SPR 5 2 SW5
28 630 000 7756 BOLT,HEX-SCT 2 M5X12
29 630 056 8929 LEVER 1 648DB-11B-028
30 630 001 1623 BEARING,RADIAL 2 648DB-11H-513
31 630 000 7633 BOLT,HEX-SCT 1 M4X12
32 616 121 7813 WASHER 2 648DB-11H-507 1CC2SB0500390
33 616 121 7806 BALL BEARING 1 648DB-11H-506 1CC2GF4001620
34 616 121 7813 WASHER 1 648DB-11H-507 1CC2SB0500390
35 411 141 4008 WASHER V 4X9X0.8 1 FW4
36 411 141 2905 WASHER SPR 4 1 SW4
37 411 141 0307 NUT HEX 4 1 M4
38 630 000 7633 BOLT,HEX-SCT 2 M4X12
39 630 056 8936 PULLEY 2 648DB-11B-029
40 630 001 1623 BEARING,RADIAL 4 648DB-11H-513
41 616 121 7813 WASHER 4 648DB-11H-507 1CC2SB0500390
42 630 056 8950 SHAFT 1 648DB-11B-031
43 630 056 8943 PULLEY 1 648DB-11B-030
44 630 001 1623 BEARING,RADIAL 2 648DB-11H-513
45 630 056 9483 WASHER 1 648DB-11H-512
46 630 002 8898 SPRING,TENSION 1 648DB-11H-514
47 630 010 5346 HOOK 1 648DB-11H-511
48 411 141 0307 NUT HEX 4 1 M4
49 630 000 7657 BOLT,HEX-SCT 1 M4X16
50 411 141 0307 NUT HEX 4 1 M4
51 411 141 4107 WASHER V 5X10X1 2 FW5
52 411 141 6705 WASHER SPR 5 2 SW5
53 630 000 7756 BOLT,HEX-SCT 2 M5X12
54 630 056 8905 BLOCK 1 648DB-11B-034
55 630 056 8912 PLATE 1 648DB-11B-026
56 411 141 4107 WASHER V 5X10X1 2 FW5
57 411 141 6705 WASHER SPR 5 2 SW5
58 630 000 7756 BOLT,HEX-SCT 2 M5X12
NOTE
3-2
9703-001
MODEL TIM-1000L