P-092-002e - 第83页
Key No. PART No. PART NAME Q'ty REMARKS REGISTERED No. 1 616 125 7789 BASE 1 648JC-11B-003 1CC2FA1001973 2 616 125 6997 GUIDE 1 648FH-11B-005 1CC2GG2001152 2 -1 616 125 7062 GUIDE 1 648FH-11B-040 1CC2GG2001670 3 630…


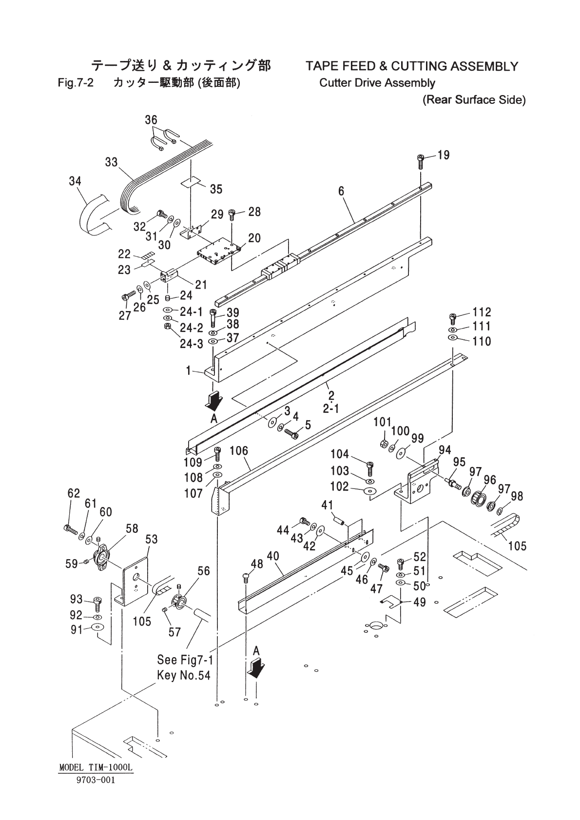
Key No. PART No. PART NAME Q'ty REMARKS REGISTERED No.
1 616 125 7789 BASE 1 648JC-11B-003 1CC2FA1001973
2 616 125 6997 GUIDE 1 648FH-11B-005 1CC2GG2001152
2 -1 616 125 7062 GUIDE 1 648FH-11B-040 1CC2GG2001670
3 630 001 0220 WASHER 4 BW5
4 411 141 6705 WASHER SPR 5 4 SW5
5 630 000 7756 BOLT,HEX-SCT 4 M5X12
6 616 122 1148 WAY 1 648JC-11H-501 1CC2GG1001900
20 616 122 0479 BASE 1 648JB-11B-002 1CC2FA1001941
21 616 122 0684 HOLDER 1 648JB-11B-020 1CC2FC0507340
22 616 125 7901 BELT 1 648JC-11H-502 1CC2GD1504720
23 616 122 0493 PUSHER 1 648JB-11B-004 1CC2GH1000620
24 630 000 8937 SET SCREW 1 M4X12 SET
24 -1 411 141 4008 WASHER V 4X9X0.8 1 FW4
24 -2 411 141 2905 WASHER SPR 4 1 SW4
24 -3 411 141 0307 NUT HEX 4 1 M4
25 411 141 4107 WASHER V 5X10X1 2 FW5
26 411 141 6705 WASHER SPR 5 2 SW5
27 630 000 7770 BOLT,HEX-SCT 2 M5X20
28 630 000 7626 BOLT,HEX-SCT 8 M4X10
29 616 122 0653 BRACKET 1 648JB-11B-018 1CC2FC1006080
30 411 141 4107 WASHER V 5X10X1 2 FW5
31 411 141 6705 WASHER SPR 5 2 SW5
32 630 000 7749 BOLT,HEX-SCT 2 M5X10
33 616 122 1292 SPIRAL TUBE 1 648JC-11H-520 1CC2BF2001020
34 616 122 0998 COVER 1 648JC-11B-008 1CC2CA0504940
35 616 122 0783 BRACKET 1 648JB-11B-035 1CC2FC1005660
37 411 141 4503 WASHER V 8X17X1.6 4 FW8
38 411 141 3100 WASHER SPR 8 4 SW8
39 630 000 8036 BOLT,HEX-SCT 4 M8X30
40 616 122 0967 RAIL 1 648JC-11B-004 1CC2GG0500911
41 616 122 0974 SADDLE 2 648JC-11B-006 1CC2FC2000310
42 630 001 0206 WASHER 2 BW3
43 411 141 2806 WASHER SPR 3 2 SW3
44 630 000 7510 BOLT,HEX-SCT 2 M3X8
45 630 001 0206 WASHER 2 BW3
46 411 141 2806 WASHER SPR 3 2 SW3
47 630 000 7503 BOLT,HEX-SCT 2 M3X6
48 411 113 7501 SCR TRS 4X10 3 M4X10 TRS
49 616 121 6823 COVER 1 648BE-11B-012 1CC2CA0504731
50 411 141 4008 WASHER V 4X9X0.8 2 FW4
51 411 141 2905 WASHER SPR 4 2 SW4
52 630 000 7626 BOLT,HEX-SCT 2 M4X10
53 616 125 7826 BRACKET 1 648JC-11B-013 1CC2FC1005691
56 616 125 7970 PULLEY 1 648JC-11H-509 1CC2GD2004000
57 630 000 8944 SET SCREW 2 M5X6 SET
58 616 122 1278 BEARING UNIT 1 648JC-11H-514 1CC2GF5000260
59 630 000 8906 SET SCREW 2 M3X8 SET
60 411 141 4503 WASHER V 8X17X1.6 2 FW8
61 411 141 3100 WASHER SPR 8 2 SW8
62 630 000 8012 BOLT,HEX-SCT 2 M8X20
NOTE
7-2
9703-001
MODEL TIM-1000L

Key No. PART No. PART NAME Q'ty REMARKS REGISTERED No.
94 616 125 7833 BRACKET 1 648JC-11B-014 1CC2FC1005701
95 616 125 7871 SHAFT 1 648JC-11B-021 1CC2GK0503461
96 616 125 7987 PULLEY 1 648JC-11H-510 1CC2GD2003890
97 616 112 1394 BALL BEARING 1 648JC-11H-516 1CC2GF4000140
98 616 121 9626 RING C 12 1 648JC-11H-517 1CC2SC1000040
99 630 001 0244 WASHER 1 BW8
100 411 141 3100 WASHER SPR 8 1 SW8
101 411 141 0901 NUT HEX 8 1 M8
102 630 001 0244 WASHER 2 BW8
103 411 141 3100 WASHER SPR 8 2 SW8
104 630 000 8029 BOLT,HEX-SCT 2 M8X25
105 616 125 7918 BELT 1 648JC-11H-503 1CC2GD1504730
106 630 063 9872 COVER 1 648JC-11B-026
107 411 141 4305 WASHER V 6X12.5X1.6 2 FW6
108 411 141 3001 WASHER SPR 6 2 SW6
109 630 000 7886 BOLT,HEX-SCT 2 M6X16
110 411 141 4107 WASHER V 5X10X1 2 FW5
111 411 141 6705 WASHER SPR 5 2 SW5
112 630 000 7749 BOLT,HEX-SCT 2 M5X10
NOTE
7-2
9703-001
MODEL TIM-1000L