SM411 Introduction(Chi Ver1) - 第87页
Module Function 6-21 6.11. 压缩气动部分 空压一般设置为 0.45 ~ 0.55 Mpa 使用,通过设备后面下端的 Air Filter 供给。 供给空气的一部分使用于运行设 置在 Feeder Base 的 SM 给料器 , 一部分使用于驱动 ANC , 另外一部分使用于贴装头发生真空 , 其余一部分使用于 运行输送器的各 Stopper 及 Backup Table 。 图 6-16 压缩气动部分 注 意 …

Samsung Component Placer SM411 Introduction
6-20
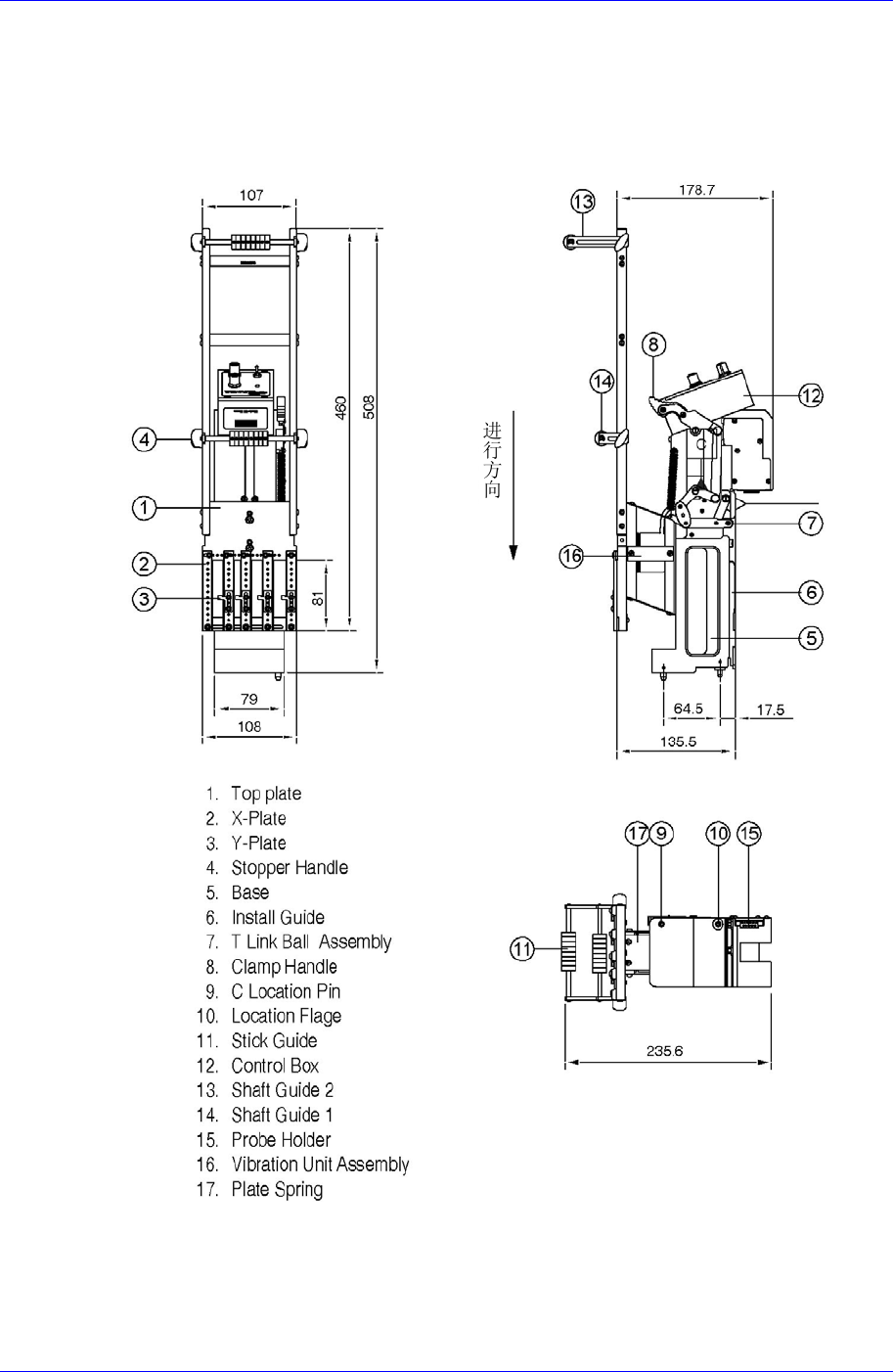
6.10.2. 振动杆式喂料器(Vibration stick feeder)
多数 vibration stick feeder 是把通过 Stick 来供应的 SOP, SOJ, PLCC 等部品,用震动
器的震动沿着直线方向移送的装备。它通过横向排列 Stick 的方法来供应部品,可
以排列 4 条 Stick。
图
6-15.
振动杆式喂料器
(Vibration stick feeder)
基准面

Module Function
6-21
6.11. 压缩气动部分
空压一般设置为 0.45 ~ 0.55 Mpa 使用,通过设备后面下端的 Air Filter 供给。
供给空气的一部分使用于运行设置在Feeder Base的SM给料器 , 一部分使用于驱动
ANC , 另外一部分使用于贴装头发生真空 , 其余一部分使用于运行输送器的各
Stopper及Backup Table。
图
6-16
压缩气动部分
注 意
如果压力低于适当标准,设备可能会无规律运行。一般来说
,合适的气压为0.45 ∼0.55 Mpa
Air Filte
r
Regulato
r
Pressure Gauge
Manifold

Samsung Component Placer SM411 Introduction
6-22
警 告
设备修理维护时气压和电源未切断可能导致人员严重受伤。
设备修理维护时一定要切断气压和电源。