4OM-993-007 - 第101页
(22) (22) (22) (22) (22) テープ送りユニット部 テープ送りユニット部 テープ送りユニット部 テープ送りユニット部 テープ送りユニット部 0507-002 1 - 39 AHL01JTRP Fig.4A46 1 .3 メンテナンスか所 ࡠ࠶࠼ࠛࡦ࠼ / ߆ߏߣޓ⛎ᴤ ࠳ࡈ࠾ࠛࡐࡀ࠶ࠢࠬࠣࠬ0Q ࠣࠬࠟࡦߢࠣࠬ࠾࠶ࡊ࡞߆ࠄᣂߒ ࠣࠬ…

0409-003 1-38 AHL01JTRP
1.3 メンテナンスか所
ࠞࡓࡈࠜࡠࠕޓޓޓޓޓޓޓޓޓޓ/
߆ߏߣޓ⛎ᴤ
࠳ࡈ࠾ࠛࡐࡀ࠶ࠢࠬࠣࠬ0Q
࠺ࠖࠬࡍࡦࠬࠟࡦߢࠣࠬࠍႣᏓߒߡߊߛ
ߐޕ
㧖↪ߔࠆࡁ࠭࡞ߪޔ0Q㧔ࠝࡉ⦡㧕ߢ
ޓߔޕ
࠾ࠕࠟࠗ࠼᳓ᐔ㕙/ޓޓ
߆ߏߣޓ⛎ᴤ
࠳ࡈ࠾ࠛࡐࡀ࠶ࠢࠬࠣࠬ0Q
#⛎ᴤⓣ
ޓࠣࠬࠟࡦߢࠣࠬࠍ⛎ᴤⓣߦᵈ
ޓߒߡߊߛߐޕ
ޓ
㧖↪ߔࠆࠕ࠲࠶࠴ࡔࡦ࠻ߪޔ7ᒻߣ2ᒻߢߔޕ
ޓ
ޓ
ฎࠣࠬࠍ࠙ࠛࠬߢ߰߈ขߞߡޔᣂߒ
ࠣࠬࠍ࠺ࠖࠬࡍࡦࠬࠟࡦߢࡏ࡞㕙ߦ
ޓႣᏓߒߡߊߛߐޕ
㧖↪ߔࠆࡁ࠭࡞ߪ0Q㧔⨥⦡㧕ߢߔޕ
⛎ᴤߪޔೋ࿁߆ᓟޔએ㒠߆ߏߣߦⴕߞ
ߡߊߛߐޕ
࠾ࠕࠟࠗ࠼ု⋥㕙/ޓ
߆ߏߣޓ⛎ᴤ
࠳ࡈ࠾ࠛࡐࡀ࠶ࠢࠬࠣࠬ0Q
#⛎ᴤⓣ
ޓࠣࠬࠟࡦߢࠣࠬࠍ⛎ᴤⓣߦᵈ
ޓߒߡߊߛߐޕ
ޓ
㧖↪ߔࠆࠕ࠲࠶࠴ࡔࡦ࠻ߪޔ7ᒻߣ2ᒻߢߔޕ
$ࡏ࡞㕙
ޓ
ฎࠣࠬࠍ࠙ࠛࠬߢ߰߈ขߞߡޔᣂߒ
ࠣࠬࠍ࠺ࠖࠬࡍࡦࠬࠟࡦߢࡏ࡞㕙ߦ
ޓႣᏓߒߡߊߛߐޕ
ޓ㧖↪ߔࠆࡁ࠭࡞ߪ0Q㧔⨥⦡㧕ߢߔޕ
⛎ᴤߪޔೋ࿁߆ᓟޔએ㒠߆ߏߣߦⴕߞ
ߡߊߛߐޕ
$ࡏ࡞㕙
#
$
#
$
7ᒻ 2ᒻ
7ᒻ
2ᒻ
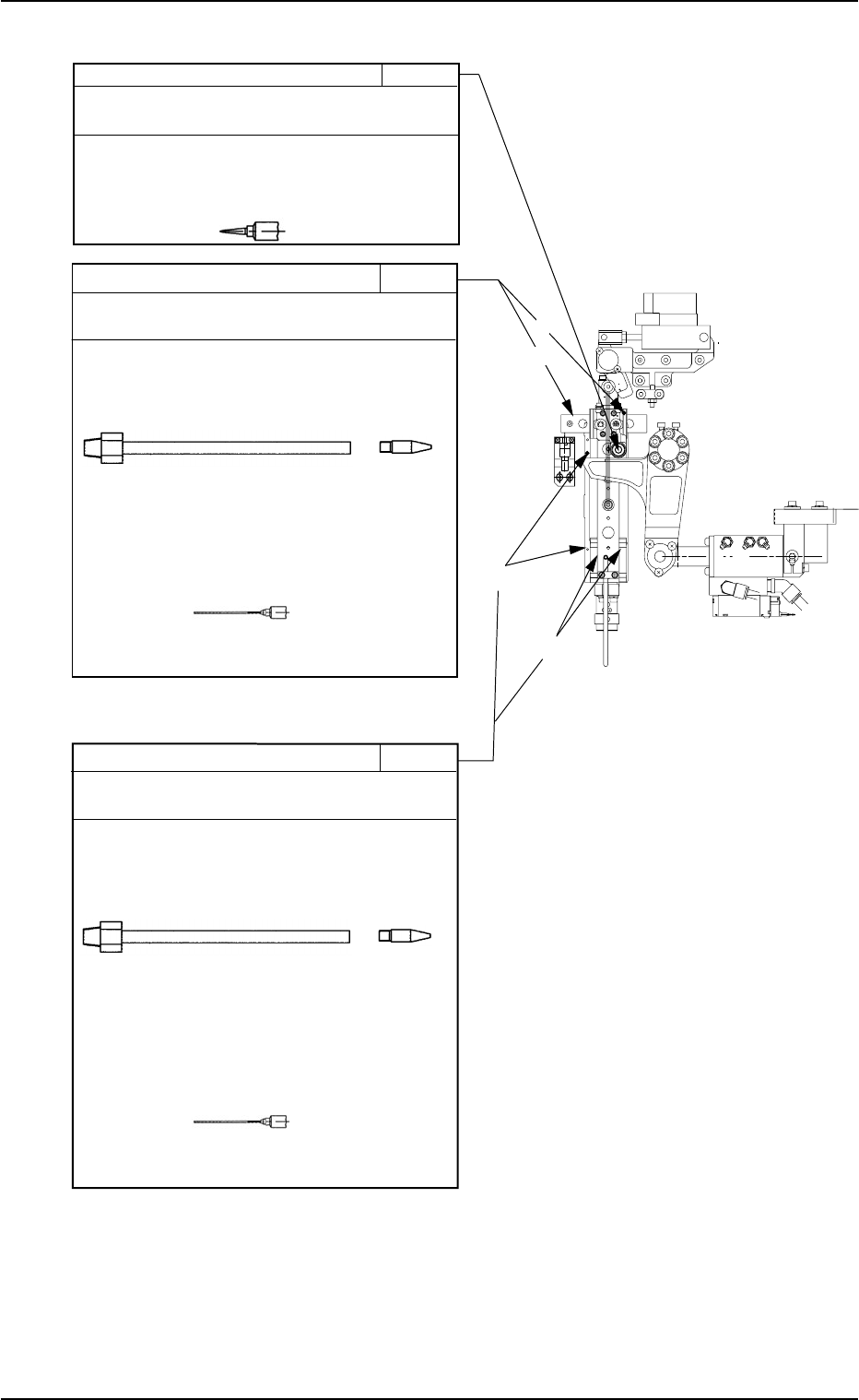
Fig.4A45 装着上下部

(22)(22)
(22)(22)
(22)
テープ送りユニット部 テープ送りユニット部
テープ送りユニット部 テープ送りユニット部
テープ送りユニット部
0507-002 1-39
AHL01JTRP
Fig.4A46
1.3 メンテナンスか所
ࡠ࠶࠼ࠛࡦ࠼/
߆ߏߣޓ⛎ᴤ
࠳ࡈ࠾ࠛࡐࡀ࠶ࠢࠬࠣࠬ0Q
ࠣࠬࠟࡦߢࠣࠬ࠾࠶ࡊ࡞߆ࠄᣂߒ
ࠣࠬࠍᵈߒߡߊߛߐޕ
㧖↪ߔࠆࠕ࠲࠶࠴ࡔࡦ࠻ߪޔ7ᒻߣ.ᒻޔ߹
ޓߚߪ7ᒻߣ8ᒻߢߔޕ
7ᒻ .ᒻ 8ᒻ
ࠬࡊࡦࠣ/
߆ߏߣޓ⛎ᴤ
࠳ࡈ࠾ࠛࡐࡀ࠶ࠢࠬࠣࠬ0Q
ฦࡃࡀߩฎࠣࠬࠍ࠙ࠛࠬߢ߈ขߞߡޔ
ᣂߒࠣࠬࠍᚻ߆ࡂࠤߢႣߞߡߊߛߐޕ
⛎ᴤߪޔೋ࿁߆ᓟޔએ㒠߆ߏߣߦⴕߞ
ߡߊߛߐޕ
࠹ࡊㅍࠅࠬ࠻࠶ࡄࡃవ┵ߣ/
ࠞࡓࡈࠜࡠࠕᄖベࠬ࠻࠶ࡄࡉࡠ࠶ࠢ
߆ߏߣޓ⛎ᴤޓࡕࡁ࠶ࠢࠣࠬ#2
ࠞࡓࡈࠜࡠࠕߩធ⸅㕙ߦޔ࠺ࠖࠬࡍࡦࠬࠟࡦߢࠣ
ࠬࠍႣᏓߒߡߊߛߐޕ
㧖↪ߔࠆࡁ࠭࡞ߪޔ0Q㧔⨥⦡㧕ߢߔޕ
ࡏ࡞ࠬࡊࠗࡦ/
߆ߏߣޓ⛎ᴤ
࠳ࡈ࠾ࠛࡐࡀ࠶ࠢࠬࠣࠬ0Q
ࠣࠬࠟࡦߢࠣࠬ࠾࠶ࡊ࡞߆ࠄᵈ
ߒߡߊߛߐޕ
㧖↪ߔࠆࠕ࠲࠶࠴ࡔࡦ࠻ߪޔ52-%ߢߔޕ
⛎ᴤߪޔೋ࿁߆ᓟޔએ㒠߆ߏߣߦ
ⴕߞߡߊߛߐޕ

(23)(23)
(23)(23)
(23)
ノズルガイド部 ノズルガイド部
ノズルガイド部 ノズルガイド部
ノズルガイド部
0507-002 1-40
AHL01JTRP
Fig.4A47
1.3 メンテナンスか所
ࡁ࠭࡞ࠟࠗ࠼ࠞࡓਅ㕙/
߆ߏߣޓ⛎ᴤࡕࡁ࠶ࠢࠣࠬ#2
Ფ߹ߚߪⵝ⟎ࠍ㐳ᦼ㑆㧔ㅳ㑆એ㧕ᱛߒߚᤨߪޔࠣࠬࠍㅊടߒ
ߡߊߛߐޕ
ࡁ࠭࡞ࠟࠗ࠼ࠞࡓਅ㕙ߦࠣࠬࠍᚻ߆ࡂࠤߢဋ৻ߦႣᏓߒޔࠛࠫ
ࡦࠣㆇォࠍታᣉߒߡߊߛߐޕ
ࠛࠫࡦࠣㆇォߦߟߡߪޔ╙✬㧦ᠲ㧔ࠬࡄࡃࠗࠩ㧕▵
̌ࠛࠫࡦࠣ̍࠲ࡉࠍෳᾖߒߡߊߛߐޕ
ᵈ㧦㘧ᢔߒߚࠣࠬߪ߈ขߞߡߊߛߐޕ