4OM-993-007 - 第113页
1 .4.4 1 .4.4 1 .4.4 1 .4.4 1 .4.4 吸着ノズルの取外しおよび取付け 吸着ノズルの取外しおよび取付け 吸着ノズルの取外しおよび取付け 吸着ノズルの取外しおよび取付け 吸着ノズルの取外しおよび取付け 吸着ノズルの取外しおよび取付けは、 操作電源 “入り” の状 態での作業となります。 危険ですので、作業は、必ず、1 人で行ってください。 吸着ノズルの取外し、取付け前には、その作業か所の下部にウエ スをしいて…

/×
ࡏ࡞࠻↪
න㧦OO
/×
ࡏ࡞࠻↪
φ
᧚⾰㧦#
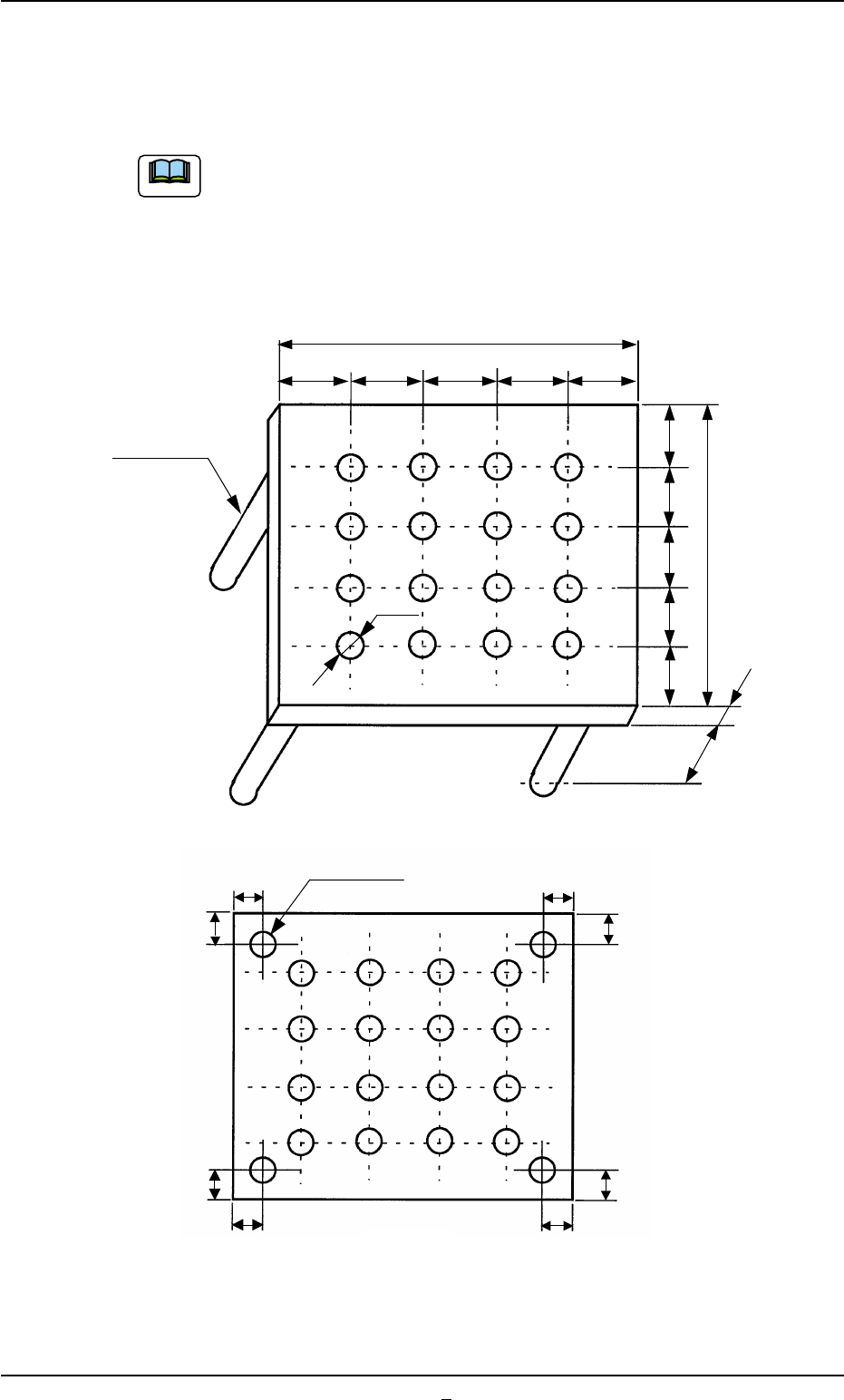
超音波洗浄方法
• 下図のようなノズル洗浄冶具にノズルをセットし、水を満たした超
音波洗浄機に治具ごと沈めて、約 15 分間洗浄してください。
ノズル洗浄治具はお客様にてご用意願います。
• 超音波洗浄後、ノズルをエアブローしてください。
水分がノズルに付着している場合、ウエスなどで拭き取ってくださ
い。
(全体図)
(下面図)
Fig.4A63-1 ノズル洗浄治具(例)
ࡁ࠻
1.4 メンテナンス方法
0409-001 1-48-1 AHL01JTRP

1.4.41.4.4
1.4.41.4.4
1.4.4
吸着ノズルの取外しおよび取付け吸着ノズルの取外しおよび取付け
吸着ノズルの取外しおよび取付け吸着ノズルの取外しおよび取付け
吸着ノズルの取外しおよび取付け
吸着ノズルの取外しおよび取付けは、操作電源“入り”の状
態での作業となります。
危険ですので、作業は、必ず、1 人で行ってください。
吸着ノズルの取外し、取付け前には、その作業か所の下部にウエ
スをしいてください。
吸着ノズルが落下すると紛失する原因となります。
(1)吸着ノズルの取外し
(1-1)“ユニット調整”サブメニュー → “ヘッド/ ノズル”タブ
→ “ノズル清掃”タブシートを表示します。
Fig.4A64 “ノズル清掃”タブシート
(1-2)*4[XY テーブル待避]ボタンを選択し、作動[ON]ボタンを押
した後、 2秒以内に操作パネルの[ENABLE]ボタンを押してく
ださい。
XY テーブルが待避します。
(1-3)*1[全ヘッド]ボタンと、取外したい*2[ノズル#]ボタンを指
定してください。
1.4 メンテナンス方法
0507-003 1-49 AHL01JTRP
注意
ᵈᗧ
*4
*3
*5
*6
*7
*1
*2
*8

(1-4)*3[指定ヘッド/ノズル出し]ボタンを選択し、作動[ON]ボタ
ンを押した後、 2秒以内に操作パネルの[ENABLE]ボタンを押
してください。
ノズルが、取外しやすい位置(装置の手前側)に回転します。
任意のヘッドのノズルを取外したい場合は、任意の
[ヘッド #]ボタンを押します。
(1-5)[OPERATION]スイッチは、“SETUP”側にしてください。
前面操作パネルの[LOCK]ランプが点灯していることを確認し
てください。
(1-6)正面扉を開きます。
(1-7) ノズル外し治具を下から軽く押し上げて吸着ノズルにセッ
トします。
吸着ノズルの2面取り面にフックが掛かるように正しくセッ
トしてください。
(a) 吸着ノズルを取外すとき、拡散板にキズを付けな
いように注意してください。
ノズル外し冶具を回転させながら外すと、拡散板
を傷つける場合があります。
(b) ノズル外し治具は、ノズルタイプ 031(φ 6 ノズル)
には使用できません。手で外してください。
1.4 メンテナンス方法
0507-002 1-50 AHL01JTRP
ࡁ࠻
ࡁ࠭࡞
ᄖߒᴦౕ
ࡈ࠶ࠢ
ᢔ᧼
㧔ᱜ㕙࿑㧕
㧔㕙࿑㧕
ๆ⌕ࡁ࠭࡞
㕙ขࠅ㕙
ࡁ࠻
Fig.4A65
Fig.4A65-1