00193634-0302 OM MTC2 DE - 第39页
Betriebssicherheit NOT-HALT-Taster Sicherheitseinrichtungen SIPLACE MTC2 Bedienungsanleitung 39 2.5.2 NOT -HAL T -T aster Der NOT-HALT-Taster ist ve rrastend und mit Über listungsschutz nach EN 418 ausgeführt. Der ro te,…

Betriebssicherheit
Sicherheitseinrichtungen MTC 2 nur innerhalb des Bestückautomaten verwenden
38 SIPLACE MTC2 Bedienungsanleitung
2.4.13 MTC2 nur innerhalb des Bestückautomaten verwenden
2.5 Sicherheitseinrichtungen
2.5.1 Schutztüren
Beide Türme sind mit jeweils einer Schutztür versehen. Beim Öffnen der Schutztür wird der
entsprechende Turm spannungslos geschaltet. Am Bildschirm erscheint die Fehlermeldung "Turm x:
Schutztür nicht geschlossen". Der nicht betroffene Turm arbeitet währenddessen den begonnenen
Zyklus zu Ende. Nach dem Schließen der Schutztür, mit Hilfe der Griffmulden in den Türen, muss der
Ablauf erneut gestartet werden.
GEFAHR: MTC2 nur innerhalb des Bestückautomaten verwenden
Der MTC2 darf nur innerhalb des SIPLACE Bestückautomaten in Betrieb genommen werden.
Alle Abdeckungen und Sicherheitseinrichtungen müssen komplett montiert sein. Jeglicher
Betrieb außerhalb des SIPLACE Bestückautomaten ist nicht zulässig.
VORSICHT:
Die Schutztüren des MTC2 dürfen nur geöffnet werden, wenn Sie am Bildschirm des
Stationsrechners dazu aufgefordert werden oder der MTC2 ausgeschaltet ist.
2-7: Schutztüren
Legende
1. Schutztüren
2. Griffmulden

Betriebssicherheit
NOT-HALT-Taster Sicherheitseinrichtungen
SIPLACE MTC2 Bedienungsanleitung
39
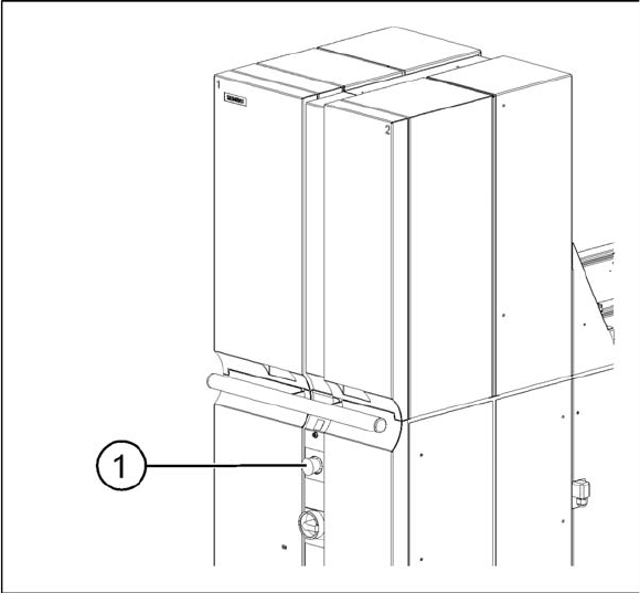
2.5.2 NOT-HALT-Taster
Der NOT-HALT-Taster ist verrastend und mit Überlistungsschutz nach EN 418 ausgeführt. Der rote,
pilzförmige Knopf bleibt nach Betätigung in dieser Position eingerastet.
Bei Betätigung des NOT-HALT-Tasters wird die gesamte Anlage mit SIPLACE-Station und MTC2 sofort
gestoppt. Die Bestückung wird unterbrochen und kann fortgesetzt oder abgebrochen werden, wenn die
Maschine wieder funktionsfähig ist. Achten Sie dabei auf evtl. unvollständig bestückte Leiterplatten.
Bei Betätigung des NOT-HALT-Tasters öffnen die beiden Schaltkontakte der Sicherheitskreise und die
entsprechende Sicherheitskombination löst aus. Die Zwischenkreisspannungen (500 V) für die
Umrichter werden abgeschaltet. Beide Hub- und Zuführachsen werden deaktiviert, während die Logik
der Umrichter wird weiterhin mit 24 V DC versorgt wird. Am Bildschirm wird die Meldung "NOT-HALT
betätigt" ausgegeben.
2-8: Lage des NOT-HALT-Tasters
Legende
1. NOT-HALT-Taster

Betriebssicherheit
Sicherheitseinrichtungen Schutztürenschalter
40 SIPLACE MTC2 Bedienungsanleitung
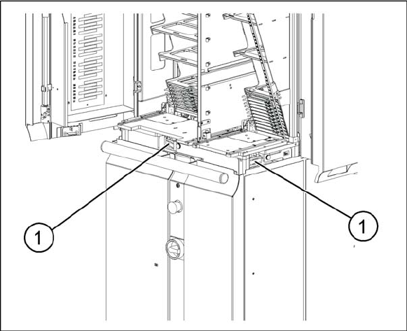
2.5.3 Schutztürenschalter
Diese Schalter überprüfen, ob die beiden Schutztüren geschlossen sind. Sind die Türen geschlossen,
dann ist der Sicherheitskontakt und der Meldekontakt geschlossen. Beim Öffnen einer der Türen wird
der Sicherheitskreis und der Meldekreis geöffnet. Die entsprechende Sicherheitskombination löst aus
und schaltet den Turm spannungslos. Am Bildschirm erscheint die Fehlermeldung
Turm x: Schutztür
nicht geschlossen
.
Um eine einwandfreie Funktion der Schutztürenschalter zu gewährleisten, ist das Öffnen und das
Schließen der Schutztüren nur durch Fassen an den Griffmulden zulässig.
2-9: Lage der Schutztürenschalter
Legende
1. Schutztürenschalter