CM212-M - 第143页
Ref No. Remark s R 1 Q'ty 1-E 汎用 ヘ ッ ド ( 8ノズ ル ) High-flex ibil ity Head ( 8 Nozzles ) イラスト No. Part No. 品 名 品番 数量 R 2 パーツリスト Kit N o . キット 品 番 Kit Name キット名称 N610055234AA Part Nam e 備 考 セクションN o. PARTS LIST Section…

1-E
汎用
ヘ
ッ
ド
(
8ノズル
)
High-flexibility Head ( 8 Nozzles )
パーツレイアウト
Kit No.
キット品
番
Kit Name
キット名称
N610055234AA
セクションNo.
PARTS LAYOUT
Section No.
--
S9
( KN610055234AA-24-5 )

Ref
No.
Remarks
R
1
Q'ty
1-E
汎用
ヘ
ッ
ド
(
8ノズル
)
High-flexibility Head ( 8 Nozzles )
イラスト
No.
Part No.
品 名品番 数量
R
2
パーツリスト
Kit N
o
.
キット品
番
Kit Name
キット名称
N610055234AA
Part Name
備 考
セクションNo.
PARTS LIST
Section No.
R
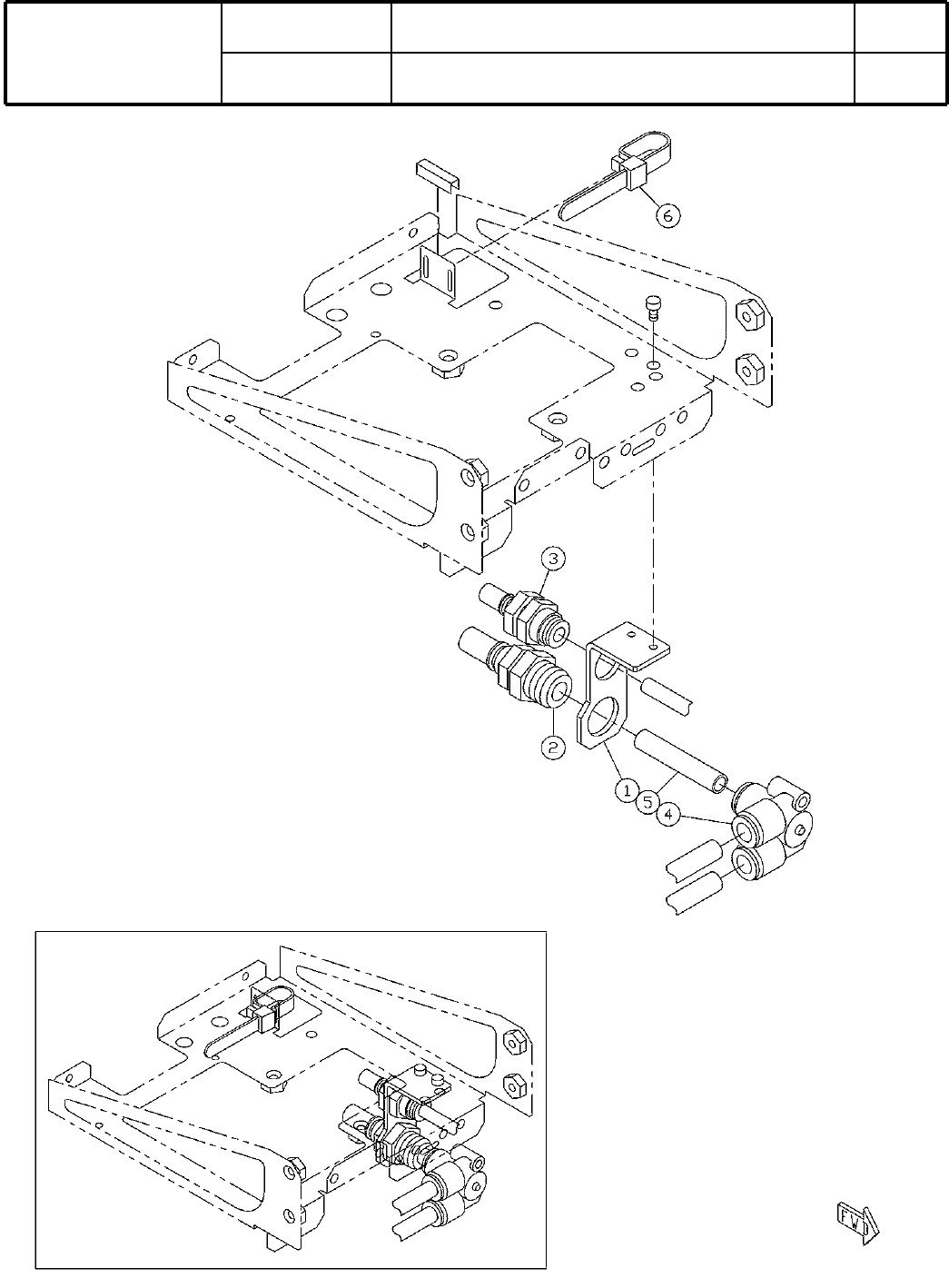
3
MANIFOLD
1
1 KXFB0AN1A00
BRACKET
1
2 N210010111AD
BRACKET
1
3 N210010113AD
COVER
1
4 N210010114AB
PLATE
1
5 N210010115AB
BRACKET
1
6 N210026970AA
GUIDE
1
7 N210026973AA
COVER
1
8 N210010117AC
BRACKET
1
9 N210016027AD
PLATE
1
10 MTPB001986AB
STOPPER
3
11 N210026972AA
STOPPER
1
12 N210026971AB
JOINT
2
13 N510065541AA KQ2U06-08A
SPACER
5
14 N510063086AA ASL-360BE
SPACER
5
15 N510063087AA CL-305BE
SCREW
4
16 N510018283AA
Cross recessed Truss head machine screw M4X8-4.8 A2S (Trivalent)
FAN
1
17 KXF0DHHAA00
S
109L0624H402(DA 0DHHA)
SCREW
4
18 N510018254AA
Cross recessed Truss head machine screw M3X6-4.8 A2S (Trivalent)
SPACER
4
19 N510015279AA ASF-310E
JOINT
1
20 N510066470AA KQ2L06-01AS
PLUG
2
21 KXF02TGAA00 M-5P
JOINT
8
22 KXF0CSYAA00 KJS23-M5
SPACER
4
23 N510017060AA ASF-326E
SPACER
2
24 N510015651AA CF-410E
CABLE-SUPPORT
1
25 KXF0DGAAA00 HV-125
CLAMP
1
26 KXF0DUTAA00 CKS-07-L
SPACER
4
27 KXF0E156A00 CL-316B
SCREW
4
28 N510018278AA
Cross recessed Truss head machine screw M4X5-4.8 A2S (Trivalent)
S10
--
( KN610055234AA-24-5 )

2
高
速ヘッド
接続
ユニット:ボールネジ対応
High-Speed Head Connection Unit:for Ball Screw
パーツレイアウト
Ki
t
N
o
.
キット
品番
Kit Name
キット名称
KXFX0643A00
セクションNo.
PARTS LAYOUT
Section No.
S11