D1 upgrade kit WPC4_20211122_070422

D1 upgrade kit WPC4 Page 1 / 8 22.11.2021

100%1 / 8
D1 upgrade kit WPC4
Page 1 / 8 22.11.2021
D1 upgrade kit WPC4
Page 2 / 8 22.11.2021
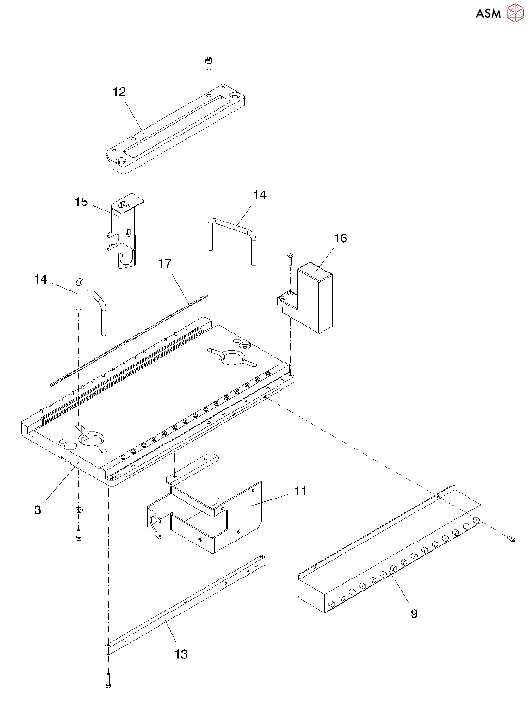
D1 upgrade kit WPC4
Page 3 / 8 22.11.2021