STF-100NA_User Manual(Chi) - 第151页
A /S 器具 资 材信息 11 - 4 9 11.1.25. Elevator Ass'y -Magazine Guide 组装完成图 SMT 顶级人脉圈平台资料下载

High Speed Multi Tray Feeder STF-100NA
用户手册
11-48
No.
TECHWIN
Part No.
JIINYOUNG
Part No.
Part Name Q'ty Type ( Specification) Remark
1 MC06-001019A JW100N-MMO01-007 BUSHING 2
∅8*2T
2 FC29-006416A JW100N-MMO01-102 LATCH 2 J9065092A
SMT顶级人脉圈平台资料下载

A
/S
器具资材信息
11-49
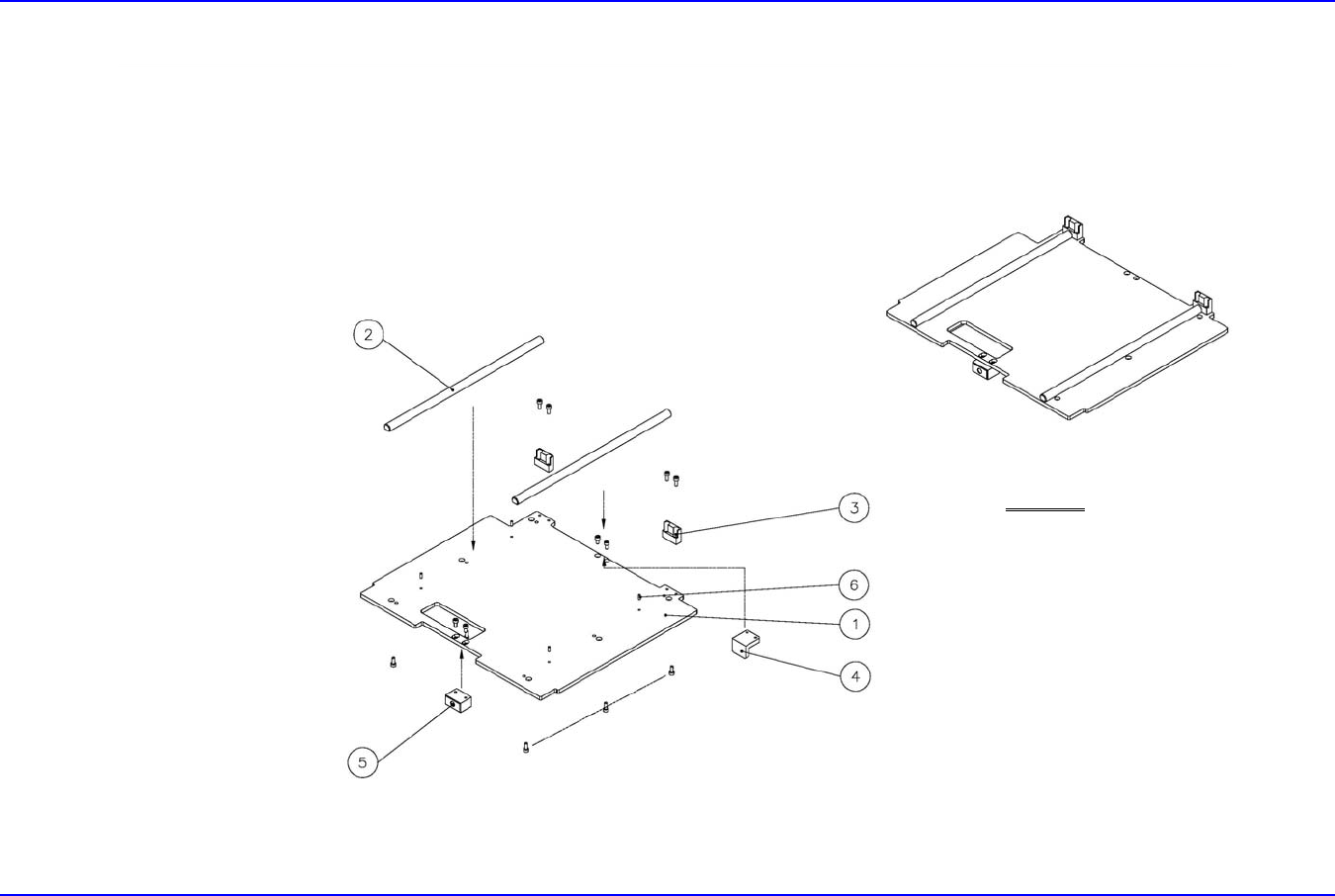
11.1.25. Elevator Ass'y -Magazine Guide
组装完成图
SMT顶级人脉圈平台资料下载

High Speed Multi Tray Feeder STF-100NA
用户手册
11-50
No.
TECHWIN
Part No.
JINYOUNG
Part No.
Part Name Q'ty Type ( Specification) Remark
1 JW100N-MEL02-001 BASE PLATE 1 375*322*6T
2 JW100N-MEL02-003 GUIDE RAIL 2 Φ12*310
3 FC29-006424A JW100N-MEL02-004 STOPPER 2 28*23*10
4 FC29-006425A JW100N-MEL02-005 STOPPER 1 30*27*23
5 FC07-003060A JW100N-MEL02-006 BLOCK 1 30*23*16
6 AM03-018713A
JW100N-MEL02-102 PIN 4
∅3*8L
SMT顶级人脉圈平台资料下载