00191024-01 - 第347页
8 Bauelemente-Bereitstellung Betriebsanleitung SIPLACE 80 8.5 Gurtcontainer (neue Gruppe) Ausgabe 07/97 ab Softwareversion SR.010.xx 8 - 18 HINWEIS Bei gro ßen Gur tmodulen (> 5") müssen die Stec kach sen ver wen…

Betriebsanleitung SIPLACE 80 8 Bauelemente-Bereitstellung
Ausgabe 07/97 ab Softwareversion SR.010.xx 8.5 Gurtcontainer (neue Gruppe)
8 - 17
8.5 Gurtcontainer (neue Gruppe)
8.5.1 Allgemeines
Es können Spulen mit einem Spulendurchmesser von 15" verwendet werden.
8.5.2 Übersicht
Abb. 8.5.1 Gurtcontainer - Draufsicht
- Legende zu Abb. 8.5.1
➀
Steckachsen sind den Gurtmodulen zugeordnet
–
Teilungsabstand für Zwischenbleche halbiert (15,8 mm)
–
Spulendurchmesser bis max. 15" verarbeitbar
–
15"-Spulen nur im oberen Schlitz oder Auflage auf den Stangen
–
Trennwände sind rückwärts kompatibel

8 Bauelemente-Bereitstellung Betriebsanleitung SIPLACE 80
8.5 Gurtcontainer (neue Gruppe) Ausgabe 07/97 ab Softwareversion SR.010.xx
8 - 18
HINWEIS
Bei großen Gurtmodulen (> 5") müssen die Steckachsen verwendet werden, um die Betriebssicherheit der
Förderer zu Gewährleisten.
Abb. 8.5.2 Gurtcontainer - Seitenansicht (mit Gurt)

Betriebsanleitung SIPLACE 80 8 Bauelemente-Bereitstellung
Ausgabe 07/97 ab Softwareversion SR.010.xx 8.6 Wafflepack-Wechsler
8 - 19
8.6 Wafflepack-Wechsler
8.6.1 Übersicht
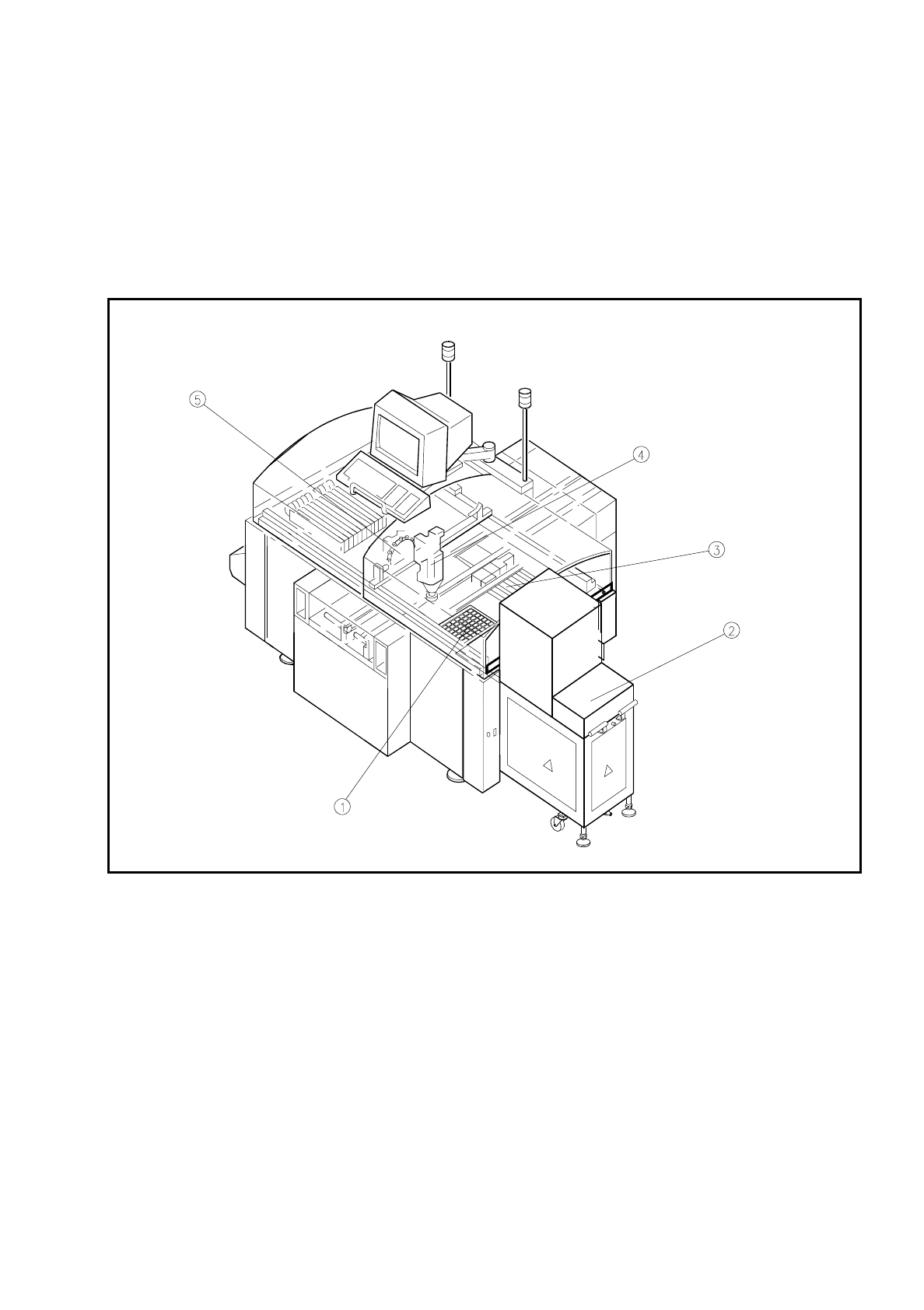
Abb. 8.6.1 Wafflepack-Wechsler an SIPLACE 80F3
- Legende zu
Abb. 8.6.1
➀
Wafflepack-Wechsler auf Stellplatz 1
➁
Wafflepack-Wechsler
➂
Stellplatz 2
➃
IC-Bestückkopf
➄
Revolverkopf