00191024-01 - 第554页
Betriebsanleitung SIPLACE 80 S/F/G 11 Stationserweiterungen Ausgabe 07/97 ab Softwarevers ion SR.010.xx 11.6 Keramiksubs trat-Zentri erung 11 - 25 11.6 Ke ramiksubstrat-Zentrierung 11.6.1 Allgemeines Die Keram iksubs tra…

11 Stationserweiterungen Betriebsanleitung SIPLACE 80 S/F/G
11.5 Flip-Chip-Visionmodul Ausgabe 07/97 ab Softwareversion SR.010.xx
11 - 24
11.5.2 Sicherheitshinweise zu den BE-Visionsystemen am 80F-Automaten
GEFAHR
∆
!
∆
!
∆
!
An den Sicherheitseinrichtungen des 80F-Automaten oder am IC- bzw. Flip-Chip-Modul dürfen keinerlei
Änderungen oder Manipulationen vorgenommen werden!
Die optische Strahlung des IC- bzw. Flip-Chip-Sensors entsprechen der Laserklasse 1, solange sie fest in der
Maschine installiert sind (EN 60825-1 bzw. IEC 825).
Abb. 11.5.2 Kennzeichnung der Laserklasse 1
❏
Laser Klasse 1

Betriebsanleitung SIPLACE 80 S/F/G 11 Stationserweiterungen
Ausgabe 07/97 ab Softwareversion SR.010.xx 11.6 Keramiksubstrat-Zentrierung
11 - 25
11.6 Keramiksubstrat-Zentrierung
11.6.1 Allgemeines
Die Keramiksubstrat-Zentrierung wird verwendet, um Keramiksubstrate positionsstabil und materialschonend
in x- und y-Richtung zu arretieren. Auch können Keramiksubstrate bis zum Substratrand bestückt werden.
11.6.2 Wechsel von Keramiksubstrat auf Leiterplatte
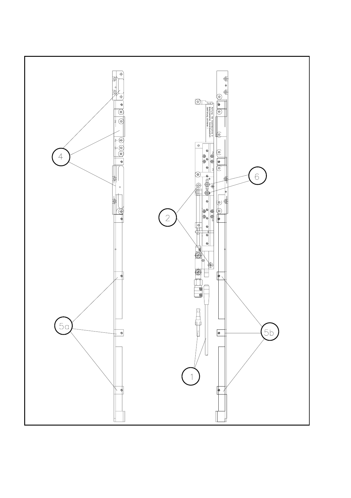
●
Stecken Sie die Pneumatikleitung und die elektrische Anschlußleitung ab (siehe Punkt 1 in Abb. 11.6.1).
●
Entfernen Sie die Keramiksubstrat-Zentrierung (siehe Punkt 2 in Abb. 11.6.1).
●
Demontieren Sie die Basis der Keramiksubstrat-Zentrierung (siehe Punkt 3 in Abb. 11.6.2).
●
Entfernen Sie die drei Klemmteile (siehe Punkt 4 in Abb. 11.6.1) und montieren Sie die Standardführung
an diese Stelle.
●
Montieren Sie die Niederhalterwinkel (siehe Punkt 5a und 5b in Abb. 11.6.1).
●
Stellen Sie die Größe der Leiterplatte ein (siehe Punkt 6 in Abb. 11.6.1).
●
Zur Bedienung in den "Einzelfunktionen" siehe auch Abschnitt 6.4 "Transportfunktionen" dieser Betriebs-
anleitung.
11.6.3 Wartung
-
Die Kugelumlaufführung in der X-Zentrierung muß gereinigt und gefettet werden.
-
Den pneumatischen Antrieb bei Bedarf auf Leichtgängigkeit prüfen.
-
Führen Sie die Wartung des Transportes durch, wie dies in Abschnitt 9.3.2 Leiterplatten-Transport
beschrieben ist.

11 Stationserweiterungen Betriebsanleitung SIPLACE 80 S/F/G
11.6 Keramiksubstrat-Zentrierung Ausgabe 07/97 ab Softwareversion SR.010.xx
11 - 26
Abb. 11.6.1 Gesamtübersicht (Draufsicht)