Nozzle changer C P20_20211123_110208 - 第7页
Nozzle changer C+P20 Page 7 / 8 23.11.2021 Pos. Item no. Description Part marking 00119715-04 NOZZLE CHANGER X-SERIES / C+P20 2 03014406-05 NC, CPL., C+P20 SPARE PART 3 03014399-03 BASIC ASSEMBLY/ NC C+P20 4 03014392-01 …

Nozzle changer C+P20
Page 6 / 8 23.11.2021

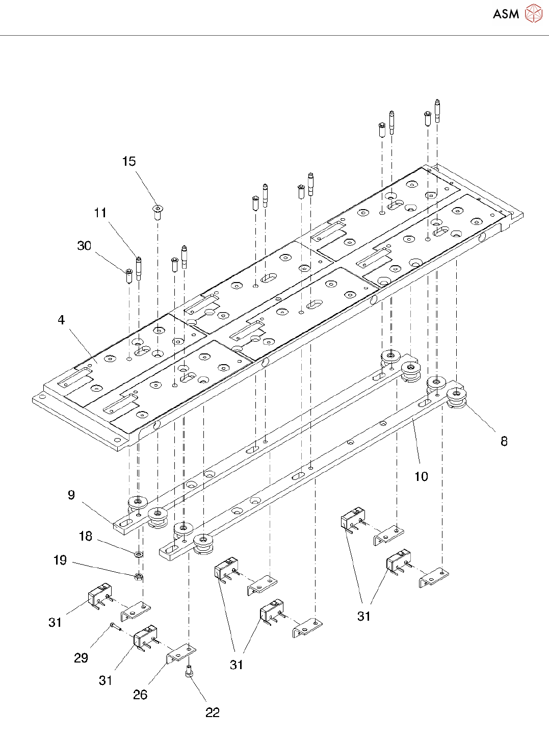
Nozzle changer C+P20
Page 7 / 8 23.11.2021
Pos. Item no. Description Part marking
00119715-04 NOZZLE CHANGER X-SERIES /
C+P20
2 03014406-05 NC, CPL., C+P20 SPARE PART
3 03014399-03 BASIC ASSEMBLY/ NC C+P20
4 03014392-01 MAGAZINE SUPPORT / NC C+P20
5 03013187-01 PLATE/ NC C+P20
6 03013445S01 LEVER COMPLETE SPARE PART
7 03001821-01 BALL FOR SNAP FASTENER SPARE PART
8 03012267-01 SLIDING GUIDE / NC C+P20
9 03013158-01 GUIDE RAIL / NC C+P20
10 03014657-01 GUIDE RAIL / NC C+P20
11 03014370-01 PIN
12 03013155-01 BRIGDE
13 03013132-01 DRIVE
14 00325721-01 DIN 7991-M5 X 20-8.8
15 00303401-01 COUNTERSUNK SCREW M4 X 10-8.8
17 00845029-01 HEXAGON SOCKET HEAD CAP
SCREW M4 X 25-8.8
18 00316904-01 DIN 125-A 3,2-140HV-A2
19 00321948-01 HEXAGON NUT M3
20 00312433-01 DIN 6325 - 2M5 X 20-ST
21 03014432-01 CHECK PLATE / NC C+P20
22 00845013-01 HEXAGON SOCKET HEAD CAP
SCREW M3 X 6-8.8
23 03006649-01 DIN 7991-M4 X 12-A2
24 03016830S01 VALVE CPL. SPARE PART
25 00310021-01 SILENCER U-M5 NR4645 STANDARD PARTS
26 03019944-01 RETAINING ANGLE SWITCH/NC
C+P20
27 03045735-04 PCB / CAN NC C+P20 SPARE PART
28 03016750-01 DISTANCE BOLT TYPE A I/I-
M2.5X12-MS NI
29 00344122-01 DIN912-M1.6 X 8-A2
30 03019615-01 SPRING PIN SHORT/NC C+P20
31 03020181-01 CABLE / SWITCH UNIT/NC C+P20
32 00845017-01 HEXAGON SOCKET HEAD CAP
SCREW

Nozzle changer C+P20
Page 8 / 8 23.11.2021
Pos. Item no. Description Part marking
33 00302449-01 HEXAGON SOCKET HEAD CAP
SCREW
34 00348664-01 DIN 7991-M2,5 X 10-A2
35 00359779-01 DIN 6325 - 3M6 X 10-ST
36 03020895-01 SUPPORT
37 03021608-01 CABLE / LED/NC C+P20
38 03021102-01 TUBE 4X0.75X148/NC C+P20
39 03021107-01 TUBE 4X0.75X135/NC C+P20
40 00334212-01 KABEL: STEUERPL.
PIPETTENWECHS. - VENTIL
03015388S06 BOARD / 1-WIRE NC C+P SPARE PART
41 03013156-01 COVER PLATE / NC C+P20
42 03016240-01 DIN 7991-M3 X 6-A2
43 00306631-01 HEXAGON SOCKET HEAD CAP
SCREW M5*14
44 03016831S05 MAGAZINE COMPLETE SPARE PART
03021003-01 TUBE COUPLER RTU-PK-3/4
03032029-01 TUBE HT PUN-6 L=40 MM
00194482-01 UPGRADE INSTR. NOZZLE
CHANGER X-SERIES, G+E
00119716-02 NOZZLE CHANGER X-SERIES /
C+P20
48 03014406-05 NC, CPL., C+P20 SPARE PART
03005337-03 MOUNT, NC OPTION SPARE PART
50 03031981-01 MOUNT FOR NZ
51 03021079-01 NOZZLE CHANGER SHIM PLATE SPARE PART
52 03021044-01 NC DETACHABLE BACKING PLATE SPARE PART
53 03032820-02 MOUNT, NC REJECT BOX,
ADJUSTABLE
SPARE PART
Powered by TCPDF (www.tcpdf.org)