PTS-NXT3c-07 - 第62页
㸨㹋㹁㸮㸳㸿ࠉ㸯㸰㸱㸲㸳㸴㸨 25 33 38 33.1 43 26 30 31 32 37 36 35 34 UG00329 ࣐࣮ࢡ࣓࢝ࣛ MARK CAMERA 6 2 P TS - N X T3 c - 0 7

STATION TYPE BRUSH UNIT (NA74A)
ブラシングユニット ステーションタイプ (NA74A)
2UGTYA000104
No. Drg.No. & Code No. QTY Description Rating Remarks
番号 図番 & コード番号 個数 品名 規格 備考
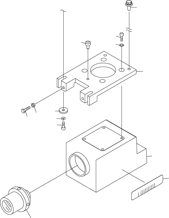
2 2MGTML001500 1 BKT
BKT
3 H54252 2 BOLT, HEX SOCKET
ボルト 六角穴
M03X008(3カ シロ)
4 W1106C 2 WASHER, LOCK
ワッシャ スプリング
3M/M(3カ シロ)
5 W1108D 2 WASHER, FLAT
ワッシャ 平
4W-3(3カ シロ)
6 2MGKMF000201 1 BLOCK
ブロック
7 H54251 2 BOLT, HEX SOCKET
ボルト 六角穴
M03X006(3カ シロ)
8 W1106C 2 WASHER, LOCK
ワッシャ スプリング
3M/M(3カ シロ)
9 PB098W1 1 SPACER
スペーサ
10 K5357X 2 SCREW, HEX SOCKET COUNTERSUNK
小ネジ 六角穴皿
M03X008(3カ シロ)
11 2MGTYA000601 1 BRUSH
ブラシ
12 H54253 2 BOLT, HEX SOCKET
ボルト 六角穴
M03X010(3カ シロ)
13 W1106C 2 WASHER, LOCK
ワッシャ スプリング
3M/M(3カ シロ)
14 W1108B 2 WASHER, FLAT
ワッシャ 平
3M/MX0.5X7(3カシロ)
15 A4068T 1 ELBOW
エルボ
M-5ALU-6
16 2MGKMF000700 1 TUBE
チューブ
17 S2160A 1 JOINT
ジョイント
M-5AU-6
61
PTS- NXT3c- 07

㸨㹋㹁㸮㸳㸿ࠉ㸯㸰㸱㸲㸳㸴㸨
25
33
38
33.1
43
26
30
31
32
37
36
35
34
UG00329
࣐࣮ࢡ࣓࢝ࣛ
MARK CAMERA
62
PTS- NXT3c- 07

MARK CAMERA
マークカメラ
UG00329
No. Drg.No. & Code No. QTY Description Rating Remarks
番号 図番 & コード番号 個数 品名 規格 備考
25 PH00393 1 BKT
BKT
26 2MGKGK000800 2 BOLT, HEX
ボルト 六角
30 H54256 2 BOLT, HEX SOCKET
ボルト 六角穴
M03X018(3カ シロ)
31 W1106C 2 WASHER, LOCK
ワッシャ スプリング
3M/M(3カ シロ)
32 PB41962 2 WASHER
ワッシャ
33 PM52692 2 BOLT
ボルト
33.1 N60017 2 NUT, HEX
ナット 六角
M04 P=0.5(3カシロ)
34 H54251 4 BOLT, HEX SOCKET
ボルト 六角穴
M03X006(3カ シロ)
35 W1010A 4 WASHER, CONICAL
ワッシャ 皿
M-3-L
36 2MGTGK000102 1 CAMERA
カメラ
37 XR00082 1 LENS
レンズ
38 PM52661 1 PIN, LOCATING
ピン 位置決め
43 PX01662 1 SEAL, BAR CODE
シール バーコード
unit serial number, MC05A
63
PTS- NXT3c- 07