Main- and sector distributor_20211124_034628

Main- and sector distributor Page 1 / 18 24.11.2021

100%1 / 18
Main- and sector distributor
Page 1 / 18 24.11.2021
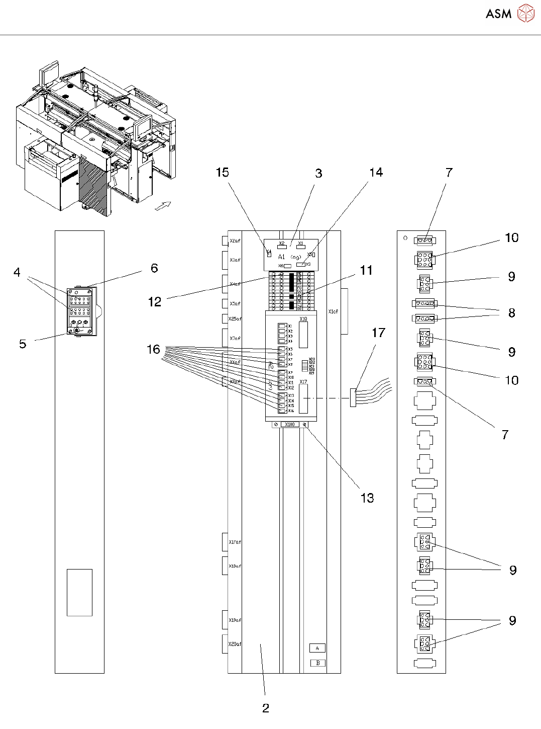
Main- and sector distributor
Page 2 / 18 24.11.2021
Main- and sector distributor
Page 3 / 18 24.11.2021