00193368-02 - 第31页
SIPLACE GEM for S25HM, S27HM, HS50, HS60 SW Version GEM 503.02 HOST Inter fac e Manual ©Siemens AG, all rights reser ved page 31 of 243 3.3.1 SIPLA CE Pro cess State Transitions # From Tr igger To Descrip tio n 1 Unk now…

SIPLACE GEM for S25HM, S27HM, HS50 , HS60 SW Version GEM 503.02
HOST Interface Manual
Page 30 of 243 ©Siemens AG, all rights reserved
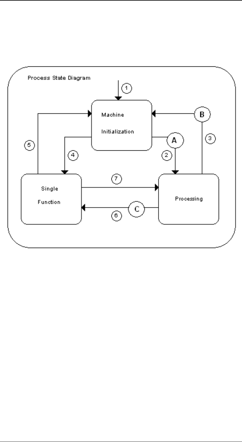
3.3 Process States
The Process State Diagram illustrates in detail the processing at the SIPLACE.
In some state transitions there will be an intermediate state (A, B, C) for a short time (see
charpter intermediate states).

SIPLACE GEM for S25HM, S27HM, HS50, HS60 SW Version GEM 503.02
HOST Interface Manual
©Siemens AG, all rights reserved page 31 of 243
3.3.1 SIPLACE Process State Transitions
# From Trigger To Description
1 Unknown Power-Up Machine
Initialization
At power-up, the Equipment
defaults to the
Machine
initialization
state.
2 Machine
Initialization
Machine is
ready
Processing All data is available to
produce a board. All
peripheral equipment like
the Vision system is
initialized and the machine
has finished the reference
runs correctly. In this state
the machine will start its
work, when a PCB is put on
the input conveyor
3 Processing new Data from
the Host
Machine
Initialization
New production data is sent
while the machine is
processing a board. The
board will be finished and
the machine will go to the
Machine initialization state
4 Machine
Initialization
a) Fatal Error
during machine
initialization
b) Stop-Button
on GUI
Single
Function
When a fatal error occurs
during machine initialization
it will automatically switch to
single function mode.
In the case that the
operator presses the Stop-
Button on the GUI, the
machine will first end the
board in the center
conveyor (if there is one)
and will then enter the
single function mode.
5 Single
Function
Start-Button on
GUI
Machine
Initialization
When the machine is in
single function mode, the
operator press the Start-
button and the Prestate
was machine Initialization
the machine will return to
the
Machine initialization
state.
6 Processing a) Fatal Error
during machine
initialization
b) Stop-Button
on GUI
Single
Function
When a fatal error occurs
during processing the
machine will automatically
switch to
single function
mode.
In the case that the
operator press the Stop-
Button on the GUI, the
machine will first end the
board in the center
conveyor (if there is one)
and will then enter the
single function mode.

SIPLACE GEM for S25HM, S27HM, HS50 , HS60 SW Version GEM 503.02
HOST Interface Manual
Page 32 of 243 ©Siemens AG, all rights reserved
# From Trigger To Description
7 Single
Function
Start-Button on
GUI
Processing When the machine is in
single function mode, the
operator press the Start-
button and the Prestate
was Processing the
machine will return to the
Processing state.
3.3.2 SIPLACE Process States
Machine Initialization
In this state, the peripheral equipment is initialized and the reference run is executed.
Machine is waiting for a processing program or is preparing a new processing program for
production.
Processing
In this state, the SIPLACE is producing a board or is waiting for a board to produce.
Single function
In this state, the Operator can teach fiducials, react on run-time-errors like empty feeders.
3.3.3 Intermediate States
In case of 3 State Transitions, an intermediate state will occur for briefly. This intermediate
state is required for internal reasons and is also reported:
State Transition 2 consists of
Init2Process
è Process2Init è Init2Process (see A in the diagram)
State Transition 3 consists of
Process2Init
è Init2Process è Process2Init (see B in the diagram)
State Transition 6 consists of
Process2Init
è Init2SingleFunction (see C in the diagram)
3.3.4 Related Variables
The following table lists the variables (SV's, EC's, or DVVALS) which are relevant to the
Equipment processing states. For a more complete description of these variables, see
"Chapter 6 Variables".
Variable Name VID
PREVIOUSPROCESSSTATE 1002012
PROCESSSTATE 1002011
3.3.5 Related Collection Events
The following lists the collection events (CEIDs) which are relevant to the Process State.
For a more complete description of these events, see "Appendix B -- Collection Events" or
the description in this chapter.