Gantry F5-HM_20211123_080141 - 第15页
Gantry F5-HM Page 15 / 20 23.11.2021 Pos. Item no. Description Part marking 1 00347271S01 BASE PORTAL F5-HM Spare Part 2 00334098-04 WELDED PART PORTAL S23 3 00346176-01 STOP F5-HM 4 00845024-01 HEXAGON SOCKET HEAD CAP S…

Gantry F5-HM
Page 14 / 20 23.11.2021

Gantry F5-HM
Page 15 / 20 23.11.2021
Pos. Item no. Description Part marking
1 00347271S01 BASE PORTAL F5-HM Spare Part
2 00334098-04 WELDED PART PORTAL S23
3 00346176-01 STOP F5-HM
4 00845024-01 HEXAGON SOCKET HEAD CAP
SCREW M4 X 8-8.8
5 00331943-01 LINEAR BEARING RAIL AND
CARRIAGE
6 00319710-01 HEXAGON SOCKET HEAD CAP
SCREW M5*16 INBUS-RIPP
7 00301086-01 SCALE X-AXIS SPARE PART
8 00301084-02 GROIN SPARE PART
9 00095160-01 HEXAGON SOCKET HEAD CAP
SCREW
10 00619841-01 PARALLEL PIN 3M5 X 8-ST
11 00305840-01 SLOTTED COUNTERSUNK HEAD
SCREW
12 00332239-01 FRICTION BLOCK BRACKET X-AXIS
F4/6
SPARE PART
13 00319741-01 FRICTION BLOCK FOR X-AXIS
14 00331817-03 KAMERAHALTER FUER S25 U. F5HM SPARE PART
15 00304071-01 COMPRESSION SPRING 0.9*4.5*24.3
V2A
16 00201533-01 HEXAGON SOCKET HEAD CAP
SCREW M2 X 5-A2
17 00095379-01 SET SCREW
18 00095566-01 HEXAGON NUT
19 00313857-01 HEXAGON SOCKET HEAD CAP
SCREW M5 X 8-8.8
20 00845044-01 HEXAGON SOCKET HEAD CAP
SCREW M5 X 16-8.8
21 00349456-05 SCANNER HEAD DIGITAL X-AXIS SPARE PART
22 00845019-01 HEXAGON SOCKET HEAD CAP
SCREW
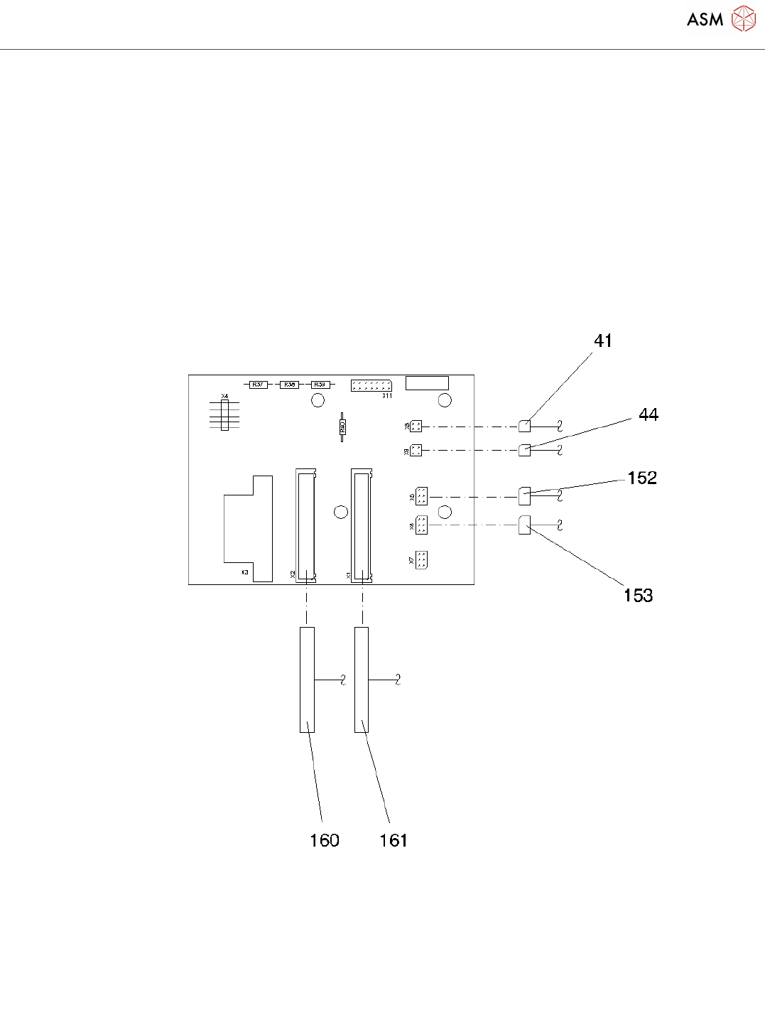
24 00845015-01 HEXAGON SOCKET HEAD CAP
SCREW M3 X 10-8.8
25 00300609-05 PROXIMITY SWITCH: END POSITION
X-AXIS
SPARE PART
26 00845004-01 HEXAGON SOCKET HEAD CAP
SCREW M2 X 8-A2
27 00344065S03 PCB-OPTICAL SYSTEM KST SPARE PART

Gantry F5-HM
Page 16 / 20 23.11.2021
Pos. Item no. Description Part marking
28 00316823-03 LP ILLUMINATION CAMERA UP SPARE PART
30 00334129S02 HEAD BRACKET S23/F5HM
MOUNTED
Spare Part
31 00619852-01 PARALLEL PIN 4M5 X 10-ST
32 00095034-01 HEXAGON SOCKET HEAD CAP
SCREW M5 X 12-8.8
33 00343985-01 SYNCRONIZING DISK X 32AT5/13-0 SPARE PART
34 00845012-01 HEXAGON SOCKET HEAD CAP
SCREW M3 X 5-8.8, COPPER + NI-
PLATED
35 00095471-01 PLAIN WASHER A 3.2-140HV-ST
36 00200468-02 WRENCH TOOL
37 00095472-01 PLAIN WASHER A 4.3-140HV-ST
38 00308578-01 HEXAGON SOCKET HEAD CAP
SCREW M4*5
39 00200525-01 ELASTOMER SPRING D20X8,5 90
SHORE A
SPARE PART
40 00317963-03 CONTACT RIGHT SIDE SPARE PART
41 00321578-04 CABLE: LIMIT SWITCH X-AXIS SPARE PART
42 00301040-01 ELASTOMER SPRING 25*10,5*50
(90 SHORE A)
SPARE PART
43 00317964-03 CONTACT METAL LEFT SIDE SPARE PART
44 00321577-04 CABLE: LIMIT SWITCH X-AXIS SPARE PART
45 00334514-05 BELT GUIDE X-AXIS SPARE PART
46 00334545S01 AXIS FOR PICK-UP PULLEY S23 SPARE PART
47 00322618-01 ADJUSTING SHIM 8*14*1
48 00095473-01 PLAIN WASHER A 5.3-140HV-ST
49 00845042-01 HEXAGON SOCKET HEAD CAP
SCREW M5 X 10-8.8
50 00334495-05 BELT GUIDE X-AXIS S23/F5HM SPARE PART
51 00200469S03 AXIS SPARE PART
52 00304455-01 DIN 988-6X12X0,5-ST 2 K 50 STANDARD PARTS
53 00305782-01 DIN 988-6X12X0.1-ST 2 K 50
54 00305781-01 DIN 988-6X12X0,2-ST 2 K 50 STANDARD PARTS
55 00305701-01 DIN 988-6X12X0,3-ST 2 K 50 STANDARD PARTS
56 00305131-01 DIN 988-6X12X1-ST 2 K 50 STANDARD PARTS
57 00334153S04 MOTOR X-AXIS S23 COMPLETE SPARE PART
58 00306631-01 HEXAGON SOCKET HEAD CAP