SP60P-M Mechanical 20120628 - 第110页
14 基 板吸着 下 受 ブロック(M) Board Vacuum Su pport Block (M) パーツレイアウト Kit N o . キット品 番 Kit N am e キット名称 KXFX 039U A00 セクションNo. PARTS LAYOUT Section No. - - M91 ( KKXFX039UA00-02 )

Ref
No.
Remarks
R
1
Q'ty
13
手前左→右
流
れ仕様&基
板
ストッパ
Front Reference Left-to-Right Flow & PCB Stopper
イラスト
No.
Part No.
品 名品番 数量
R
2
パーツリスト
Kit N
o
.
キット品
番
Kit Name
キット名称
KXFX039QA00
Part Name
備 考
セクションNo.
PARTS LIST
Section No.
R
3
BASE
1
1 KXFB0369A01
PLATE
1
2 KXFB036CA00
STOPPER
1
3 KXFB036HA01
ROD
1
4 KXFB036JA00
HOUSING
1
5 KXFB036KA02
COLLAR
1
6 KXFB007DA00
STOPPER
1
7 KXFB007EA02
PIN
1
8 KXF02YKAA00 MS5-20
PLATE
1
9 N210022117AA
BLOCK
1
10 KXFB01Z5A00
D-PIN
1
11 N210022080AA
JIG
1
12 KXFB036PA00
BRACKET
1
13 KXFB036RA01
BRACKET
1
14 KXFB036SA01
BRACKET
2
15 KXFB00JJA00
PLATE
1
16 KXFB036UA01
COVER
1
17 KXFB036WA00
BRACKET
1
18 N210014887AA
CYLINDER
1
19 KXF09TRAA00 CQ2B25-5D
KEY
1
20 KXF0DWJZA00 KEGS2-10
SCREW
2
21 N510018279AA
Cross recessed Truss head machine screw M4X6-4.8 A2J (Trivalent)
BEARING
2
22 KXF00MWAA00 698ZZ
AIR-SLIDE
1
23 N510023533AA MXP10-20-M9NS-X1054
JOINT
14
24 KXF02SZAA00 M-5ALU-4
CYLINDER
1
25 KXF0DZBAA00 CJPB15-DCG8017G-15(DDA)
SPRING
1
26 KXF0DWK1A00 DE556
TUBE-HOLDER
1
27 KXF03QHAA00 TM-04
JOINT
5
28 KXF05X7AA00 M-5E
SCREW
1
29 N510018438AA
Hexagon socket set screw Flat point M4X6-45H A2J
PIN
2
30 KXF02Y6AA00 MS4-10
SENSOR
1
32 N510053821AA
A
E3T-SR42R-S
SCREW
2
33 N510017253AA
Hexagon socket head cap screw M2X10-10.9 A2J (Trivalent)
PIN
1
34 KXF0525AA00 SPP2-6
PLATE
1
35 N610098366AA
SPEED-CONTROLLER
1
36 KXF06NKAA00 AS1311F-M5-04S
SCREW
6
37 N510018136AA
Cross recessed Countersunk head machine screw M2X4-4.8 A2J (Trivalent)
BOLT
2
38 N510019939AA WA SOCKET SP TYPE M4X8-10.9 A2J (Trivalent)
BOLT
1
39 N510017513AA
Hexagon socket button head screw M3X6-10.9 A2J (Trivalent)
M90

14
基
板吸着
下
受
ブロック(M)
Board Vacuum Support Block (M)
パーツレイアウト
Kit N
o
.
キット品
番
Kit Name
キット名称
KXFX039UA00
セクションNo.
PARTS LAYOUT
Section No.
--
M91
( KKXFX039UA00-02 )

Ref
No.
Remarks
R
1
Q'ty
14
基板吸着下受
ブロック
(
M
)
Board Vacuum Support Block (M)
イラスト
No.
Part No.
品 名品番 数量
R
2
パーツリスト
Kit No.
キット
品番
Kit Name
キット 名称
KXFX039UA00
Part Name
備 考
セクション
No
.
PARTS LIST
Section No.
R
3
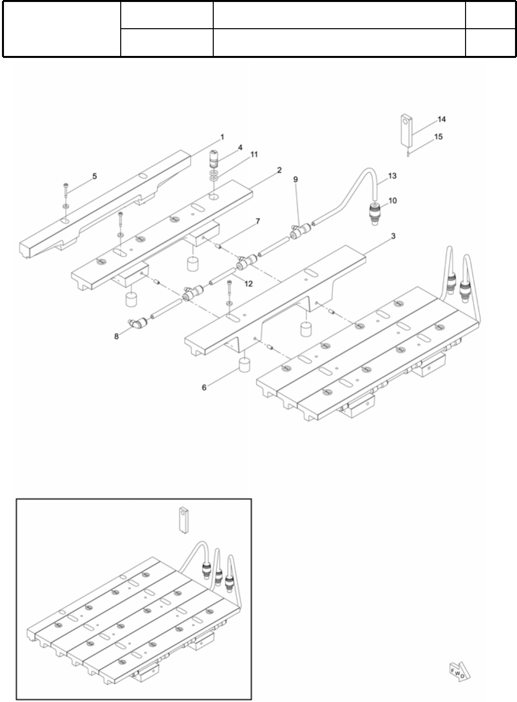
BLOCK
1
1 N210000930AA
BLOCK
3
2 N210000931AB
BLOCK
2
3 N210001387AB
JOINT
12
4 KXFB0713A01
BOLT
12
5 KXF09TBAA00 GUTB3-4-20
MAGNET
10
6 N986KM0015 KM-0015
SCREW
10
7 XXE5D8VW Hexagon socket set screw Cup point M5X8-A2
JOINT
3
8 KXF0DWUJA00 KQ2L06-M6
JOINT
9
9 KXF0DWUKA00 KQ2T06-M6
JOINT
3
10 KXF091HAA00 CPP15-6B
PACKING
24
11 KXF0DY0XA00 SPGC11
TUBE
9
12 KXF0DUEAA00 TU0604B
TUBE
3
13 KXF0DUEAA00 TU0604B
BLOCK
1
14 KXFB0714A00
PIN
2
15 KXF0DYJPA00 MS1.5-8
M92
-
-
( KKXFX039UA00-02 )