SP60P-M Mechanical 20120628 - 第193页
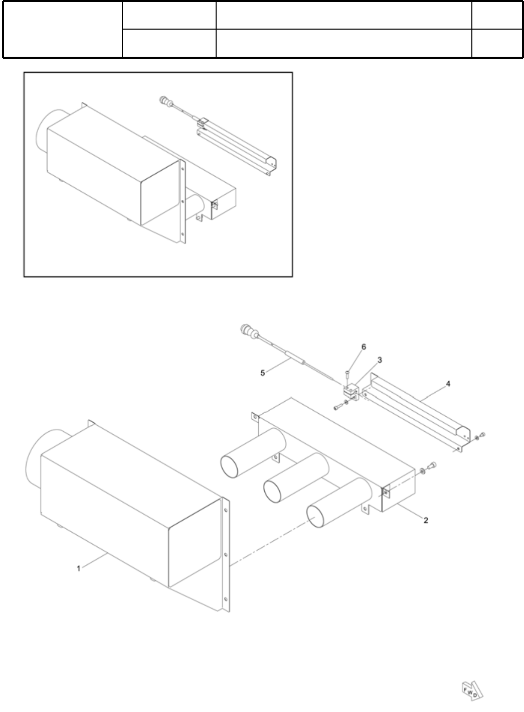
Ref No. Remarks R 1 Q'ty 12 内部照明 Internal Lighting イラスト No. Part No. 品 名 品番 数量 R 2 パー ツ リ スト Kit No. キ ット 品番 Kit Name キ ット 名称 KXFX03AVA00 Part Name 備 考 セクション No . PARTS LIST Section No. R 3 BRACKET 1 1 N210044705AA …

12
内
部
照明
Internal Lighting
パーツレイアウト
Kit N
o
.
キット品
番
Kit Name
キット名称
KXFX03AVA00
セクションNo.
PARTS LAYOUT
Section No.
--
S31
( KKXFX03AVA00-02 )

Ref
No.
Remarks
R
1
Q'ty
12
内部照明
Internal Lighting
イラスト
No.
Part No.
品 名品番 数量
R
2
パーツリスト
Kit No.
キット
品番
Kit Name
キット 名称
KXFX03AVA00
Part Name
備 考
セクション
No
.
PARTS LIST
Section No.
R
3
BRACKET
1
1 N210044705AA
BRACKET
1
2 N210044706AA
LAMP
2
3 N510025664AA ML-24
BRACKET
1
4 KXFB06GSA00
BRACKET
2
5 N210044707AA
BRACKET
2
6 N210044708AA
S32
-
-
( KKXFX03AVA00-02 )

13
雰
囲
気
温調ダクト(MPA-14A用)
Atmospheric Temperature Control Duct(MPA-14A)
パーツレイアウト
Kit N
o
.
キット品
番
Kit Name
キット名称
N610043176AA
セクションNo.
PARTS LAYOUT
Section No.
--
S33
( KN610043176AA-00 )