SP60P-M Mechanical 20120628 - 第203页
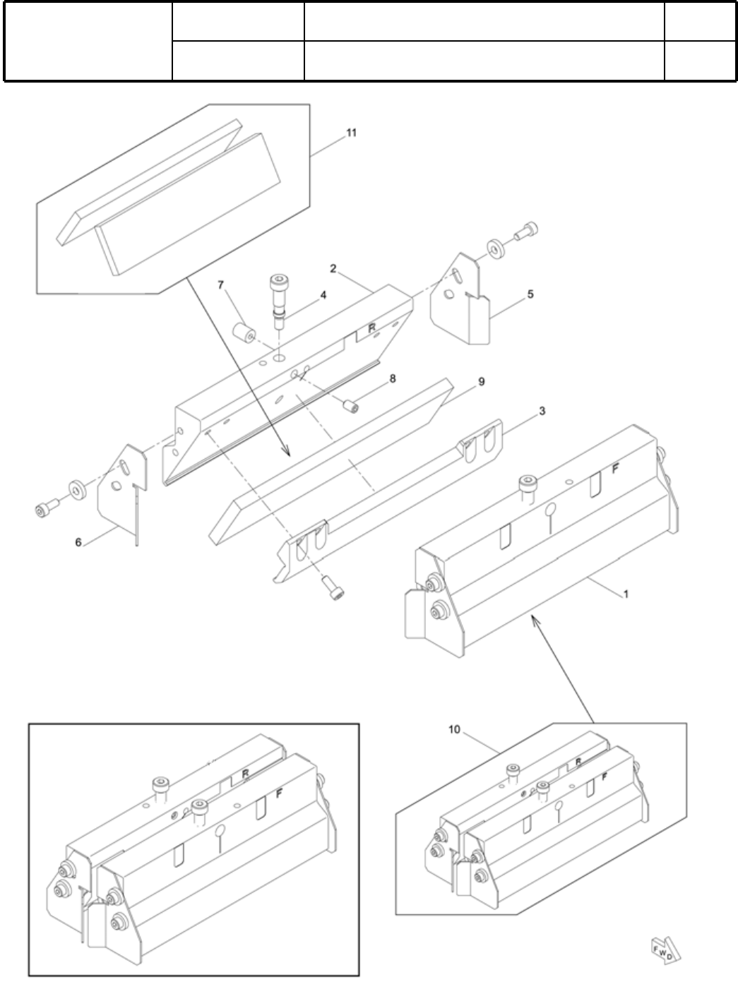
Ref No. Remarks R 1 Q'ty 17 狭 ピ ッチ 用平 ス キー ジセ ット ( L = 170 ) Flat Squeegee Set for Narrow Pitch (L = 170) イラスト No. Part No. 品 名 品番 数量 R 2 パー ツ リ スト Kit No. キ ット 品番 Kit Name キ ット 名称 KXFX03AGA00 Part Name 備 考 セクション No…

17
狭
ピッチ用平スキージセット(L=170)
Flat Squeegee Set for Narrow Pitch (L = 170)
パーツレイアウト
Kit N
o
.
キット品
番
Kit Name
キット名称
KXFX03AGA00
セクションNo.
PARTS LAYOUT
Section No.
--
S41
( KKXFX03AGA00-02 )

Ref
No.
Remarks
R
1
Q'ty
17
狭
ピッチ
用平
スキージセット
(
L
=
170
)
Flat Squeegee Set for Narrow Pitch (L = 170)
イラスト
No.
Part No.
品 名品番 数量
R
2
パーツリスト
Kit No.
キット
品番
Kit Name
キット 名称
KXFX03AGA00
Part Name
備 考
セクション
No
.
PARTS LIST
Section No.
R
3
HOLDER
1
1 N210010837AA
A
HOLDER
1
2 N210010838AA
A
HOLDER
2
3 KXFB00LTA00
BOLT
2
4 KXFB08MDA00
GUIDE
2
5 KXFB00GEA00
GUIDE
2
6 KXFB00GDA00
BALL-BUTTON
2
7 KXF0167AA00 BBT8
SCREW
2
8 XXE5D8FT
Hexagon socket set screw Cup point M5X8-45H SOB
SQUEEGEE
2
9 KXF0E0M2A00 (DA KXF0E0M2A00)
KIT
1
10 N610004768AA
KIT
1
11 N610004787AA
S42
-
-
( KKXFX03AGA00-02 )

18
手前右→左
流
れ仕様&基
板
ストッパ
Front Reference Right-to-Left Flow & PCB Stopper
パーツレイアウト
Ki
t
N
o
.
キット
品番
Kit Name
キット名称
KXFX039SA00
セクションNo.
PARTS LAYOUT
Section No.
S43