SP60P-M Mechanical 20120628 - 第209页
Ref No. Remarks R 1 Q'ty 20 ハ ンダ 残量検出 ( M ) Remaining Solder Detection (M) イラスト No. Part No. 品 名 品番 数量 R 2 パー ツ リ スト Kit No. キ ット 品番 Kit Name キ ット 名称 KXFX03AQA00 Part Name 備 考 セクション No . PARTS LIST Section No. R 3 B…

20
ハンダ残量
検
出(M)
Remaining Solder Detection (M)
パーツレイアウト
Kit N
o
.
キット品
番
Kit Name
キット名称
KXFX03AQA00
セクションNo.
PARTS LAYOUT
Section No.
--
S47
( KKXFX03AQA00-01 )

Ref
No.
Remarks
R
1
Q'ty
20
ハンダ
残量検出
(
M
)
Remaining Solder Detection (M)
イラスト
No.
Part No.
品 名品番 数量
R
2
パーツリスト
Kit No.
キット
品番
Kit Name
キット 名称
KXFX03AQA00
Part Name
備 考
セクション
No
.
PARTS LIST
Section No.
R
3
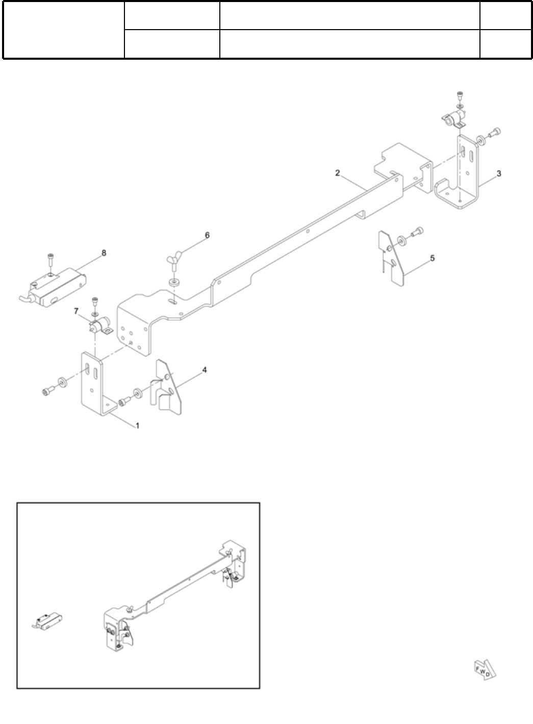
BRACKET
1
1 KXFB030MA00
BRACKET
1
2 KXFB030NA00
BRACKET
1
3 KXFB030PA00
GUIDE
1
4 KXFB00FTA00
GUIDE
1
5 KXFB00FUA00
BOLT
2
6 KXF08JMAA00 Wing bolt M4X12L 1-type
SENSOR
1
7 KXF08JLAA00
A
PS-202
AMP
1
8 KXF09W1AA00
A
PS-T1
S48
-
-
( KKXFX03AQA00-01 )

21
連結ブラケット(M)
Joint Bracket(M)
パーツレイアウト
Kit N
o
.
キット品
番
Kit Name
キット名称
KXFX03NRA00
セクションNo.
PARTS LAYOUT
Section No.
--
S49
( KKXFX03NRA00-00 )