Single conveyor SC right SX1a_20211124_033444 - 第13页
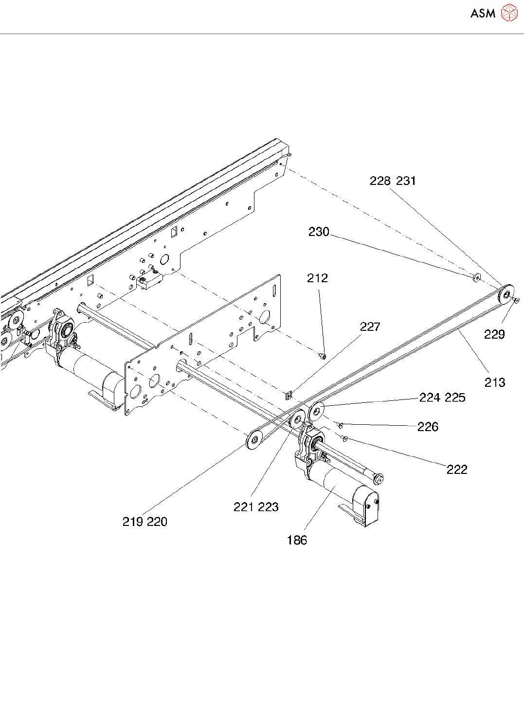
Single conveyor SC right SX1a Page 13 / 20 24.11.2021 Pos. Item no. Description Part marking 1 03089181-01 CONVEYOR MODULE SL RIGHT SX1A * 2 03089150-01 BASE MODULE SL RIGHT SX1A. 3 03088400-01 BASE MODULE SX1A. 4 030876…

Single conveyor SC right SX1a
Page 12 / 20 24.11.2021

Single conveyor SC right SX1a
Page 13 / 20 24.11.2021
Pos. Item no. Description Part marking
1 03089181-01 CONVEYOR MODULE SL RIGHT
SX1A
*
2 03089150-01 BASE MODULE SL RIGHT SX1A.
3 03088400-01 BASE MODULE SX1A.
4 03087656-01 LINEAR GUIDING RAIL EG 15 U
SX1A.
*
5 03092543-01 DRIVE UNIT WIDTH ADJUSTMENT
CPL. SXA.
SPARE PART
03087636-01 BLDC MOTOR BG32X20 W.
GEARBOX/ENCODER
03092824-01 SYNCHRONISED PULLEY 16 T5 / 15 -
2
03088451-01 ENGINE SUPPORT SPREADING
REGULATION
03091995-01 SHAFT SUPPORT LEFT
03091919-01 SHAFT SUPPORT MIDDLE LEFT
03091997-01 SHAFT SUPPORT RIGHT
12 03088587-01 TOOTHED BELT BRECOFLEX 12
T5/1920
WEAR PART
03091956-01 SHAFT SUPPORT MIDDLE RIGHT
03078186-01 TOP HAT RAIL
00385596-02 MOUNTING RAIL
16 03042540-01 ISO 4762 - M 3 X 5-A2-70
03093005-01 BEARING COVER
03096349-01 TENSIONING ROLLER CPL. *
03088686-01 BEARING PIN
03096351-01 BEARING SCREW
03096317-01 IDLER PULLEY, WIDTH ADJUSTMENT
03042553-01 ISO 4762 - M 4 X 12-A2-70 Spare Part
23 03096011-01 CONVEYOR CONTROL TSP420 A.
BOLTS CPL.
24 03087642S06 CONVEYOR CONTROLLER TSP420
COMPL
SPARE PART
03028757-01 FLAT WASHER 3.2/7.0/1 FIBER RED
03095150-01 SIDE FLANGE CONSTANT 1 CPL.
SXA.
03095152-01 SIDE FLANGE CONSTANT 1 SXA.
03095151-01 SIDE FLANGE CONSTANT 2 CPL.
SXA.

Single conveyor SC right SX1a
Page 14 / 20 24.11.2021
Pos. Item no. Description Part marking
03095153-01 SIDE FLANGE CONSTANT 2 SXA.
30 03087986-01 LIFTING TABLE SL SX1A.
31 03092465-01 BLDC MOTOR BEARING BLOCK
MOTOR
03088283-02 BEARING BLOCK MOTOR
33 03088241S03 BLDC MOTOR BG65X50 CPL. W.
CABLE + PLUG
SPARE PART
34 03097270-01 PROTECTION SHEET DRIVE UNIT
CPL. SXA.
35 03042540-01 ISO 4762 - M 3 X 5-A2-70
03095978-01 PROTECTION SHEET DRIVE UNIT
SXA.
SPARE PART
37 03063165-01 SHOULDER SCREW D5-HD8-L10-M4
38 00098615-01 DEEP-GROOVE BALL BEARING
5*16*5 625-2Z
Spare Part
39 03090236-01 LEVER SHAFT 597MM CMPL.
03036349-01 DEEP GROOVE BEARING 12X32X10 SPARE PART
41 03092540-01 LEVER SHAFT 597 MM MODUL
03042552-01 ISO 4762 - M 4 X 10-A2-70 STANDARD PARTS
43 00318355-01 DIN 7991-M4 X 10-A2
03087383-01 PUSH ROD
03051463-01 NEEDLE ROLLER BEARINGS HK0810
46 03051476-01 MOTOR CRANK 1
47 03056913-01 ISO 4762 - M 4 X 5-A2-70 STANDARD PARTS
48 03088688-02 LIFTING TABLE KPL 597 MM
03087993-02 LIFTING TABLE PLATE 597MM
03093033-02 STIFFENING FILLET 597 MM
03088584-01 PLATE GUIDE - LIFT TABLE CMPL. SPARE PART
03086209-01 SETSCREW M20X1 L=14MM
03087910-01 STRIATION
03087535-01 PLATE GUIDE - LIFT TABLE
03042574-01 ISO 4762 - M 6 X 20-A2-70
03089189S01 ADJUSTING UNIT 2 WA SC SX1A. SPARE PART
03089188S01 ADJUSTING UNIT 1 WA SC SX1A. SPARE PART
03089337S01 HEIGHT ADJUSTING SET SCREW *
59 03087263-01 LINEAR GUIDEWAY EGH 15 SA ZB H *