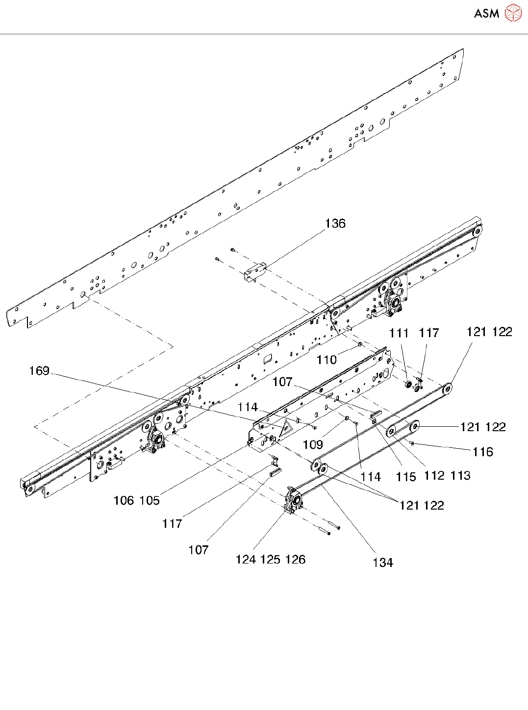
Single conveyor SC right SX1a_20211124_033444 - 第6页
Single conveyor SC right SX1a Page 6 / 20 24.11.2021

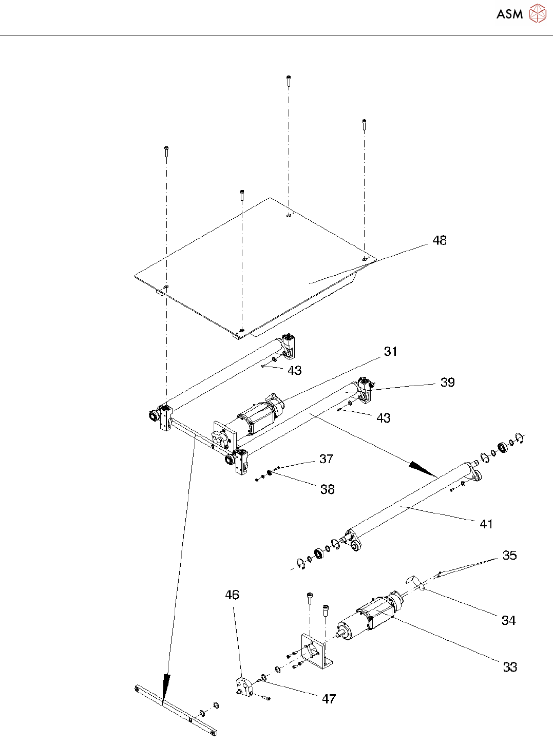
Single conveyor SC right SX1a
Page 5 / 20 24.11.2021

Single conveyor SC right SX1a
Page 6 / 20 24.11.2021

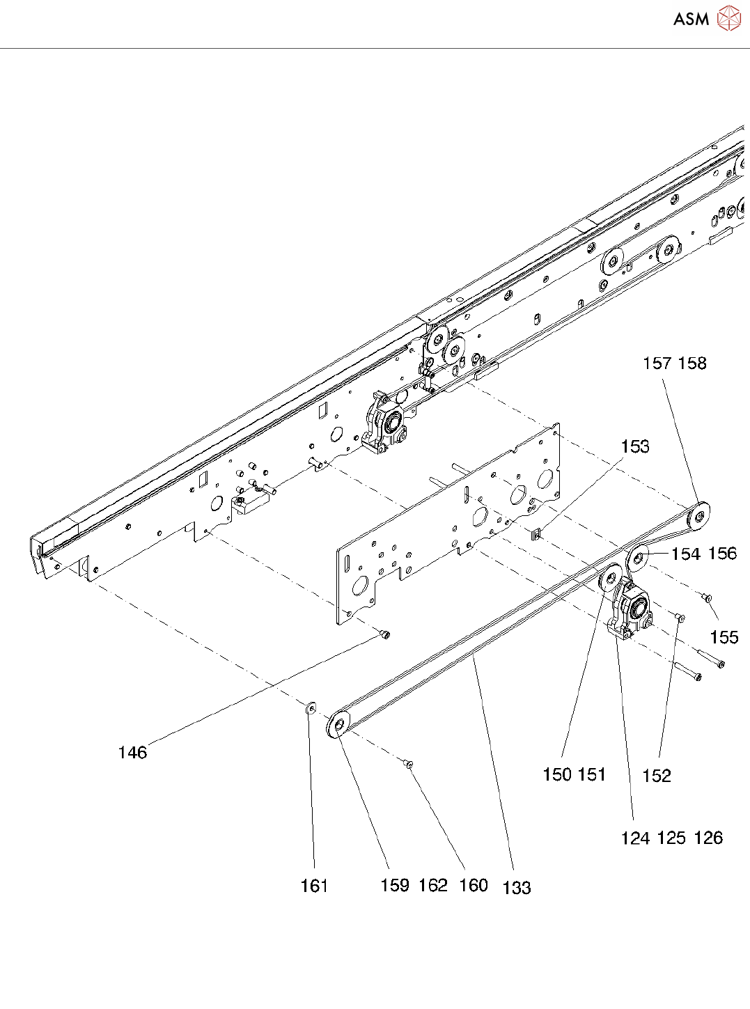
Single conveyor SC right SX1a
Page 7 / 20 24.11.2021