00198724-01_UM_X-Serie-S_DK - 第221页
Betjeningsvejledning SIPLACE X-seri e S 4 Opstilling og ibrugtagning Fra softwareversion 713.0 Udgave 11/2019 DK 4. 3 Opstilling af bestykningsautomaten 221 4.3.8.2 Positionering af bestykningsautomaten m ed luf tpude-tr…

4 Opstilling og ibrugtagning Betjeningsvejledning SIPLACE X-serie S
4.3 Opstilling af bestykningsautomaten Fra softwareversion 713.0 Udgave 11/2019 DK
220
4
Fig. 4.3 - 12 Justér og stram den midterste maskinfod med kontramøtrik
Kontrollér endnu en gang med maskinens vaterpas, at automaten er positioneret nøjagtigt.
Stram kontramøtrik M24 (pos. 3) med gaffelnøgle SW65.
(1) Afstandsstykke
(2) Midterste maskinfod
(3) Kontramøtrik M24

Betjeningsvejledning SIPLACE X-serie S 4 Opstilling og ibrugtagning
Fra softwareversion 713.0 Udgave 11/2019 DK 4.3 Opstilling af bestykningsautomaten
221
4.3.8.2 Positionering af bestykningsautomaten med luftpude-transportsystemet
Læg luftpude-transportsystemets fire luftpuder ind under støttepunkterne på maskinrammen.
Løft op i bestykningsautomaten og justér den i forhold til linjen.
Kontrollér afstanden til printplade-transportsystemet på bestykningsautomaterne ved siden
af. Den bør ligge mellem 1 mm og 3 mm.
Sænk bestykningsautomaten ned.
4
Fig. 4.3 - 13 Henlægspositionen for luftpude-transportsystemet (eksempel SIPLACE X2 S / X3 S / X4 S)
(1) 4 støttepunkter for luftpude-transportsystemet
(1)
(1)

4 Opstilling og ibrugtagning Betjeningsvejledning SIPLACE X-serie S
4.3 Opstilling af bestykningsautomaten Fra softwareversion 713.0 Udgave 11/2019 DK
222
4.3.8.3 Montering af jordanker (ekstraudstyr)
Ved behov kan bestykningsautomaten sikres mod at flytte sig ved hjælp af et jordanker mod vi-
brationer (f.eks. ved jordskælv.
Montér et jordanker på hver maskinfod.
4
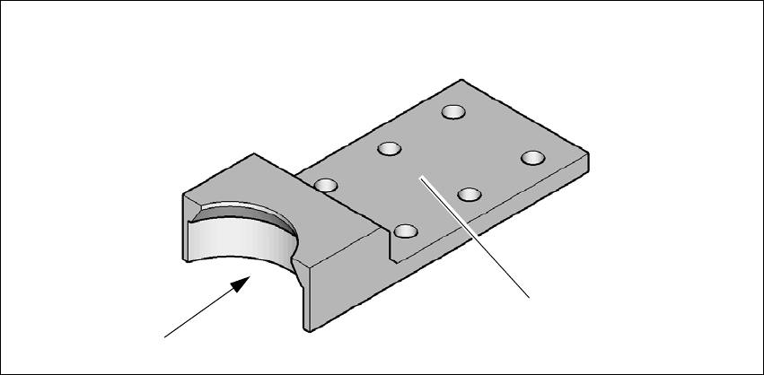
Fig. 4.3 - 14 Jordanker
Læg jordankeret (1) hen over maskinfoden.
Skru jordankeret på jorden på de seks boringer (2) ved hjælp af egnet fastgørelsesmateriale.
4.3.9 Aftagning af transportsikringer
Transportsikringerne er skruet fast på linearføringerne. Hver portal er fikseret på X-aksen og Y-
aksen med to transportsikringer.
Fjern alle transportsikringer fra portalakserne.
Ved transport af SIPLACE bestykningsautomaten skal transportsikringerne monteres med
henblik på transporten.
4.3.10 Fjernelse af korrosionsbeskyttelsesmiddel fra føringsskinnerne
Bestykningsautomaterne blev behandlet med korrosionsbeskyttelsesmidler med henblik på udle-
veringen.
(2)
(1)