TR7DN_维修调整 - 第33页
维修调整要领书 2- 26 2- 15. 电气部分风扇电动机的更换 请拆下风扇组件固定螺丝( A ),更换风扇电动机②。 更换时请注意风扇的朝向。 ② FAN MOTOR (Y MOTOR) ASM (货号: 40049579 ) ③ FAN MOTOR (YB MOTOR) ASM (货号: 40117222 ) 风扇送風方向

维修调整要领书
2-25
2-14.
电气部分风扇电动机的更换
请拆下 FRONT COVER B。
请松开风扇组件固定螺丝(A),卸下风扇组件。
请拆下风扇电动机固定螺丝(B),更换风扇电动机①。
更换时请注意风扇的朝向。
①AC FAN MOTOR ASM(货号:40117133)
风扇送風方向

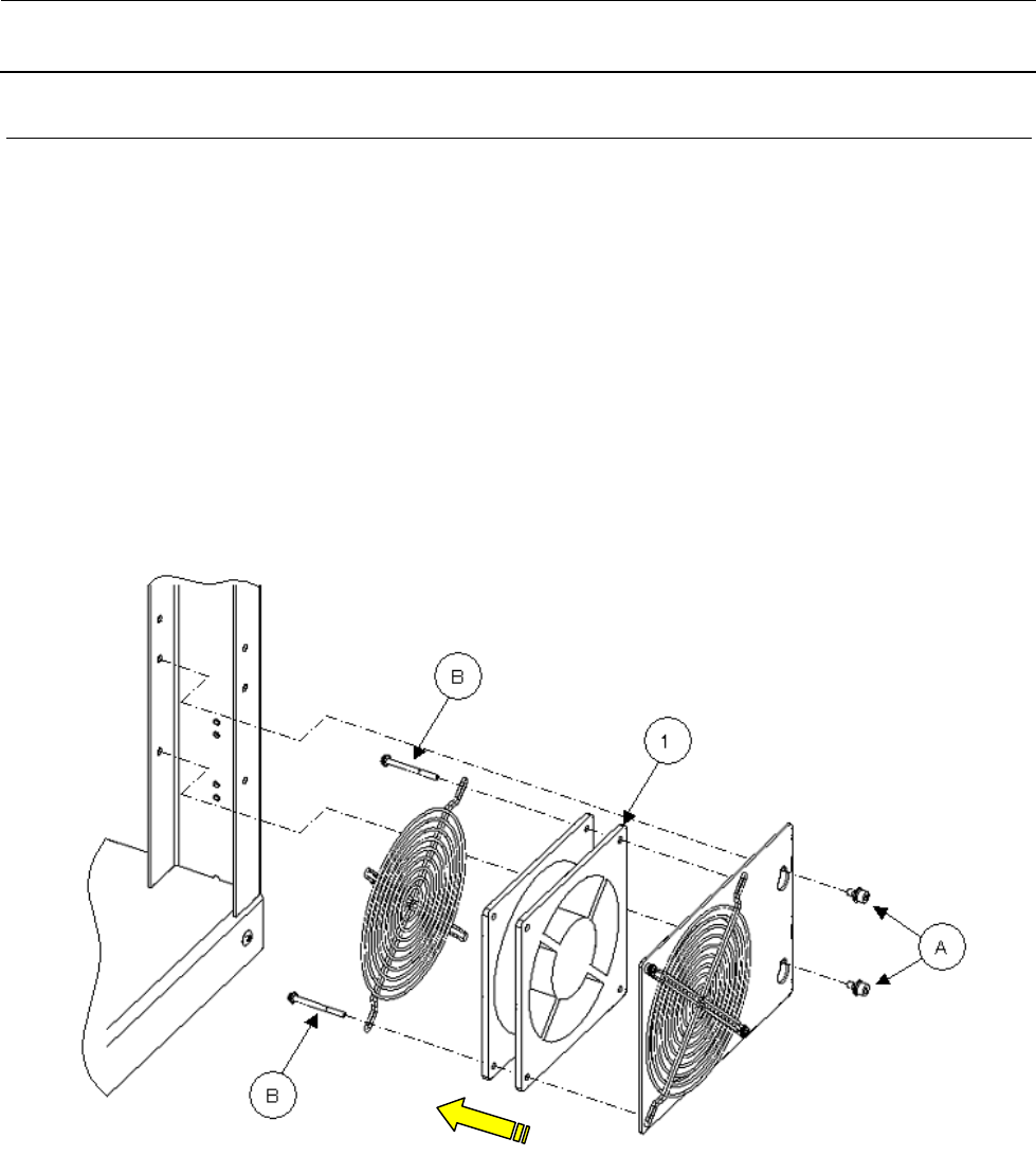
维修调整要领书
2-26
2-15.
电气部分风扇电动机的更换
请拆下风扇组件固定螺丝(A),更换风扇电动机②。
更换时请注意风扇的朝向。
②FAN MOTOR (Y MOTOR) ASM(货号:40049579)
③FAN MOTOR (YB MOTOR) ASM(货号:40117222)
风扇送風方向

维修调整要领书
3-1
3.
传感器的更换及调整
3-1.
Y 装置传感器布置图
No.
货号
品名
备注
1 HD001700000 Y 轴负向极限传感器 (×2)
2 HD001710000 Y 轴原点传感器 (×2)
3 HD001700000 Y 轴正向极限传感器 (×2)
4 HD001710000 Y 夹持器 R 打开 (×2)
5 HD001710000 Y 夹持器 R 关闭 (×2)
6 HD001710000 Y 夹持器 L 打开 (×2)
7 HD001710000 Y 夹持器 L 关闭 (×2)
8 HD000900000 托盘检测传感器 正向 (×2)
9 HD000900000 托盘检测传感器 负向 (×2)
10 40119405 YA 轴监视传感器
11 40119406 YB 轴监视传感器
12 40119884 Y 轴冲突防止传感器(EMITTER)
13 40119883 Y 轴冲突防止传感器(RECEIVER)
14 40117237 CMPNT 10.5 RECEIVE SENS ASM
15 40117239 CMPNT 23.5 RECEIVE SENS ASM
16 40117238 CMPNT 23.5 SENS ASM
17 40117240 CMPNT 10.5 SENS ASM
18 40119401 Y 轴中央导轨监视传感器 B
19 40119400 Y 轴中央导轨监视传感器 A
图A
图B
图C
图E
图D
图F
图G
图H
图I
图K
图J
图L