TR7DN_维修调整 - 第52页
维修调整要领书 3- 19 3- 18. TRAY LED PCB 的更换 请打开 UPPER_COVER(A) 。 请拆下螺母( B )后更换 TRAY LED PCB①。 更换电路板后,需要设定跨接线。 ① -a 设定为 W1 的 1 ~ 5 , W2 的 6 ~ 10 。 ① -b 设定为 W1 的 11 ~ 15 , W2 的 16 ~ 20 。 ① -c 设定为 W1 的 21 ~ 25 , W2 的 26 ~ 30 。 ① …

维修调整要领书
3-18
3-17.
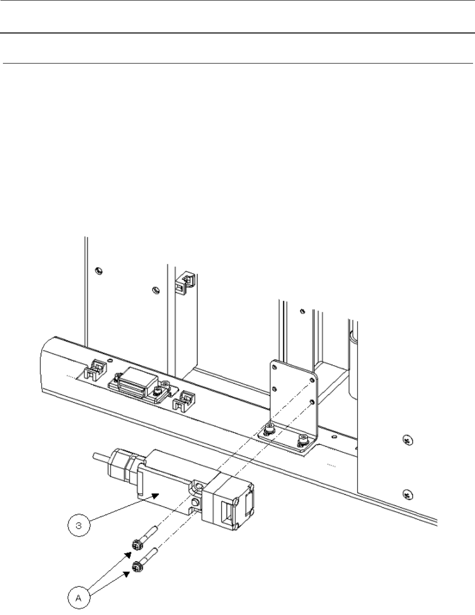
门打开开关的更换及调整(EN 机型)
请打开 DOOR_COVER。
请拆下固定螺丝(A),剪断电缆绑带后更换门打开开关③。
初始化时请确认联锁生效。
③门打开开关(货号:40049621) ※仅限 EN 机型
※L 侧为(货号:40049626)。

维修调整要领书
3-19
3-18.
TRAY LED PCB 的更换
请打开 UPPER_COVER(A)。
请拆下螺母(B)后更换 TRAY LED PCB①。
更换电路板后,需要设定跨接线。
①-a 设定为 W1 的 1~5,W2 的 6~10。
①-b 设定为 W1 的 11~15,W2 的 16~20。
①-c 设定为 W1 的 21~25,W2 的 26~30。
①-d 设定为 W1 的 31~35,W2 的 36~40。
①TRAY LED(10) PCB ASM(货号:40042216)
1-d
B
1-a
1-b
1-c

维修调整要领书
3-20
3-19.
IS 装置天线的更换及调整(IS:选配)
请打开 DOOR COVER。
天线①是安装在 DOOR COVER 的背侧,故要拆下垫圈(A)、弹簧垫圈(B)、螺母(C)再更换天线。
组装时,天线的传感器检测面(有标记的一面)要朝向叠盘箱一侧。
①ANTENNA ARRAY 14MM PITCH/20_POSITION(货号:40073666) ※L 侧也相同。