TR7DN_维修调整 - 第53页
维修调整要领书 3- 20 3- 19. IS 装置天线的更换及调整 ( IS :选配 ) 请打开 DOOR COVER 。 天线①是安装在 DOOR COVER 的背侧,故要拆下垫圈( A )、弹簧垫圈( B )、螺母( C )再更换天线。 组装时,天线的传感器检测面(有标记的一面)要朝向叠盘箱一侧。 ① ANTENNA ARRAY 14MM PITCH/20_POSITION (货号: 40073666 ) ※L 侧也相同。

维修调整要领书
3-19
3-18.
TRAY LED PCB 的更换
请打开 UPPER_COVER(A)。
请拆下螺母(B)后更换 TRAY LED PCB①。
更换电路板后,需要设定跨接线。
①-a 设定为 W1 的 1~5,W2 的 6~10。
①-b 设定为 W1 的 11~15,W2 的 16~20。
①-c 设定为 W1 的 21~25,W2 的 26~30。
①-d 设定为 W1 的 31~35,W2 的 36~40。
①TRAY LED(10) PCB ASM(货号:40042216)
1-d
B
1-a
1-b
1-c

维修调整要领书
3-20
3-19.
IS 装置天线的更换及调整(IS:选配)
请打开 DOOR COVER。
天线①是安装在 DOOR COVER 的背侧,故要拆下垫圈(A)、弹簧垫圈(B)、螺母(C)再更换天线。
组装时,天线的传感器检测面(有标记的一面)要朝向叠盘箱一侧。
①ANTENNA ARRAY 14MM PITCH/20_POSITION(货号:40073666) ※L 侧也相同。

维修调整要领书
3-21
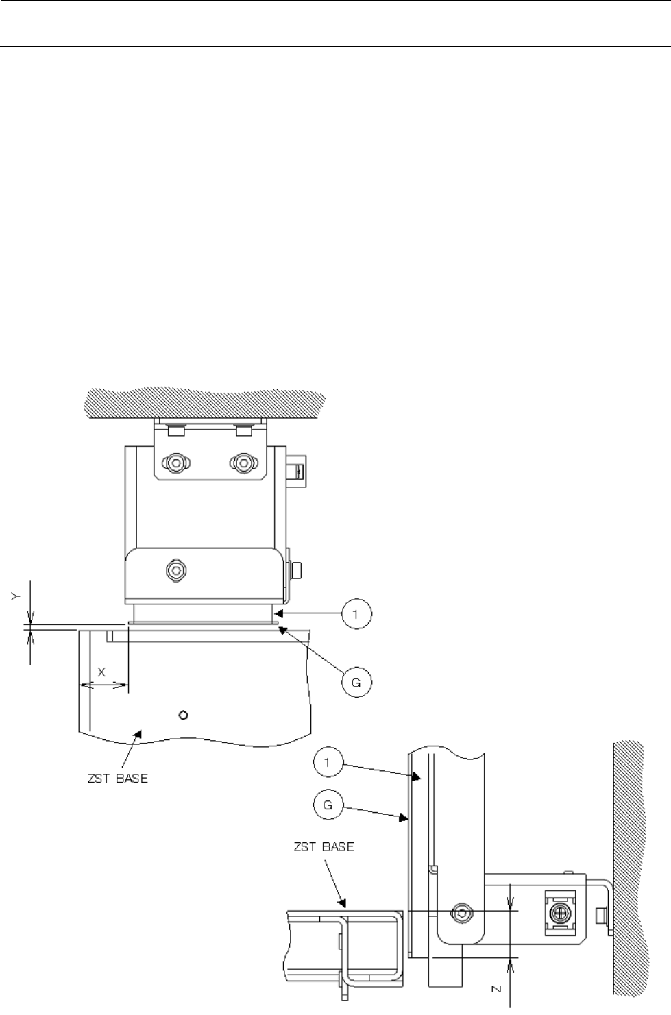
更换天线后,必须进行天线位置的调整。
请利用 X 方向调整螺丝(D)、Y 方向调整螺丝(E)、Z 方向调整螺丝(F),将 SIELD BRACKET(G)
到 Z ST BASE 之间的距离(参照下图)调整为以下值。
L 侧:
从 SIELD BRACKET 左端到 ZST BASE 左端的距离:X=14.5±0.2mm
从 SIELD BRACKET 正面到 ZST BASE 侧面的距离:Y=2.2±0.2mm
从 SIELD BRACKET 下面到 ZST BASE 上面(※)的距离:Z=10.5±0.2mm
R 侧:
从 SIELD BRACKET 左端到 ZST BASE 左端的距离:X=17.5±0.2mm
从 SIELD BRACKET 正面到 ZST BASE 侧面的距离:Y=2.2±0.2mm
从 SIELD BRACKET 下面到 ZST BASE 上面(※)的距离:Z=10.5±0.2mm
※L、R 侧均初始化后,请利用“Z JOG”上升 1400 脉冲,在此位置上进行测定。
同时,使 Z 装置上下移动时,请注意天线装置不要与 Z 装置干渉。
①ANTENNA ARRAY 14MM PITCH/20_POSITION(货号:40073666)