RS-1-Rev01PDFA - 第47页
- 42 - REF.NO NOTE PART NO D E S C R I P T I O N 品 名 Qty 1 401-83567 BASE_BAR_A S M ベースバー組 1 2 SL-6063592 - TN SCREW 座金付き六角穴ボルト M 6 L =35 (8) 3 HX-0034400-00 HARNESS P A RTS 束線パーツ (1) 4 SM-4040601 - SC SCREW M4X0.7 L= 6 …

- 41 -
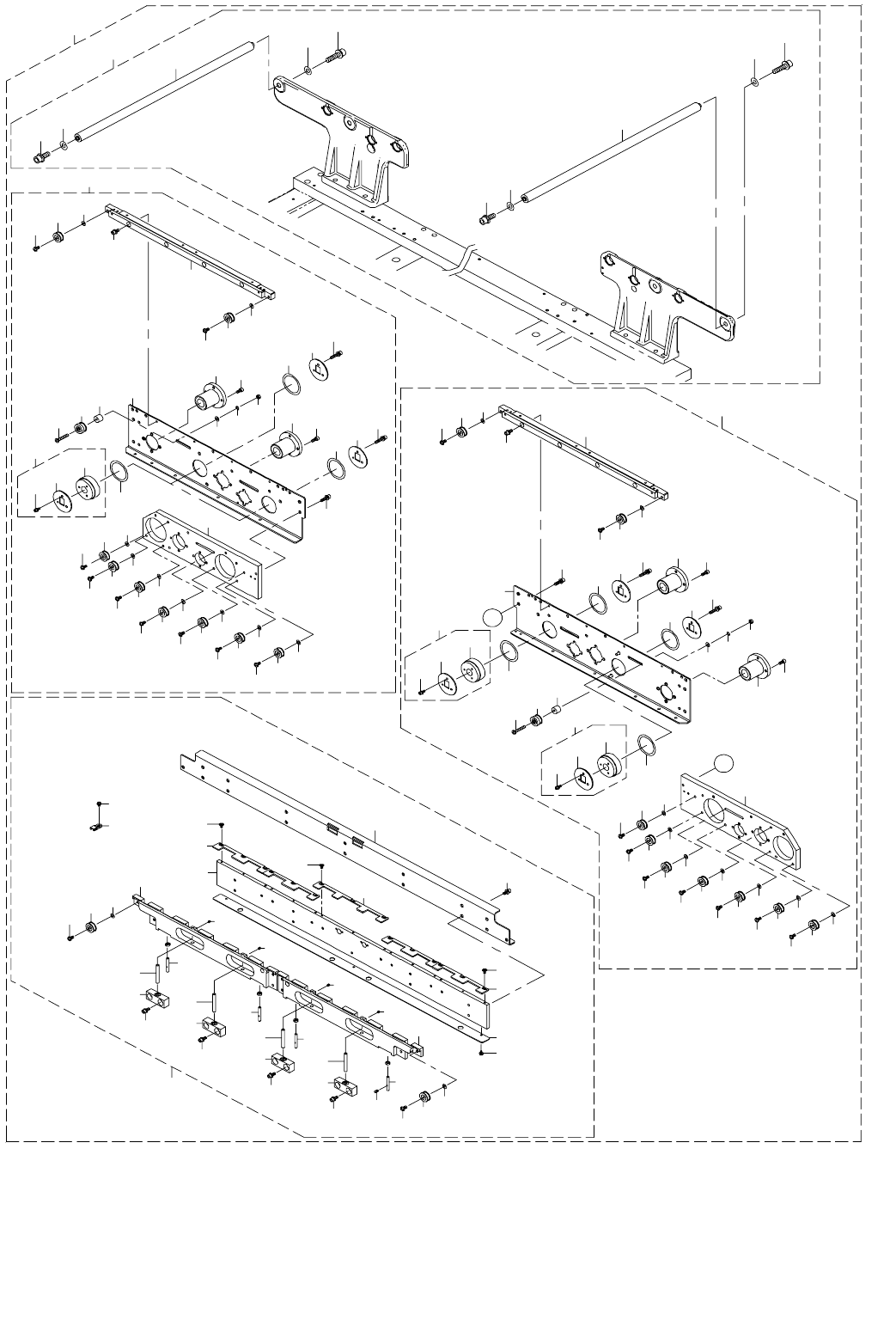
21. PWB CONVEYOR COMPONENTS (1)
基板搬送関係(1)
1
40
12
38
39
86
12
D
C
B
A
13
13
42
41
C
17
11
32
5
6
7
9
7
24
D
B
21
20
33
11
2
2
2
11
2
11
10
8
8
8
8
9
4
3
43
45
50
49
52
49
47
47
51
50
53
49
54
49
47
48
47
51
49
49
46
52
48
23
25
28
28
31
31
31
31
29
34
35
30
30
30
20
33
21
36
36
22
22
27
26
18
37
A
19
68
49
50
51
49
50
51
52
52
53
49
49
49
47
48
47
54
46
47
48
47
49
57
58
67
65
62
64
63
59
14
63
62
64
62
63
64
63
62
64
63
62
70
63
62
70
63
62
64
44
60
61
60
59
61
66
67
66
65
67
66
65
67
65
66
67
65
66
67
66
65
67
66
65
67
66
65
56
14
81
80
73
73
75
78
77
76
73
73
75
73
73
75
73
73
75
73
74
75
74
73
75
74
73
75
74
73
75
84
82
85
72
85
82
72
79
78
77
76
78
77
76
78
77
76
78
77
76
78
76
77
78
77
76
78
77
76
83
44
5
5
7
1
27
22
36
27
22
36
27
63
62
64
69
15
15
16

- 42 -
REF.NO NOTE PART NO D E S C R I P T I O N
品 名
Qty
1 401-83567 BASE_BAR_ASM
ベースバー組
1
2 SL-6063592-TN SCREW
座金付き六角穴ボルト M 6 L =35
(8)
3 HX-0034400-00 HARNESS PARTS
束線パーツ
(1)
4 SM-4040601-SC SCREW M4X0.7 L=6
なべ小ねじ M 4 X 0.7 L =6
(1)
5 401-83052 BASE_BAR_R
ベースバー R
(1)
6 401-86605 BASE_BAR_F_L_ADD
ベースバー FL 追加工
(1)
7 400-70087 BASE BAR S(L)
ベースバー S(L)
(2)
8 401-83377 BASE_BAR_SPACER
ベースバースペーサ
(2)
9 400-00996 BASE BAR SS(L)
ベースバー SS(L)
(2)
10 HX-0070600-0A MOUNT BASE
マウントベース
(4)
11 SL-6084092-TN BOLT
座金付き六角穴ボルト
(8)
12 400-46032 RAIL STAND F(L)
レールスタンド F(L)
2
13 SL-6052092-TN SCREW M5 L=20
座金付き六角穴ボルト M 5 L =20
4
14 SL-6031492-TN SCREW M3 L=14
座金付き六角穴ボルト M 3 L =14
8
15 CM-3002000-03 ATTENTION LABEL
指けが注意シール(31.5)
2
16 401-83564 CONVEYOR_RAIL_F_ASM
搬送レール F 組
1
17 401-83830 CONVEYOR_RAIL_FC_ASM
搬送レール FC 組
(1)
18 SL-4030691-SC SCREW M3 L=6
座金付きなべ小ねじ M 3 L =6
(6)
19 SL-6040892-TN SCREW M4 L=8
座金付き六角穴ボルト M 4 L =8
(1)
20 WP-0430800-SC WASHER M4
平座金小形丸 M 4
(8)
21 SM-4040855-SC SCREW
なべ小ねじ M 4 L =8
(8)
22 401-28609 SHAFT_SUPPORT_ASM
シャフトサポート組
(4)
23 401-83040 RAIL_GUIDE_F_650
レールガイド F _650
(1)
24 SM-8030302-TP SCREW M3X3
止めねじ M3X3
(4)
25 401-83041 CONVEYOR_RAIL_C_A
搬送レールC_A
(1)
26 401-83029 CONVEYOR_RAIL_C_B
搬送レールC_B
(1)
27 SL-6041092-TN SCREW M4 L=10
座金付き六角穴ボルト M 4 L =10
(8)
28 401-83027 PWB_GUIDE_PLATE_A
PWB ガイドプレート A
(4)
29 401-83056 PWB_GUIDE_PLATE_C
PWB ガイドプレート C
(1)
30 EZ-4453818-01 BOLT (CBSTSR3-5)
超極低頭ボルト(CBSTSR 3−5)
(15)
31 401-83077 CLAMP_SHAFT
クランプシャフト
(4)
32 SM-8040602-TP SCREW M4X0.7 L=6
止めねじ
(2)
33 E2111-715-0A0 CONVEYOR PULLEY ASM.
搬送プーリ(組)
(8)
34 401-83379 RAIL_GUIDE_SUPPORT
レールガイドサポート
(1)
35 SL-6030692-TN SCREW M3 L=6
座金付き六角穴ボルト M 3 L =6
(1)
36 401-28520 NEEDLE_ROLLER
ニードルローラ
(4)
37 HX-0034400-00 HARNESS PARTS
束線パーツ
(6)
38 WP-0501046-SC WASHER 5 X 14 X 1
平座金 5 X 14 X 1
(2)
39 SL-6052092-TN SCREW M5 L=20
座金付き六角穴ボルト M 5 L =20
(2)
40 400-00802 RAIL STAND CL
レールスタンド CL
(1)
41 SL-6052092-TN SCREW M5 L=20
座金付き六角穴ボルト M 5 L =20
(2)
42 400-00805 RAIL STAND CR
レールスタンド CR
(1)
43 SL-6041292-TN SCREW M4 L=12
座金付き六角穴ボルト M 4 L =12
(4)
44 SL-6041092-TN SCREW M4 L=10
座金付き六角穴ボルト M 4 L =10
(4)
45 401-84582 PULLEY_BRAKET_ASM
プーリーブラケット組
(1)
46 E2016-715-000 IDLER PULLEY
アイドラプーリ
(2)
47 E2017-715-000 M LINER BUSH
M ライナブッシュ
(8)
48 E2018-715-000 PULLEY SLEEVE
プーリスリーブ
(4)
49 WP-0531001-SC WASHER M5
平座金みがき丸 M 5
(12)
50 WS-0510002-KN SPRING WASHER M5
ばね座金 M 5
(4)
51 NM-6050001-SC NUT M5X0.8 TYPE1
六角ナット M 5 X 0.8 1種
(4)
52 SM-6052502-TN SCREW
六角穴ボルト
(4)
53 400-00976 PULLEY BRAKET
プーリブラケット
(2)
54 E2157-721-000 PULLEY B
プーリ B
(2)
55 401-83828 RAIL_PLATE_FL_ASM
レールプレート FL 組
(1)
56 SL-6051092-TN SCREW M5 L=10
座金付き六角穴ボルト M 5 L =10
(4)
57 E2012-721-000 ADJUST PLATE
アジャストプレート
(1)
58 SL-6030692-TN SCREW M3 L=6
座金付き六角穴ボルト M 3 L =6
(2)
59 E2111-715-0A0 CONVEYOR PULLEY ASM.
搬送プーリ(組)
(2)
60 WP-0430800-SC WASHER M4
平座金小形丸 M 4
(2)
61 SM-4040855-SC SCREW
なべ小ねじ M 4 L =8
(2)
62 E2089-721-0A0 CONVEYOR PULLEY B ASM.
搬送プーリ B 組
(8)
63 E2055-721-000 PULLEY SPACER
プーリスペーサ
(8)
64 SM-4042501-SC SCREW M4X0.7 L=25
なべ小ねじ M 4 X 0.7 L =25
(6)
65 WP-0430801-SC WASHER M4
平座金 M 4
(8)
66 WS-0410002-KN SPRING WASHER M4
ばね座金 M 4
(8)
67 NM-6040001-SC NUT M4X0.7 TYPE1
六角ナット M 4 X 0.7 1種
(8)
68 401-83032 CONVEYOR_RAIL_S
搬送レール S
(1)
69 401-83043 RAIL_PLATE_FL
レールプレート FL
(1)
70 SM-4042301-SC SCREW M4X0.7 L=23
なべ小ねじ M 4 X 0.7 L =23
(2)
71 401-83829 RAIL_PLATE_FR_ASM
レールプレート FR 組
(1)
72 SM-4040855-SC SCREW
なべ小ねじ M 4 L =8
(2)
73 E2089-721-0A0 CONVEYOR PULLEY B ASM.
搬送プーリ B 組
(8)
74 E2055-721-000 PULLEY SPACER
プーリスペーサ
(8)
75 SM-4042501-SC SCREW M4X0.7 L=25
なべ小ねじ M 4 X 0.7 L =25
(8)
76 WP-0430801-SC WASHER M4
平座金 M 4
(8)
77 WS-0410002-KN SPRING WASHER M4
ばね座金 M 4
(8)
78 NM-6040001-SC NUT M4X0.7 TYPE1
六角ナット M 4 X 0.7 1種
(8)
79 401-83032 CONVEYOR_RAIL_S
搬送レール S
(1)
80 E2012-721-000 ADJUST PLATE
アジャストプレート
(1)
81 SL-6030692-TN SCREW M3 L=6
座金付き六角穴ボルト M 3 L =6
(2)
82 E2111-715-0A0 CONVEYOR PULLEY ASM.
搬送プーリ(組)
(2)
83 401-83044 RAIL_PLATE_FR
レールプレート FR
(1)
84 SL-6051092-TN SCREW M5 L=10
座金付き六角穴ボルト M 5 L =10
(4)
85 WP-0430800-SC WASHER M4
平座金小形丸 M 4
(2)
86 WP-0501046-SC WASHER 5 X 14 X 1
平座金 5 X 14 X 1
(2)

- 43 -
22. PWB CONVEYOR COMPONENTS (2)
基板搬送関係(2)
29
23
1
25
20
45
42
39
48
38
26
36
40
37
17
11
41
50
24
37
28
27
A
A
33
44
55
56
54
53
82
81
80
81
83
81
82
80
83
81
79
21
12
10
19
10
6
22
22
22
3
4
5
6
10
7
8
9
12
13
14
15
14
15
14
15
14
15
16
16
16
16
11
20
17
18
18
18
18
22
2
47
43
35
47
35
43
31
32
30
31
32
30
31
32
30
31
30
32
31
30
32
30
32
31
34
30
32
31
49
40
37
36
39
78
52
57
60
58
59
59
58
60
59
58
60
59
58
60
59
60
58
58
60
59
58
60
59
61
62
72
70
75
71
63
75
71
63
54
53
56
55
68
65
64
68
64
65
65
65
76
77
66
67
67
69
73
51
46
74