RS-1-Rev01PDFA - 第59页
- 54 - REF. NO NOT E P ART NO D E S C R I P T I O N 品 名 Qty 1 4 01-46 961 LEFT_ SEN S_U NIT レフトセンサユニ ット 1 2 401- 46 990 SENS OR_B R_A センサブラケット _ A (1) 3 HX -0044 000 -00 CABL E BAND 束線バンド (1) 4 401- 46 991 SENS OR_B R_B …

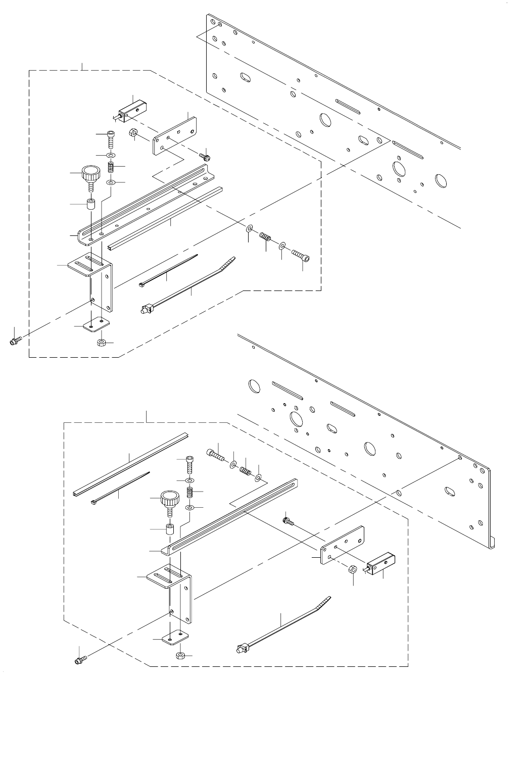
- 53 -
27. PWB CONVEYOR COMPONENTS (7)
基板搬送関係(7)
32
3
17
1
33
33
31
16
15
30
25
26
11
11
7
19
26
26
25
24
23
22
20
21
26
11
11
10
10
22
9
7
8
4
2
27
12
6
28
27
18
13
12
29
14
5

- 54 -
REF.NO NOTE PART NO D E S C R I P T I O N
品 名
Qty
1 401-46961 LEFT_SENS_UNIT
レフトセンサユニット
1
2 401-46990 SENSOR_BR_A
センサブラケット_ A
(1)
3 HX-0044000-00 CABLE BAND
束線バンド
(1)
4 401-46991 SENSOR_BR_B
センサブラケット_ B
(1)
5 400-01079 SENSOR BRAKET C
センサブラケット C
(1)
6 400-01076 SENSOR SLIDE PLATE
センサスライドプレート
(1)
7 400-00912 SENSOR ADJUST SPRING
センサアジャストスプリング
(3)
8 G6518-880-000 SET PICK-UP
セットつまみ
(1)
9 400-58815 SPACER
スペーサ
(1)
10 SM-6041602-TN SCREW M4X16
六角穴ボルト M 4 X 16
(3)
11 WP-0430801-SC WASHER M4
平座金 M 4
(6)
12 NM-6040002-SE NUT M4X0.7
六角ナット M4X0.7 2種
(3)
13 401-29046 SIDE SENSOR CABLE ASM
サイドセンサケーブル組
(1)
14 SL-4031091-SC SCREW M3 L=10
座金付きなべ小ねじ M 3 L =10
(2)
15 HX-0036700-0A BUSH
ブッシュ
(0.16)
16 EA-9500B00-00 CABLE BAND
結束バンド 60
(5)
17 401-46962 RIGHT_SENS_UNIT
ライトセンサユニット
1
18 400-01079 SENSOR BRAKET C
センサブラケット C
(1)
19 401-46991 SENSOR_BR_B
センサブラケット_ B
(1)
20 401-46990 SENSOR_BR_A
センサブラケット_ A
(1)
21 400-01076 SENSOR SLIDE PLATE
センサスライドプレート
(1)
22 400-00912 SENSOR ADJUST SPRING
センサアジャストスプリング
(3)
23 G6518-880-000 SET PICK-UP
セットつまみ
(1)
24 400-58815 SPACER
スペーサ
(1)
25 SM-6041602-TN SCREW M4X16
六角穴ボルト M 4 X 16
(3)
26 WP-0430801-SC WASHER M4
平座金 M 4
(6)
27 NM-6040002-SE NUT M4X0.7
六角ナット M4X0.7 2種
(3)
28 401-29046 SIDE SENSOR CABLE ASM
サイドセンサケーブル組
(1)
29 SL-4031091-SC SCREW M3 L=10
座金付きなべ小ねじ M 3 L =10
(1)
30 HX-0036700-0A BUSH
ブッシュ
(0.16)
31 EA-9500B00-00 CABLE BAND
結束バンド 60
(5)
32 HX-0044000-00 CABLE BAND
束線バンド
(1)
33 SL-6031092-TN SCREW M3 L=10
座金付き六角穴ボルト M 3 L =10
4

- 55 -
28. PWB CONVEYOR COMPONENTS (8)
基板搬送関係(8)
19
21
24
23
22
3
1
2
4
8
9
7
9
9
6
5
12
13
16
12
14
17
18
17
18
14
12
17
18
14
12
12
17
14
18
13
16
12
13
16
11
12
12
16
13
15
A
A
10
20
11
11
11