FX-1R_OperationManual_C_Rev03a.pdf - 第103页
第 3 章 日常检查 Rev03 3.2.4.2 CAL 校准台 请检查空气过滤器(CAL 校准台)的滤芯有无脏污。 如果有脏污的话,请摘下「空气软管②」,更 换新的 「空气过滤器① (产品编号 40000641) 」 。 ①空气过滤器 ②空气软管 图 3.2.5 空气过滤器(CAL 校准台) ② ① 3-5

第 3 章 日常检查 Rev03
3.2.4. 空气过滤器
3.2.4.1. MNLA 贴片头
「过滤器」每半年更换一次(大约),若还有脏污,应换成新的。
<检查、更换的顺序>
FX-1R / FX-1(机器版本 Rev C 之后) FX-1(机器版本 Rev C 之前)
1 放松「过滤器套环③」,从「安装套环④」拔出。 检查「过滤器①」有无脏污。
2 检查「过滤器①」有无脏污。 如果有脏污的话,请从「安装套环④」
取下「空气空吸过滤器③」。
3 如果有脏污的话,请从「安装套环④」更换「过滤
器①」。
从主环上取下盖子,更换过滤器导环所
附的「过滤器①」。
4 把「过滤器套环③」插入「安装套环④」,并固定
好。
关上盖子,把「空气空吸过滤器③」装
在「安装套环④」上。
②
③
①
フィルタ① 品番:
E3052729000
①
②
③
④
カバー
盖子
フィルタガイド
过滤器导环
本体ケース
主环
④
危险
为了防止意外启动造成的事故,请在关掉电源之后再进行操作。
请勿携带手表、移动电话等会受磁铁影响的物品。
过滤器①产品编号:E3052729000
①过滤器 ③过滤器套环
②半接器 ④安装套环
过滤器①产品编号:L155E421000
①过滤器 ③空气空吸过滤器
②半接器
④安装套环
L
机器版本标记在机
器右侧。字母 B 之前
涂黑既为机器版本
C
。
A B C D E F G H I
<机器版本 RevC>
J K L M N O P Q R
S T U V W X Y Z
3-4

第 3 章 日常检查 Rev03
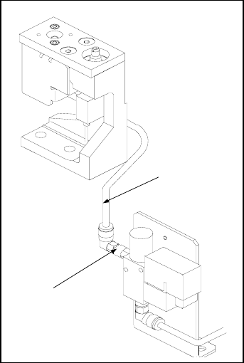
3.2.4.2 CAL 校准台
请检查空气过滤器(CAL 校准台)的滤芯有无脏污。
如果有脏污的话,请摘下「空气软管②」,更
换新的「空气过滤器①(产品编号 40000641)」。
①空气过滤器 ②空气软管
图 3.2.5 空气过滤器(CAL 校准台)
②
①
3-5

第 3 章 日常检查 Rev03
3.2.5 传送带
请确认传送带是否有明显磨损或破损、有无伸长。在有必要更换的情况下,按照以下的方
法更换。
1)放松安装在 A 部上的长孔「(前后 2 个)运转滑轮」,放松传送带紧度。
2)从传送滑轮上摘下传送带,进行更换。
↑A 部:Center Buffer
↑A 部: In/Out Buffer
图 3.2.6 传送带的维护
201mm
200mm
B
3)调整传送带的松紧。
① 传送带松懈的情况下(传送带没有挂紧的状态下),用“油性笔”等,在 200 mm 距离「 B 」
上作 2 个记号。
② 按 1)相反的顺序转动 [ A ] 部 的 [传送滑轮],加强传送带的张力,当这 2 个记号达
到 201mm 的位置时固定传送滑轮。
危险
为了防止意外启动造成的事故,请在关掉电源之后再进行调整。
3-6