FX-2_使用说明书 - 第205页
第 5 章 编辑程序 3) 贴片偏移量 激光定心方式是,通过激光观察到的元件的外形来捕捉元件的中心。 而 CAD 数据等以元件的实际安装图形 ( P AD ) 中心为贴片坐标, 由于这个原因, 元件的引脚 部分和基板的 PAD 会出现位置偏移。 将此差值作为偏移值输入后, 可在正确的位置上进行 元件贴片。 例 1 ) 单向引脚连接器 ※贴片角度 0 度 激光定心中心 贴片坐标点 从上面看元件 基板上的 PAD (焊盘、垫片) 不输入贴片…

第 5 章 编辑程序
5-6-6 扩展
由于分配给扩展的项目通常要使用默认值,在一般情况下,没有必要进行变更。仅当要对
默认值进行变更时,选择扩展选项卡。
一旦变更扩展项目后,如果再变更基础部分项目时,有的值会恢复到默认值。
图
5-6-11
元件数据(扩展)
1) “XY”,“吸取 Z 轴下降/上升”,“贴片 Z 轴下降/上升”
设定 XY,Z 轴移动时的速度。
有高速、中速、低速,设为中速或低速时运行稳定,但效率降低。
2)
θ
速度
设定吸嘴吸取元件状态的
θ
轴速度。
①
测量时
设定激光识别时的
θ
轴的加速度。
②
测量外
设定激光识别以外的θ轴加速度(激光定心后旋转到贴片角度等)。
注意
5-57

第 5 章 编辑程序
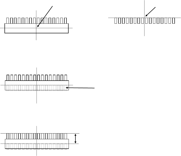
3) 贴片偏移量
激光定心方式是,通过激光观察到的元件的外形来捕捉元件的中心。
而 CAD 数据等以元件的实际安装图形(PAD)中心为贴片坐标,由于这个原因,元件的引脚
部分和基板的 PAD 会出现位置偏移。将此差值作为偏移值输入后,可在正确的位置上进行
元件贴片。
例 1)
单向引脚连接器
※贴片角度 0 度
激光定心中心 贴片坐标点
从上面看元件 基板上的 PAD(焊盘、垫片)
不输入贴片偏移进行贴片时会出现的状态。
基板上 PAD(焊盘、垫片)
根据上图状态(贴片角度 0 度,贴片偏移量 0),以贴片坐标点作为起点,测量元件实际贴
片坐标点位置的尺寸,输入到贴片偏移值中。
输入贴片偏移量后,对多个同名元件进行贴片时,各自的贴片角度即使不是 0 度,也能自动
变更贴片位置,可使元件在正确的位置贴片。
贴片偏移量
-Y(X 为 0)
5-58

第 5 章 编辑程序
例 2)
以下面的元件为例输入偏移值。数值的单位是“mm(毫米)”。
( (无色)→ 引脚部分, (有色)→ 模部, (粗线)→PAD)
贴片坐标点 激光高度
基板上的 PAD 从上面看元件 从横向看元件(前侧方向)
在贴片坐标点和激光定心的中心位置不同的情况下,直接贴片会发生贴片偏移。因此,贴
片坐标点和激光定心的中心位置的偏移部分,应作为偏移值输入“贴片偏移量”中。
未输入偏移值而进行贴片时,会出现下列情况:
激光定心中心位置
5.5
5 10
5 2
2
针对本例情况,应输入偏移值,才能使引脚的前端贴在 PAD 的中央部位。
在“贴片偏移量”里输入“X=-5.5,Y=-10”后,贴片位置变化如下。
2
注 1)
“贴片偏移量”值,请输入激光定心的中心位置到贴片坐标点的距离。值的符号如下(箭
头是到贴片坐标点的距离)。
+Y
-X
+X
激光定心的中心位置
-Y
3
5-59