FX-2_使用说明书 - 第28页
第 1 章 设备概要 1-4-5 贴片头装置的构成 贴片头由检测元件的位置偏移、 角度偏移的 LNC 60 传感器, 以及可上下驱动与旋转的 Z θ 轴构成。 FX -2 装有左右 2 个 LNC60 多吸嘴激光校准贴片头。 图 1-4-6 LNC60 贴片头构造图 ① 吸嘴外轴 ④ Z 滑动轴 ⑦ 贴片头上升汽缸 ② LNC60 传感器 ⑤ θ轴马达 ⑧ 过滤器盒 ③ Z 轴马达 ⑥ 滚珠丝杠 ① ② ③ ④ ⑤ ⑥ ⑦ ⑧ 1- 1…

第 1 章 设备概要
1-4-3 元件供给部分的构成
FX-2 在基板传送部分的前后、Y 台轴左右共设 4 个送料器台架以供应元件(参见下图)。
元件由安装在送料器台架的带状送料器、散件送料器、管状送料器供应。使用统一交换台(选购
项)时,可从 FX-2 主机上装卸送料器台架, 进行外部准备。
液晶モニタ
LR フィーダバンク
RR フィーダバンク
LF フィーダバンク RF フィーダバンク
基板搬送路
Y テーブル軸
基板
图
1-4-5
贴片机主机配置图
1-4-4 送料器台架各部分名称
把卷带式元件及装有管状元件的带状送料器、散件送料器、管状送料器在“安装板②”、“锁
定轴④”定好位置、固定住。
传送元件由“驱动汽缸⑤”来驱动。
安装各送料器的位置请参照“位置标签⑥”。也可参照送料器位置指示器FPI(选购项)的提示。
“台架标记⑦”是校正送料器台位置与姿势时用的标记。
①送料器台架 ④锁定轴 ⑦台架标记
②安装板 ⑤驱动汽缸
③安装板B ⑥位置标签
①
②
③
④
⑤
⑥
⑦
左后方送料器台架
右后方送料器台架
右前方送料器台
架
左前方送料器台架
基板传送轨道
Y 台轴
液晶显示器
基板
1-10

第 1 章 设备概要
1-4-5 贴片头装置的构成
贴片头由检测元件的位置偏移、角度偏移的 LNC60 传感器,以及可上下驱动与旋转的 Z
θ
轴构成。
FX-2 装有左右 2 个 LNC60 多吸嘴激光校准贴片头。
图
1-4-6
LNC60 贴片头构造图
① 吸嘴外轴 ④ Z 滑动轴 ⑦ 贴片头上升汽缸
② LNC60 传感器 ⑤ θ轴马达 ⑧ 过滤器盒
③ Z 轴马达 ⑥ 滚珠丝杠
①
②
③
④
⑤
⑥
⑦
⑧
1-11

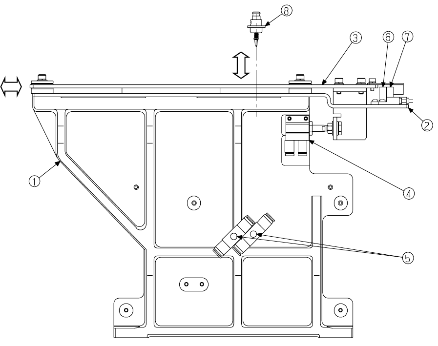
第 1 章 设备概要
1-4-6 自动工具交换装置(ATC:Auto Tool Changer)的构成
由气缸④来开关滑动板②、保管并装卸吸嘴⑧。
滑动板②的开关,由 ATC OPEN 传感器⑥、ATC CLOSE 传感器⑦来检测,由速度控制器⑤来调整
开、关速度。
图
1-4-7
ATC(自动工具交换装置)构造图
① ATC 基座 ④ 空气汽缸 ⑦ ATC CLOSE 传感器
② 滑动板 ⑤ 速度控制器 ⑧ 吸嘴
③ ATC 基座板 ⑥ ATC OPEN 传感器
1-12