FX-2_使用说明书 - 第766页
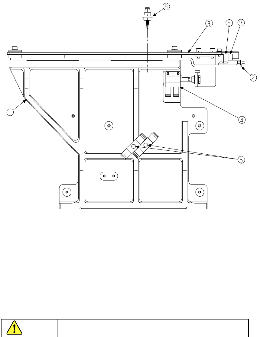
第 16 章 维护 16 -3-6 ATC ① ATC 底座 ⑤ 速度控制器 ② ATC 底座板 ⑥ ATC OPEN 传感器 ③ 滑动板 ⑦ ATC CLO SE 传感器 ④ 气缸 ⑧ 吸嘴 图 16 -3-9 ATC 在「滑动板 ③ 」上面若附着芯片和脏物时,可能影响吸嘴 的正常安装、拆卸,所以请使用浸有酒 精的棉纱进行清除。 危险 为了防止意外启动造成的事故,请在关闭电源后再进行操作。 16 - 26

第 16 章 维护
16-3-5-2 清洁后上油
因乙醇和 IPA(异丙醇)中含有水分,用超声波洗净后,如果直接放置的话,吸嘴内部有可能生
锈。所以请涂抹 New Deflex Oil NO.1(JUKI 物品编号 MDFRX1001L0)。
涂抹的方法,按下图在涂抹油部分(吸嘴滑动部分推入后,从吸嘴内部露出的部分。),用
半湿棉签涂抹一滴 New Deflex Oil NO.1。
把吸嘴的滑动部分上下活动 20 ~ 30 次,使油均匀地浸到吸嘴滑动部。
用干净的纱布擦去吸嘴套外侧附着的油和抹匀后多余的油。
◆另外,在吸嘴扩散器和橡皮部分(下图斜线部分)上,请注意不要粘上润滑脂。
请勿使用除 New Deflex Oil NO.1 之外的油。
如果使用润滑脂等粘度高的油脂类,会影响吸嘴滑动部分滑回。
图
16-3-8
清洁后抹油图
危险
为了防止意外启动造成的事故,请在关闭电源后再进行操作。
溶剂可能会着火。操作时请充分注意。
切勿使用丙酮。否则可能导致吸嘴扩散器变色。
工作中请佩带防有机气体的面罩。IPA
的成分中含有对人体有害的物质
。
棉签
吸嘴滑动部
扩散器
吸嘴内部
棉纱
棉签
橡皮
OIL
New Deflex Oil NO.1
涂抹油部分
注意
按压
按压
16-25

第 16 章 维护
16-3-6 ATC
①ATC 底座 ⑤速度控制器
②ATC 底座板 ⑥ATC OPEN 传感器
③滑动板 ⑦ATC CLOSE 传感器
④气缸 ⑧吸嘴
图
16-3-9
ATC
在「滑动板③」上面若附着芯片和脏物时,可能影响吸嘴的正常安装、拆卸,所以请使用浸有酒
精的棉纱进行清除。
危险
为了防止意外启动造成的事故,请在关闭电源后再进行操作。
16-26

第 16 章 维护
16-3-7 送料器台架
在送料器台架上安装带状送料器等送料器之前,请干擦,不要有垃圾和异物。
请确认在「安装板 B③」下面没进入异物。
有芯片元件等异物时,请用清扫机等进行清洁。
⑥
图
16-3-10
送料器台架
①送料器台架 ⑤驱动气缸
②安装板 ⑥位置标识
③安装板B ⑦台架标记
④锁定杆
危险
为了防止意外启动造成的事故,请在关闭电源后再进行操作。
②
⑦
⑤
③
④
①
16-27