Operator’s Guide-Chinese(SM320) - 第46页
Samsung Component Placer SM320 Operator’ s Guide DY ”键,使设备切换到“ IDLE ”模 式。 单击 “Start” 辅助菜单,按控制面板 的 “ST AR T” 键。 Ready 按钮 St a r t 按钮 Sto p 按钮 Reset 按钮 Select 按钮 Front Feeder CHG . 按钮 这时如果重新开始生产,设备将 回到原位置后重新开始作 业。 作业顺序: …

Stopping Machine
3-3
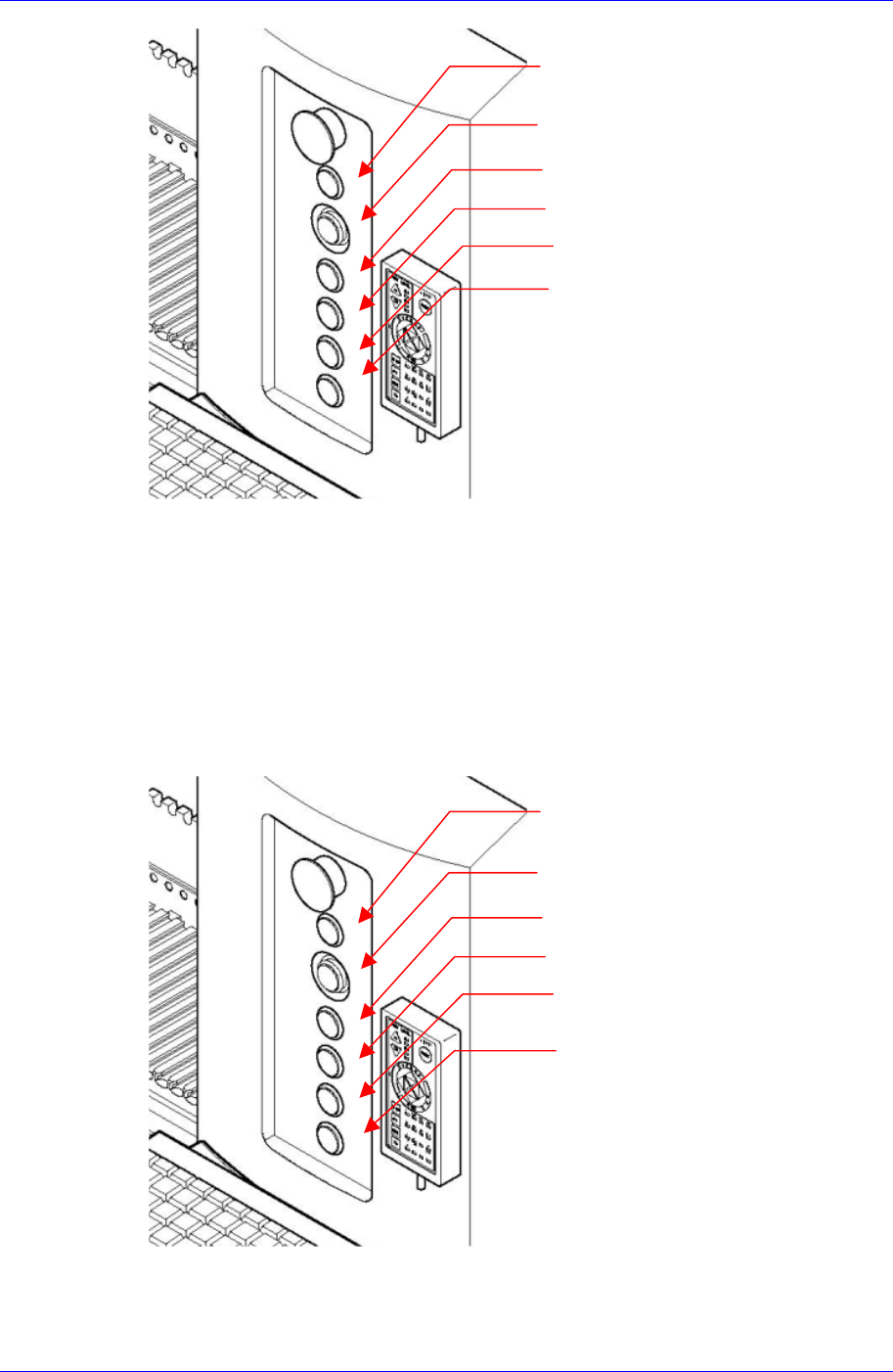
Ready 按钮
Start
按钮
Stop
按钮
Reset
按钮
Select 按钮
Front Feeder CHG. 按钮
作业顺序:STOP(或单击 Stop) RESET 除错 单击 Cont. START
3.1.2. Start 模式
因出错而中止生产后,如果无法重新生产时,需要重新开始作业。这时,应按照下
列步骤重新开始作业。
设备会因错误而切换到“FREEZE”模式,因此需要依次按下控制面板的
“STOP”键与“RESET”,使设备切换“IDEL”模式。
Ready
按钮
Start
按钮
Stop
按钮
Reset
按钮
Select 按钮
Front Feeder CHG. 按钮
检查错误内容后采取相应措施。这时,如果需要在设备 Head Assembly 的移动
范围内进行作业,则必须打开安全盖后按“STOP”键使蜂鸣器停止动作,再按
“RESET”后采取必要的措施。完成该措施后,清除作业中的 PCB 后按“REA

Samsung Component Placer SM320 Operator’s Guide
DY”键,使设备切换到“IDLE”模式。
单击“Start” 辅助菜单,按控制面板的“START” 键。
Ready
按钮
Start
按钮
Stop
按钮
Reset
按钮
Select 按钮
Front Feeder CHG. 按钮
这时如果重新开始生产,设备将回到原位置后重新开始作业。
作业顺序:RESET 除错 单击 Start START
3.2. 紧急停止 (Emergency Stop)
本设备的紧急停止方法有操作人员执行的人为的紧急停止和系统自己感应出特定的
异常情况而执行紧急停止的系统紧急停止。
3.2.1. 人为的紧急停止
人为的紧急停止是因紧急情况而停止本设备的动作时使用。此时按运转面板上的
3-4

Stopping Machine
3-5
<EMG>开关或 Teaching Box 的 <MOTOR FREE>按钮。在人为的紧急停止状态下,
本设备不能运转,除了通向电脑的电源之外,其它所有电源被切断。
按EMG(紧急停止)开关时解除EMG的步骤
1. 把已被按住的“EMG”开关顺时
针方向旋转,使其 Release。
2. 按“STOP”键以关闭蜂鸣器。
3. 找出紧急停止的原因后,清除该原
因。
4. 按“RESET”键使设备切换到“I
DLE”模式。
5. 按“READY”键,为设备的电动
机供应电源。
6. 需要时,执行回归原点(Return-To-
Origin)动作。
由于开启门而发生EMG(紧急停止)时解除
EMG的步骤
1. 按“STOP”键以关闭蜂鸣器。
2. 关门后按“RESET”键,使设备
切换到“IDLE”模式。
3. 按“READY”键,为设备的电动
机供应电源。
EMG
Ready
Start
Stop
Reset
警 告
在没有解除人为紧急停止的原因的情况下就重新启动设备可能
会造成设备损伤或人员伤亡。
在重新启动设备前一定要先解除人为紧急停止的原因。
3.2.2. 系统紧急停止
系统紧急停止是指由系统异常所引起的错误而无法继续作业,或为了作业人员的安
全而由 MMI 决定的紧急停止动作。
系统紧急停止指的是系统自己感应出特定的异常情况而执行的紧急停止。
发生系统紧急停止时,除了通向电脑的电源之外,其它所有电源都被切断。发生系
统紧急停止时,先确认程序显示器上显示的错误内容后再采取措施。
发生系统紧急停止时,请按照下列步骤处理;
1. 按“STOP”键以关闭蜂鸣器。
2. 显示器上确认错误有关的信息,了解异常停止原因。
3. 根据 Trouble Shooting Guide 采取除错措施。
4. 如果是使用者无法处理的错误,应向管理人员报告并联系本公司的 C/S 公司
(STS)。