M6ex_ServiceManual_j.pdf - 第15页
1 .据付 1- 7 【手順】 ① マウンタを、所定の場所に移動します。 ② ヘッドを X ビームに固定しているボルト、S 軸(スキャンカメラ)を固定している金具、 X-Y を固定しているインシュロックタイすべてを取り外し、手動でヘッドと S 軸が X 方 向に、X ビームが Y 方向にそれぞれ動くことを確認します。 ③ 単体置きの場合は、基板の搬送高さが基準設備のコンベア高さ(9 00±2 0m m)(注) になるように、アジャストフ…

1.据付
1-
6
据付
電源が入っているときに、電気部品の端子等にさわらないでください。感電、装置の
故障などの危険があります。
必ず本体のアースをとってください。感電、けがの恐れがあります。
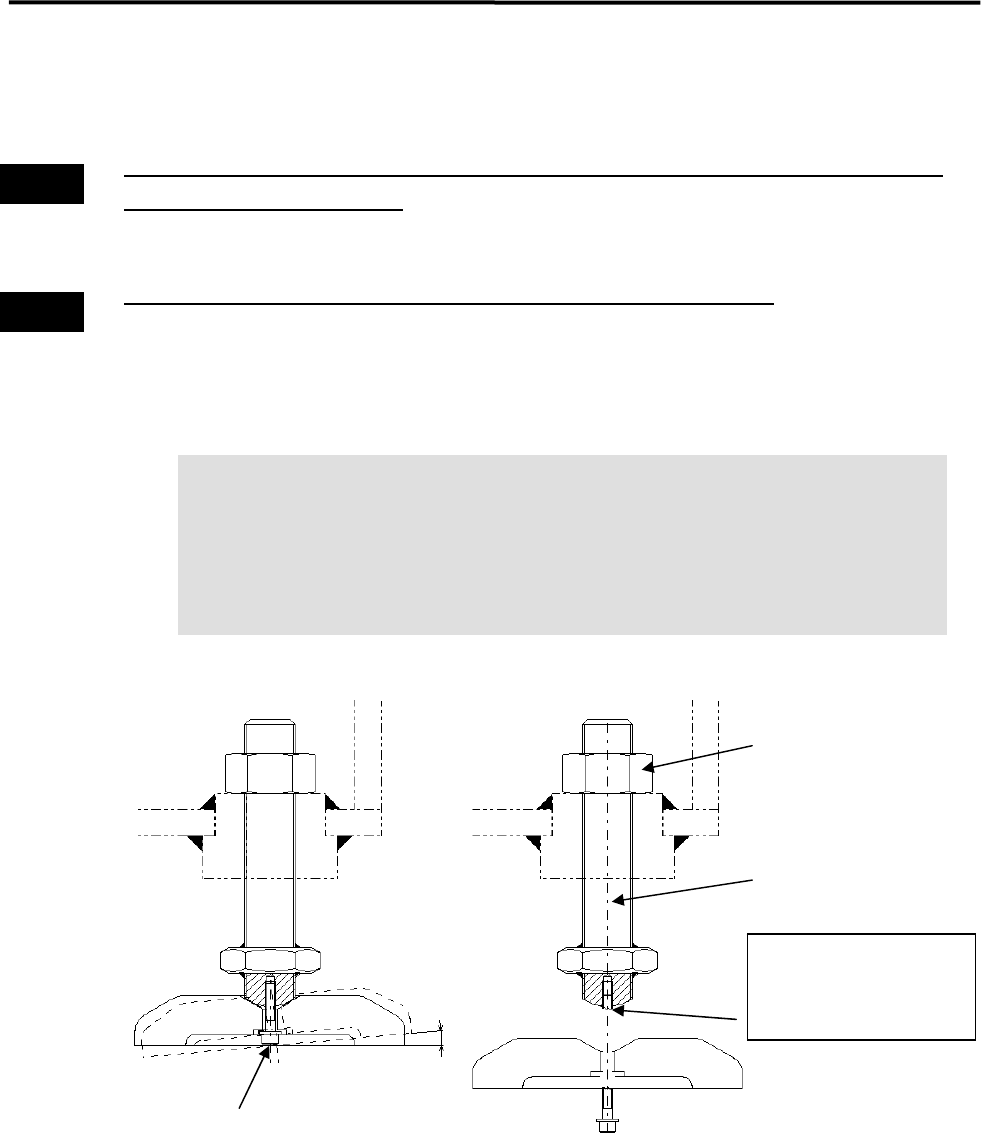
【据付時の注意】
① アジャストフットは、ベース部分が約 2°の範囲で動く状態が正常です。
ベース部分を固定しようとして、取り付けボルトを無理やり締め込まない
でください。ボルトが切断する可能性があります。
② マウンタの輸送時および据付時にアジャストフットに無理な力がかから
ないように注意してください。吊り下げたマウンタを床面に置くときには、
マウンタが水平の状態でゆっくり降ろしてください。
警告
警告
2°
無理な力が加わると、
この部分で折損する
可能性があります。
取り付けボルト
ロックナット
アジャストフット

1.据付
1-
7
【手順】
① マウンタを、所定の場所に移動します。
② ヘッドを X ビームに固定しているボルト、S 軸(スキャンカメラ)を固定している金具、
X-Y を固定しているインシュロックタイすべてを取り外し、手動でヘッドと S 軸が X 方
向に、X ビームが Y 方向にそれぞれ動くことを確認します。
③ 単体置きの場合は、基板の搬送高さが基準設備のコンベア高さ(900±20mm)(注)
になるように、アジャストフットを回転させて調整します。SMEMA 規格対応の場合は、
950±20mm にします。
④ 前工程とライン連結する場合は、前工程のコンベアレール高さに合わせます。
)
生産ライン出し
900±20mm
または、
950±20mm(SMEMA 規格)
注:CFB ワゴン仕様の場合、900 mm となります。
【NOTE】 アジャストフットを回転させる際は、呼び寸法 46mm の片口スパナ(M30 ナット用)を
使用します。
⑤ 水準器をベース部に置き、測定しながら前後・左右の水平が出るまで、微調整を行な
いながら、前工程コンベアレールとの位置を合わせます。
)
据付補足説明
+20
-10

1.据付
1-
8
⑥ ベース部での水平出しの後、前工程の搬送コンベアとマウンタの搬送コンベアの位
置の高さが確保されているか確認します。
⑦ (X ビームのネジレをなくすため)X ビーム上に水準器を置き、X ビームが前側の時と
奥側に移動した時との水準器の読みの差が 1 目盛り以下になるよう微調整します。
前側から見たとき 奥側から見たとき
⑧ アジャストフットのナットをロックします。
【NOTE】 アジャストフットのナットをロックする際は、呼び寸法 46mm のメガネレンチ、または片
口スパナを使用します。
⑨ 電源コード、アースを接続します。マウンタにノイズの影響を及ぼす恐れのある機器
とは、必ず別系統で接続してください。
⑩ マウンタ本体内部にあるフィルタレギュレータのエアーカプラに、供給側エアーカプ
ラ 65SN または、85SN(日東工器)相当品を下図の要領で接続します。配管後、フィ
ルタレギュレータの指示圧力が 0.50MPa を示していることを確認してください。