Single conveyor fixed transport side right_20211122_081221 - 第17页
Single conveyor fixed transport side right Page 17 / 29 22.11.2021

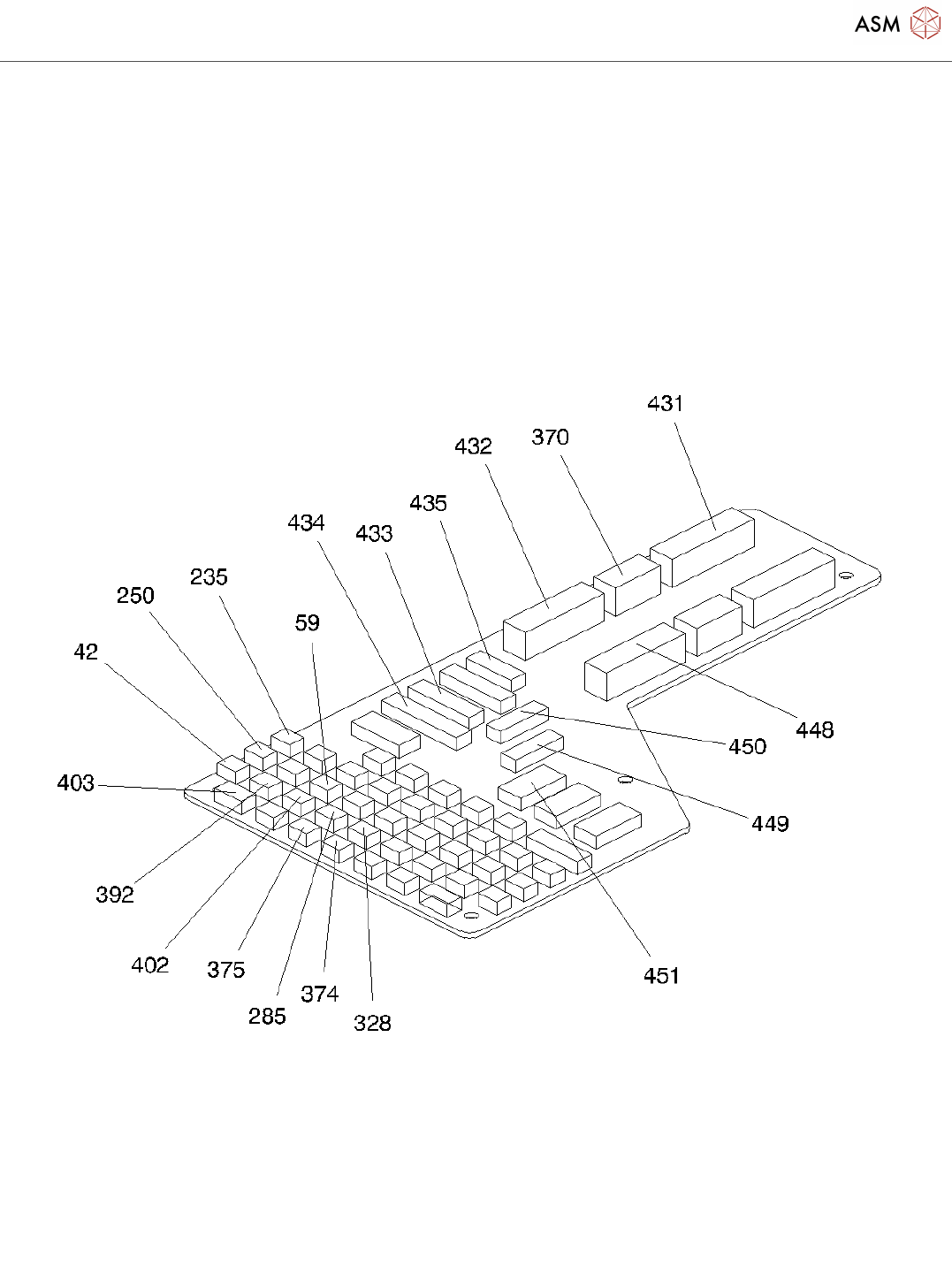
Single conveyor fixed transport side right
Page 16 / 29 22.11.2021

Single conveyor fixed transport side right
Page 17 / 29 22.11.2021

Single conveyor fixed transport side right
Page 18 / 29 22.11.2021