NB168-Parts List 配件手册 - 第102页
序号 料号 部品名称 数量 规格 备注 135 NB16807097AA SPRING 1 136 NB168D1517AA WASHER 1 137 NB168D0409AA COLLAR 1 138 NB16807098AA BRACKET 1 139 NB16807099AA BRACKET(CYLINDER) 1 140 NB16807100AA BRACKET 1 141 NB16807101AA BRACKET 1 142 …


序号 料号 部品名称 数量 规格 备注
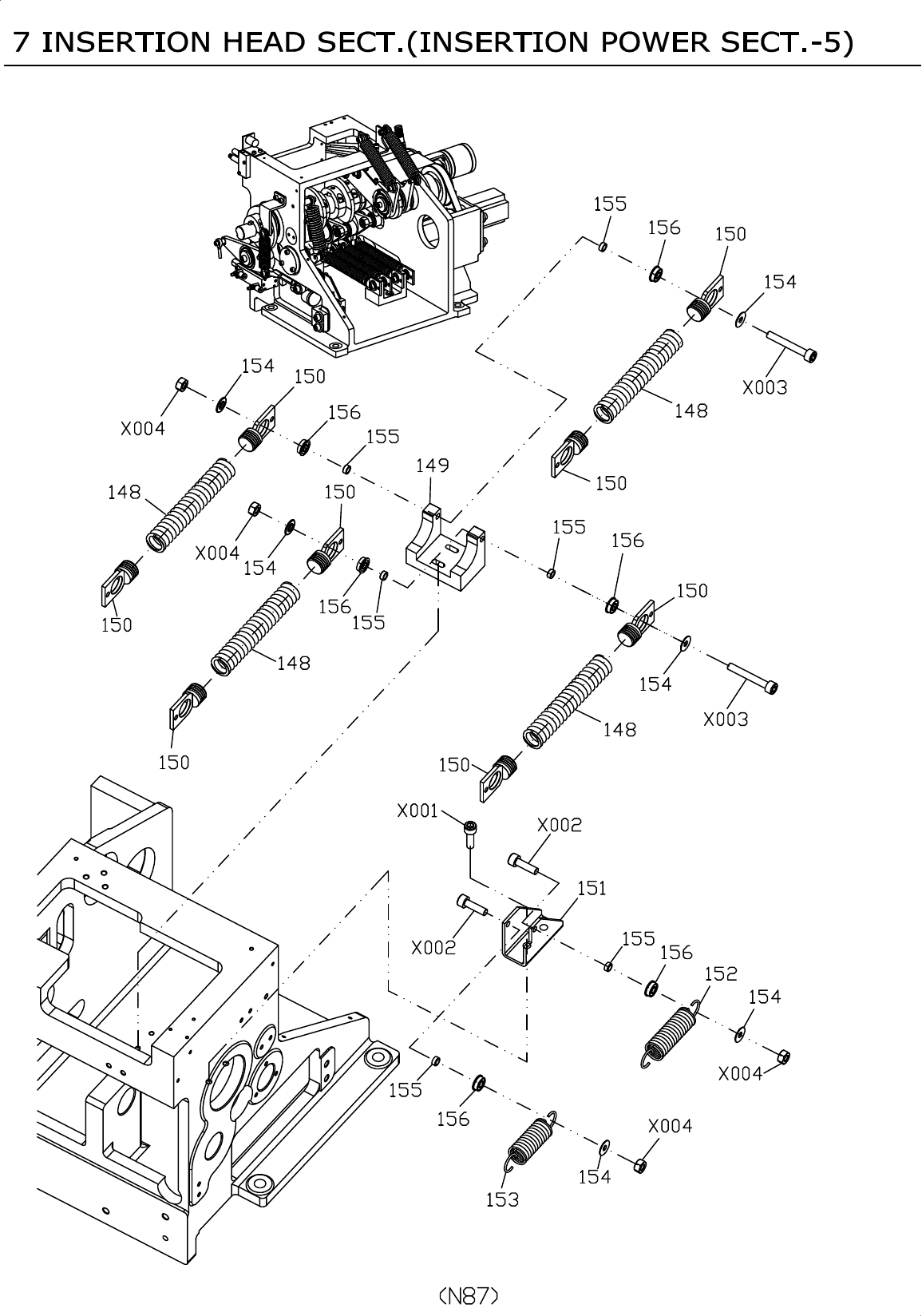
135 NB16807097AA SPRING 1
136 NB168D1517AA WASHER 1
137 NB168D0409AA COLLAR 1
138 NB16807098AA BRACKET 1
139 NB16807099AA BRACKET(CYLINDER) 1
140 NB16807100AA BRACKET 1
141 NB16807101AA BRACKET 1
142 NB168C2525ZAA CYLINDER 1 CDG1BN25-25Z
143 NB168C2040DAA CYLINDER 1 CDU20-40D
144 NB168F696ZZAA BEARING 1 F696ZZIMC3PS2S
145 NB168ASM506AA SPEED CONTROLLER 2 AS1201F M5-06
146 NB168AS0106SAA SPEED CONTROLLER 2 AS2201F-01-06S
147 NB168DC73AA SWITCH 1 D-C73
148 NB168BMA2025AA FIXED BELT 1 BMA2-025
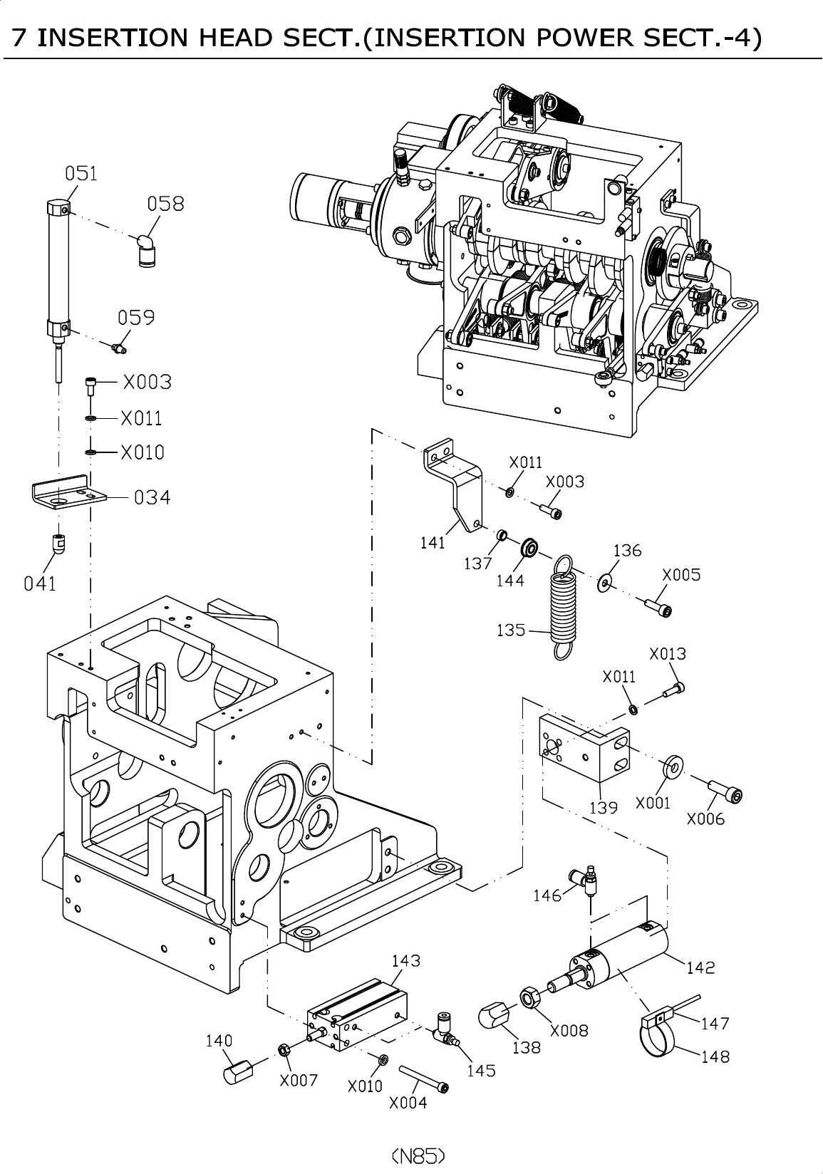
034 NB16807032AA CYLINDER BRACKET 1
041 NB168SR516AA BRACKET 1
051 NB168CDJ16AA CYLINDER 1 CDJ2B16-75Z-B
058 NB168KJL06M5AA SPEED CONTROLLER 1 KJL 06-M5
059 NB16807156AA AIR PURIFIER 1 M5
X001 NB168FG0821 FLAT WASHER 2 8-21-H3
X003 NB168SH0516 SOKET HEAD CAP SCREW 4 M5-L16
X004 NB168SH0550 SOKET HEAD CAP SCREW 2 M5-L50
7 INSERTION HEAD SECT.(INSERTION POWER SECT.-4)
X004 NB168SH0550 SOKET HEAD CAP SCREW 2 M5-L50
X005 NB168SH0620 SOKET HEAD CAP SCREW 1 M6-L20
X006 NB168SH0830 SOKET HEAD CAP SCREW 2 M8-L30
X007 NB168HEX06 HEXAGON NUT 1 M6
X008 NB168HEX08 HEXAGON NUT 1 M8
X010 NB168FG0510 FLAT WASHER 4 5-10-H2
X011 NB168SW05 SPRING WASHER 4 5-8-H1.3
X013 NB168SH0518 SOKET HEAD CAP SCREW 4 M5-L18
N86
