NB168-Parts List 配件手册 - 第128页
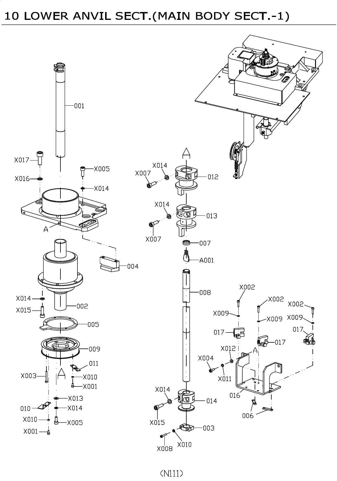
序号 料号 部品名称 数量 规格 备注 A001 NB16810602PAA PIN(BACK UP) 1 A001 NB16810603PAA PIN(BACK UP) 1 A001 NB16810604PAB PIN(BACK UP) 1 001 NB16810001AA SHAFT 1 002 NB16810002AA BALL SPLINE 1 LTR32UUZZCL+170LPN 003 NB16810003AA COLLAR…


序号 料号 部品名称 数量 规格 备注
A001 NB16810602PAA PIN(BACK UP) 1
A001 NB16810603PAA PIN(BACK UP) 1
A001 NB16810604PAB PIN(BACK UP) 1
001 NB16810001AA SHAFT 1
002 NB16810002AA BALL SPLINE 1 LTR32UUZZCL+170LPN
003 NB16810003AA COLLAR 1
004 NB16810004AA BLOCK(STOPPER) 1
005 NB16810005AA PLATE(STOPPER) 1
006 NB16810006AA NUT PLATE 2
007 NB16810007AA NUT 1
008 NB16810008AA ROD 1
009 NB16810009AA PULLEY 1
010 NB16810010AA DETECTION PLATE 1
011 NB16810011AA DETECTION PLATE 1
012 NB16810012AA PUSHER 1
013 NB16810013AA SHIFTER 1
014 NB16810014AA SHIFTER 1
016 NB16810016AA BRACKET(SENSOR) 1
017 NB168SX672AAA SENSOR 3 EE-SX672A
X001 NB168SH0308 SOKET HEAD CAP SCREW 4 M3-L8
X002 NB168SH0310 SOKET HEAD CAP SCREW 6 M3-L10
X003 NB168SH0325 SOKET HEAD CAP SCREW 6 M3-L25
10 LOWER ANVIL SECT.(MAIN BODY SECT.-1)
X003 NB168SH0325 SOKET HEAD CAP SCREW 6 M3-L25
X004 NB168SH0412 SOKET HEAD CAP SCREW 2 M4-L12
X005 NB168SH0616 SOKET HEAD CAP SCREW 6 M6-L16
X007 NB168SH0625 SOKET HEAD CAP SCREW 4 M6-L25
X008 NB168SH0318 SOKET HEAD CAP SCREW 2 M3-L18
X009 NB168FG0307 FLAT WASHER 6 3-7-H0.5
X010 NB168SW03 SPRING WASHER 6 3-4-H1.0
X011 NB168SW04 SPRING WASHER 2 4-7-H1.0
X012 NB168FG0409 FLAT WASHER 2 4-9-H1.0
X013 NB168FG0612 FLAT WASHER 4 6-12-H1.5
X014 NB168SW06 SPRING WASHER 12 6-9.5-H1.6
X015 NB168SH0620 SOKET HEAD CAP SCREW 12 M6-L20
X016 NB168SW08 SPRING WASHER 4 8-12.5-H2
X017 NB168SH0820 SOKET HEAD CAP SCREW 4 M8-L20
N112
